Чтение онлайн

на главную - закладки

Жанры

Шрифт:

Спицы прибора с внешней стороны заточены на острый конус. Концы этих спиц микрометрическим винтом настраивают по пла­тине или мосту на межцентровое расстояние испытываемой пары колес.

Проверяемые колеса вставляют в спицы и обкатывают их, вы­являя дефекты зацепления.

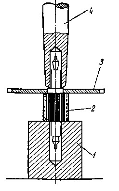
От зубчатой передачи требуется, чтобы вращение колес было плавным с минимальным трением. Внешние дефекты зубчатой пе­редачи — вмятины и забоины на зубьях, их погнутость и изношен­ность — обнаруживают лупой. Эксцентричность посадки колеса на ось (биение колеса) определяется миниметром [Миниметр — промышленный прибор, в практике ремонтных мастерских практически не применяется. Тем не менее, его можно рекомендовать для внед­рения на заводах по ремонту часов. (Прим. ред.).].

Колесо вращают на своей оси, закрепленной в центрах, а зубья скользят по наконечнику миниметра, вызывая продольное пере­мещение его, которое регистрируется на шкале, показывая вели­чину биения колеса триба.

При глубоком зацеплении между зубьями колес и трибов воз­никает сильное трение, что создает шум при быстром вращении зубчатой передачи. Чтобы исправить глубокое зацепление, нужно или заменить колесо меньшим, или его отфрезеровать на кружи­тельной машине (при этом рекомендуется заранее проверить уста­новку фрезы по старому колесу такого же шага). При отсутствии кружительной м.ашины опытный мастер может уменьшить диаметр колеса, опиливая зубья специальным вальцевальным напильником баретт (рис. 126).

Рис. 124. Проверка сцепления зубьев колеса с трибом:

1 — чурки, упирающиеся в зубья колес; 2 —колеса; 3 —нижняя платина; 4— мосты

Рис. 125. Прибор для проверки ската колес

Если колесо установлено на трибе с перекосом, нужно поста­вить триб на одно из отверстий наковальни (рис. 127), а специаль­ный пуансон — на выступ триба с задней стороны и легко ударить по пуансону молоточком.

Рис. 126. Бархатные напильники для отделки зубьев колес и анало­гичных работ

Рис. 127. Наковальня. 1 — наковальня; 2 —пуансон

Рис. 128. Закрепление ко­леса на трибе:

1 — наковальня; 2 —триб; 3 —колесо; 4 —пуансон

В том случае, когда колесо насажено на триб эксцентрично, его следует вновь переставить, т. е. выбить триб и вновь надеть ко­лесо. Закрепляют колесо на трибе спо­собом, указанным на рис. 128, с после­дующей проверкой плавности зацепле­ния с зубчатым колесом. При малом радиальном биении колеса также мож­но профрезеровать головки зубьев на кружительной машине, но очень осторожно, чтобы не срезать зубья и не сделать их тоньше; или, как было указано выше, биение колеса можно исправить бареттом.

Зубья колеса, имеющие заусенцы, царапины и другие мелкие недостатки, следует зачистить, слегка пройдя по зубьям щеткой из стеклянных волокон (карцовкой) (рис. 129).

Плоскостное биение колес проверяют тем же способом, как и баланс. Выравнивают колеса пинцетом.

Рис. 129. Карцовочная щетка из стеклянных волокон

Трибы.Царапины и риски на цапфах трибов удаляют так же, как и на цапфах оси баланса, но при этом применяют бархатный напильник и воронило с прямыми углами. Если цапфа триба по­крыта коррозией слабо, ее снимают на цапф-машине. Чтобы уст­ранить большой радиальный зазор в часах на камнях, следует по­ставить новый камень. В часах без камней большой радиальный зазор устраняется стягиванием отверстия. При коррозии на трибах смазывают маслом большой точильный камень и натирают на нем острый конец чурки; затем этой чуркой снимают коррозию с триба, после чего триб промывают в бензине.

Если триб разъеден коррозией сильно, то его необходимо заме­нить новым. Диаметр триба подбирают по калибровочной доске. При отсутствии калибра можно подобрать триб, измеряя его диа­метр штангенциркулем или другим измерительным инструментом (рис. 130).

Если требуется изготовить новую цапфу для триба, то для пра­вильного сверления отверстия под цапфы нужно подготовить ко­нец триба, выровняв его торец точильным камнем (эльштейном). Во время сверления смычком следует двигать медленно, отвер­стие сверлить в два раза глубже длины цапфы.

После высверливания деталь промывают в бензине, предвари­тельно очистив ее от стружки. Проволоку для цапфы запиливают на конус так, чтобы конусность была почти незаметна для глаза. Для толстых цапф следует проволоку заранее зикалить и отпу­стить до соломенного цвета. Затем проволоку вставляют плотно от руки в отверстие триба и запрессовывают ударом молотка, после чего цапфу протачивают, доводят бархатным напильником и во-ронилом отполировывают на цапф-машине. Диаметр цапфы дол­жен быть немного меньше диаметра отверстия камня, чтобы обес­печить зазор, величина которого зависит от диаметра цапфы.

При вставке цапфы под секундную стрелку цапфа должна иметь еле заметный конус.

Рис. 130. Доска-калибр для измерения трибов и измерение трибов кронциркулем:

1 — доска-калибр; 2 — измерение кронциркулем шестизубового триба; 3 —измерение кронциркулем семизубового триба

Винты. Сломанные винты заменяют новыми. Для удаления сло­манного винта из платины применяют несколько способов.

1. Если сломанный винт выступает сверху над платиной, следует попы­таться нарезать на нем шлиц и вывер­нуть его отверткой.

2. Если сломанный винт не под­дается вывертыванию отверткой или винт не выступает наружу, его следует смазать маслом и попытаться вывер­нуть острием грабштихеля или завин­тить винт так, чтобы его можно было вынуть с задней стороны платины.

3. Если сломанный винт остался внутри отверстия, его зажимают с двух сторон остриями винтов подковки и, поворачивая от себя, эти винты од­новременно отвинчивают оставшийся внутри отверстия сломанный винт (рис. 131).

Поделиться:
Популярные книги

Законы Рода. Том 4

Андрей Мельник
4. Граф Берестьев
Фантастика:
юмористическое фэнтези
аниме
5.00
рейтинг книги
Законы Рода. Том 4

Законник Российской Империи. Том 3

Ткачев Андрей Юрьевич
3. Словом и делом
Фантастика:
городское фэнтези
альтернативная история
аниме
дорама
5.00
рейтинг книги
Законник Российской Империи. Том 3

Как я строил магическую империю 7

Зубов Константин
7. Как я строил магическую империю
Фантастика:
попаданцы
постапокалипсис
аниме
фантастика: прочее
5.00
рейтинг книги
Как я строил магическую империю 7

Возмутитель спокойствия

Владимиров Денис
1. Глэрд
Фантастика:
фэнтези
боевая фантастика
попаданцы
5.00
рейтинг книги
Возмутитель спокойствия

Барон устанавливает правила

Ренгач Евгений
6. Закон сильного
Старинная литература:
прочая старинная литература
5.00
рейтинг книги
Барон устанавливает правила

Ермак. Регент

Валериев Игорь
10. Ермак
Фантастика:
попаданцы
альтернативная история
5.00
рейтинг книги
Ермак. Регент

Мужчина моей судьбы

Ардова Алиса
2. Мужчина не моей мечты
Любовные романы:
любовно-фантастические романы
8.03
рейтинг книги
Мужчина моей судьбы

Локки 10. Потомок бога

Решетов Евгений Валерьевич
10. Локки
Фантастика:
фэнтези
юмористическое фэнтези
героическая фантастика
боевая фантастика
5.00
рейтинг книги
Локки 10. Потомок бога

Курсант: назад в СССР 2

Дамиров Рафаэль
2. Курсант
Фантастика:
попаданцы
альтернативная история
6.33
рейтинг книги
Курсант: назад в СССР 2

Светлая тьма. Советник

Шмаков Алексей Семенович
6. Светлая Тьма
Фантастика:
юмористическое фэнтези
городское фэнтези
аниме
сказочная фантастика
фэнтези
5.00
рейтинг книги
Светлая тьма. Советник

Барон обходит правила

Ренгач Евгений
14. Закон сильного
Фантастика:
аниме
фэнтези
попаданцы
5.00
рейтинг книги
Барон обходит правила

Виктор Глухов агент Ада. Компиляция. Книги 1-15

Сухинин Владимир Александрович
Виктор Глухов агент Ада
Фантастика:
фэнтези
героическая фантастика
боевая фантастика
попаданцы
5.00
рейтинг книги
Виктор Глухов агент Ада. Компиляция. Книги 1-15

Черный дембель. Часть 5

Федин Андрей Анатольевич
5. Черный дембель
Фантастика:
попаданцы
альтернативная история
5.00
рейтинг книги
Черный дембель. Часть 5

Кодекс Охотника. Книга X

Винокуров Юрий
10. Кодекс Охотника
Фантастика:
фэнтези
попаданцы
аниме
6.25
рейтинг книги
Кодекс Охотника. Книга X