Чтение онлайн

на главную - закладки

Жанры

Шрифт:

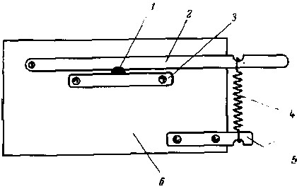
Эллипс.Качающийся или криво посаженный эллипс необходи­мо выровнять и закрепить шеллаком. Для этой операции необхо­димо нагреть щипцы, сделанные из проволоки красной меди. При большой опытности эту операцию можно проводить, не сни­мая спирали и моста (рис. 108).

Между рожками вилки и эллипсом должен быть небольшой зазор, но такой, чтобы эллипс проходил без всякого тренич. Если же зазор большой, то и диаметр эллипса должен быть соответ­ственно больше. Кроме того, эллипс не должен сидеть глубоко в пазу вилки.

Если у мастера нет нового эллипса, его можно изготовить: при стальной анкерной вилке — из нагартованной латуни, а при латунной — из стали-серебрянки. Для изготовления эллипса из стали-серебрянки следует отпустить серебрянку до желтого или светло-синего цвета.

Отверстия в пластинке должны находиться ближе к краям так, чтобы предохранительный ролик любого размера свободно прохо­дил по наружной стороне пластинки. Размеры этих отверстие должны соответствовать применяемым в практике эллипсам. При этом не эллипс вставляют в отверстие ролика, а, наоборот, ролик надевают на эллипс и затем эллипс закрепляют шеллаком.

Шлифуя эллипс на камне, придают ему нужную форму.

Далее эллипс полируют крокусом и подгоняют как по отвер­стию в ролике, так и по рожкам вилки. Затем ножовкой надрезают полученный фасонный пруток с двух сторон так, чтобы после изготовления эллипса его можно было бы легко отломать. После этого закаляют эллипс в масле (чтобы не появилась окалина до закалки эллипс смазывают мыльной пеной), потом снова поли­руют крокусом и, придерживая пинцетом рабочую часть эллипса, отламывают лишний металл и зачищают оставшиеся на эллипсе заусенцы бархатным напильником. Готовый эллипс укрепляют на ролике и проклеивают шеллаком. Эллипс должен плотно входить в отверстие ролика. Чтобы было удобнее вставлять эллипс, мастер может сделать соответствующий инструмент. Для этого нужно ко­ническим пуансоном в тонкой металлической пластинке пробить ряд эллипсообразных отверстий, предварительно засверлив их (рис. 109).

Рис. 109. Приспособление для вставки эллипса в двойной ролик:

1 — пуансон; 2 — пластинка; 3 —деревянная подставка; 4— эллипс; 5 — двойной ролик

Применяется и другое приспособление для вставки эллипса без баланса (рис. 110). Для этого берут металлическую планку длиной 50 мми шириной 30 мм,к которой приклепывают три металлические пластинки (их лучше изготовлять из пружины карманных часов). В первой пластинке пропиливают паз, который будет удерживать эллипс в приспособлении. Верхнюю пластинку следует приклепать одной заклепкой, под головку которой подло­жить шайбу. Пластинка должна двигаться по планке без зазора. Вторую пластинку приклепывают наглухо рядом с верхней, в пазу которой и зажимается эллипс.

Третью пластинку приклепывают внизу для крепления пру­жины. Пружину навивают из тонкой струны; она не должна сильно зажимать эллипс, так как последний может выскользнуть из приспособления.

Рис. 110. Приспособление для вставки эллипса:

1 — эллипс; 2 — первая пластинка; 3— вторая пластинка; 4 —спираль­ная пружина; 5 — третья пластинка; 6— металлическая планка

На указанном приспособлении ролик также надевают на .эллипс.

4. СТРЕЛКИ И ЦИФЕРБЛАТ

Стрелки. Стрелки снимают специальными рычажками, пинце­том (рис. 111) или двумя отвертками. Стрелки нужно снимать осторожно, чтобы не нанести царапин на циферблате или не повре­дить его эмаль [Эмалированные циферблаты в настоящее время встречаются весьма редко, в часах устаревших конструкций. (Прим. ред.).]. Для этого на циферблат под стрелки следует подложить замшу или кусок бумаги, вырезанные в форме сектора. Если минутная стрелка держится на оси слабо, то ее отверстие необходимо стянуть пуансоном. Затем это отверстие нужно под­править разверткой; для этого существует специальный инстру­мент — зажимные тисочки для стрелок (рис. 112). Если таких тисочков нет, можно использовать пинцет, сделав на нем в не­скольких местах распиловку разных размеров (рис. 113). Слабую посадку часовой стрелки следует исправить следующими спосо­бами: стянуть отверстие стрелки специальным пуансоном или про­резать ножовкой трубку стрелки, после чего надеть ее на дере­вянную оправку и сжать тисочками до нужного размера.

Если секундная стрелка сидит на трубке свободно (-или криво), лучше заменить ее новой. Если трубка стрелки сидит на цапфе секундного колеса слабо, нужно сжать трубку патроном ручных тисочков или патроном токарного станка.

Рис. 111. Инструменты для снятия стрелок:

1 — рычажки; 2— пинцет

В том случае, если трубка се­кундной стрелки не надевает­ся на цапфу секундного колеса,. следует увеличить отверстие трубки разверткой. Если труб­ка секундной стрелки высокая, необходимо ее опилить снизу до требуемого размера, а затем раз­верткой подправить отверстие и снять заусенцы напильником.

Рис. 112. Зажимные тисочки для стрелок: 1 — для разных стрелок; 2 —для часовых стрелок

Рис. 113. Пинцет, заменяющий зажимные тисочки: 1 — стрелка; 2 —пинцет

Длина трубки должна быть такой, чтобы она не касалась пла­тины, так как это может служить причиной замедленного хода или остановки часов.

Длинные стрелки укорачивают, обрезая у них острые концы.

Стрелки, покрывшиеся коррозией, следует сменить, а если нет ?яовых, очистить ржавчину грабштихелем, мелкозернистой наж­дачной бумагой и отполировать, #

После полировки стрелкам придают необходимый цвет, для чего на огне спиртовки нагревают тонкую латунную или из красной меди пластинку, а затем кладут на нее стрелку.

Как только стрелка приобретает темно-соломенный цвет, кото­рый при остывании стрелки .превратится в синий, ее сбрасывают с пластинки.

Циферблат. Снимают циферблат с большими предосторожно­стями, так как на циферблатах с гальваническим покрытием от грязных пальцев остаются пятна и царапины, а на эмалированном циферблате от легкого нажима получаются трещины или скалы--вается эмаль.

Тонкий циферблат при неосторожном обращении можно легко вогнуть.

Если циферблат смещен в сторону, смещение устраняют, осто-:рожно выгибая ножки.

Если отверстие в циферблате теснит трубку часовой стрелки, но сам циферблат не смещен, нужно опилить ту сторону отвер-.стия, которая упирается в стрелку.

Поделиться:
Популярные книги

Газлайтер. Том 18

Володин Григорий Григорьевич
18. История Телепата
Фантастика:
попаданцы
аниме
фэнтези
5.00
рейтинг книги
Газлайтер. Том 18

Барон запрещает правила

Ренгач Евгений
9. Закон сильного
Фантастика:
аниме
фэнтези
попаданцы
5.00
рейтинг книги
Барон запрещает правила

Кодекс Охотника. Книга XIX

Винокуров Юрий
19. Кодекс Охотника
Фантастика:
фэнтези
5.00
рейтинг книги
Кодекс Охотника. Книга XIX

Мастер 11

Чащин Валерий
11. Мастер
Фантастика:
боевая фантастика
попаданцы
технофэнтези
аниме
фэнтези
5.00
рейтинг книги
Мастер 11

Инквизитор Тьмы

Шмаков Алексей Семенович
1. Инквизитор Тьмы
Фантастика:
попаданцы
альтернативная история
аниме
5.00
рейтинг книги
Инквизитор Тьмы

Старый, но крепкий 3

Крынов Макс
3. Культивация без насилия
Фантастика:
рпг
уся
фэнтези
5.00
рейтинг книги
Старый, но крепкий 3

Наемный корпус

Вайс Александр
5. Фронтир
Фантастика:
боевая фантастика
космическая фантастика
космоопера
5.00
рейтинг книги
Наемный корпус

Идеальный мир для Лекаря 4

Сапфир Олег
4. Лекарь
Фантастика:
фэнтези
юмористическая фантастика
аниме
5.00
рейтинг книги
Идеальный мир для Лекаря 4

Последний Паладин. Том 7

Саваровский Роман
7. Путь Паладина
Фантастика:
фэнтези
попаданцы
аниме
5.00
рейтинг книги
Последний Паладин. Том 7

Сын Петра. Том 1. Бесенок

Ланцов Михаил Алексеевич
1. Сын Петра
Фантастика:
попаданцы
альтернативная история
6.80
рейтинг книги
Сын Петра. Том 1. Бесенок

Черный Маг Императора 15

Герда Александр
15. Черный маг императора
Фантастика:
юмористическое фэнтези
попаданцы
аниме
сказочная фантастика
фэнтези
фантастика: прочее
5.00
рейтинг книги
Черный Маг Императора 15

Газлайтер. Том 29

Володин Григорий Григорьевич
29. История Телепата
Фантастика:
боевая фантастика
попаданцы
аниме
5.00
рейтинг книги
Газлайтер. Том 29

Меченный смертью. Том 2

Юрич Валерий
2. Меченный смертью
Фантастика:
аниме
фэнтези
попаданцы
5.00
рейтинг книги
Меченный смертью. Том 2

Воронцов. Перезагрузка. Книга 5

Тарасов Ник
5. Воронцов. Перезагрузка
Фантастика:
попаданцы
альтернативная история
фэнтези
фантастика: прочее
6.00
рейтинг книги
Воронцов. Перезагрузка. Книга 5