Чтение онлайн

на главную - закладки

Жанры

Ковка

Навроцкий Александр Георгиевич

Шрифт:

Последовательность ковки сварного топора показана на рис. 1.2.7 б, п. 10–14. Берем полосу толщиной 10–12 мм и шириной 40–50 мм и, оставив в средине заготовки участок 40 мм (п. 10), протягиваем края заготовки до толщины 5–6 мм, затем разгоняем щечки (п.11) и сгибаем топор, как показано на рисунке (п. 12). После этого отковываем клин из инструментальной стали У7-У8 и ввариваем его в основу топора (п. 14).

Рекомендации по кузнечной сварке см. в Приложении В. Если кузнечная сварка прошла успешно, то можно окончательно проковывать всю головку топора.

Тесак. Технология его изготовления значительно проще, чем топора. Берем полосовую сталь толщиной 5–6 мм, надрубаем полоску (рис. 1.2.8 а), отгибаем и оттягиваем ее «на острие» (рис. 1.2.8 б) под черенок для ручки. Рабочую часть резака оттягиваем к лезвию, после чего пробиваем отверстие, оформляем обушную часть (рис. 1.2.8 в) и насаживаем ручку.

Рис. 1.2.8. Изготовление тесака.

Железные косы известны в России с IX–XI вв., и ковались они в сельских кузницах из кричного железа. Заводское производство кос началось на Урале только в 1809 г. на Артинском заводе, а уже к 1880-м гг. косы и серпы делали в Вятской, Пермской, Владимирской, Тверской, Ярославской и других губерниях.

Рис. 1.2.9. Технология изготовления косы.

На рис. 1.2.9 представлены основные технологические стадии изготовления косы. Вначале из полосы оттягивают конец (процесс ковки идет с верхнего ряда слева направо), затем отгибают ушко и выдавливают зубец. После этого начинают оттягивать лезвие путем расковки полосы. Процесс расковки ведут в четыре этапа: нагрев и расковка носовой части; второй нагрев, поворот косы и ковка с другой стороны; третий нагрев и общая расковка и, наконец, окончательная расковка и загибка обуха. После этого начинают отделку острия в два нагрева.

Дальнейшую отделку ведут в холодном состоянии. Косу правят и выравнивают молотом. После обрезки лезвия «начисто» косу калят в масле и отжигают. Затем косу отбивают (наклепывают) молотом, полируют и вторично отбивают.

Кованые железные гвозди на Руси применялись уже в X–XI вв., и в это время появилась специальность «гвоздочника», т. е. кузнеца, который кует в основном гвозди. Широкое производство гвоздей, скоб и других изделий для строительства и судостроения начинается в период Петровских реформ в начале XVIII в. В это время куется большой ассортимент гвоздей: корабельные (длиной 250–500 мм), полукорабельные (150–200 мм), брусковые (200–250 мм), тесовые (30–180 мм), кровельные (до 75 мм), обойные (10–12 мм), шпалерные (6–7 мм), а также подковные, штукатурные и др.

Пробовали делать гвозди путем нарезки из листового металла, однако они получались недостаточно качественными. Наибольший скачок в гвоздильном деле произошел в то время, когда для изготовления гвоздей начали использовать проволоку. Первые автоматы для изготовления гвоздей из проволоки появились в Европе в начале XIX в.

В России кузницы, в которых ковали гвозди, называли гвоздарными, а иногда и «мирщинными», так как для производства гвоздей использовали различные листовые обрезки и железный лом, которые собирали «с миру». Собранный металл сваривали кузнечной сваркой, а затем проковывали в полосу и из нее уже делали гвозди.

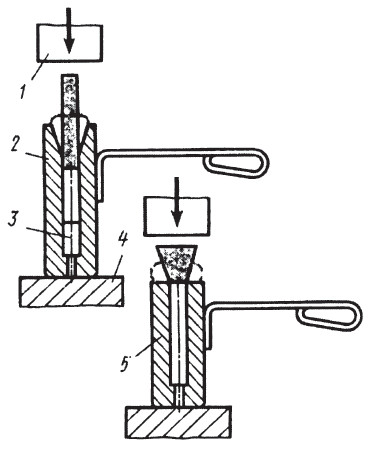
Технология изготовления гвоздей и болтов во всех кузницах примерно одинакова. Гвозди получают следующим способом: мерные заготовки из проволоки укладывают в щелевую печь для нагрева. После нагрева заготовку (рис. 1.2.10 б, п. 4) вставляют в гвоздильню (рис. 1.2.10 б, п. 2), установленную на наковальне (рис. 1.2.10 б, п. 1) так, чтобы ее верхний высаживаемый конец выходил на требуемую длину а нижний упирался в подставку (рис. 1.2.10 б, п. 5). Ударом ручника (рис. 1.2.10 б, п. 3) головку осаживают и придают ей заданную граненую форму при помощи шляпного молотка (рис. 1.2.10 б, п. 6). Необходимо иметь в виду, что за один удар можно высадить и не согнуть заготовку длиной l, в 2–2,5 раза большей, чем ее диаметр d.

Рис. 1.2.10. Изготовление гвоздей и головок болтов.

Если необходимо изготовить гвозди с большой шляпкой, то вначале для получения небольшого конуса используют специальный подкладной инструмент (рис. 1.2.10 а, п. 7) с конусным углублением. А при втором ударе, используя шляпный молоток (рис. 1.2.10 а, п.6), получаем граненую головку. После этого оттягиваем стержень гвоздя (рис. 1.2.10 в).

Головку болта высаживают аналогично головке гвоздя, но для получения граней ее деформируют в специальной гвоздильне (рис. 1.2.10 г, п. 8) с шестигранным углублением.

Гвоздь с большой шляпкой можно ковать, не используя высадку, а путем оттяжки стержня из заготовки с большим сечением, с последующим отрубанием гвоздя от основной заготовки и оформлением головки.

Кузнец из Соликамска А. Малышев предложил еще один способ набора металла для формирования увеличенной головки гвоздя или болта. Для этого необходимо изготовить две специальные оправки (рис. 1.2.11, п. 2, 5) с центральным отверстием, диаметр которого совпадал бы с диаметром заготовки. Первая оправка (рис. 1.2.11, п. 2) сверху имеет внутренний конус, а вторая (рис. 1.2.11, п. 5) – без конуса.

Рис. 1.2.11. Высадка больших головок.

Принцип работы следующий: заготовку с нагретым концом вставляют в отверстие оправки, предварительно вставив в нее опорный цилиндр заданной длины (рис. 1.2.11, п. 3), а затем оправку с нагретой заготовкой устанавливают на наковальню или нижний боек молота (рис. 1.2.11, п. 4) и сверху наносят серию ударов бойком молота (рис. 1.2.11, п. 1). Нагретый металл деформируется в коническую полость. Высаженную заготовку переносят во вторую оправку и ударом бойка формируют цилиндрическую увеличенную головку.

Поделиться:
Популярные книги

Переиграть войну! Пенталогия

Рыбаков Артем Олегович
Переиграть войну!
Фантастика:
героическая фантастика
альтернативная история
8.25
рейтинг книги
Переиграть войну! Пенталогия

Чужак из ниоткуда 3

Евтушенко Алексей Анатольевич
3. Чужак из ниоткуда
Фантастика:
космическая фантастика
альтернативная история
5.00
рейтинг книги
Чужак из ниоткуда 3

Имя нам Легион. Том 11

Дорничев Дмитрий
11. Меж двух миров
Фантастика:
боевая фантастика
рпг
аниме
5.00
рейтинг книги
Имя нам Легион. Том 11

Последний Паладин. Том 10

Саваровский Роман
10. Путь Паладина
Фантастика:
попаданцы
аниме
фэнтези
5.00
рейтинг книги
Последний Паладин. Том 10

Беглец

Бубела Олег Николаевич
1. Совсем не герой
Фантастика:
фэнтези
попаданцы
8.94
рейтинг книги
Беглец

Я - злодейка в дораме. Сезон второй

Вострова Екатерина
2. Выжить в дораме
Фантастика:
уся
фэнтези
сянься
попаданцы
5.00
рейтинг книги
Я - злодейка в дораме. Сезон второй

Кодекс Крови. Книга ХIV

Борзых М.
14. РОС: Кодекс Крови
Фантастика:
попаданцы
аниме
фэнтези
5.00
рейтинг книги
Кодекс Крови. Книга ХIV

Двойник короля 14

Скабер Артемий
14. Двойник Короля
Фантастика:
аниме
фэнтези
попаданцы
5.00
рейтинг книги
Двойник короля 14

Двойник Короля 2

Скабер Артемий
2. Двойник Короля
Фантастика:
попаданцы
аниме
фэнтези
фантастика: прочее
5.00
рейтинг книги
Двойник Короля 2

Кодекс Охотника. Книга XIV

Винокуров Юрий
14. Кодекс Охотника
Фантастика:
боевая фантастика
попаданцы
аниме
5.00
рейтинг книги
Кодекс Охотника. Книга XIV

Гранит науки. Том 2

Зот Бакалавр
2. Героями не становятся, ими умирают
Фантастика:
фэнтези
5.00
рейтинг книги
Гранит науки. Том 2

Гримуар тёмного лорда I

Грехов Тимофей
Фантастика:
фэнтези
попаданцы
аниме
5.00
рейтинг книги
Гримуар тёмного лорда I

Черный дембель. Часть 2

Федин Андрей Анатольевич
2. Черный дембель
Фантастика:
попаданцы
альтернативная история
4.25
рейтинг книги
Черный дембель. Часть 2

Кодекс Охотника. Книга IX

Винокуров Юрий
9. Кодекс Охотника
Фантастика:
боевая фантастика
городское фэнтези
попаданцы
5.00
рейтинг книги
Кодекс Охотника. Книга IX