Чтение онлайн

на главную - закладки

Жанры

Ковка

Навроцкий Александр Георгиевич

Шрифт:

На рис. 1.2.21 показаны некоторые разделительные операции: а – разрубка, б – вырубка, в – просечка и обрезка. Разберем более подробно все разделительные операции.

Рис. 1.2.21. Технология разрубки (а), вырубки (б), обрезки и просечки (в).

Отрезка (разрезка, разрубка) выполняется при помощи ручных ножниц для металла, гильотинных стуловых ножниц (для материала толщиной свыше 1,5 мм), кузнечных зубил, ножовок и других инструментов.

Вырубка (обрезка) – операция отделения какой-либо фигуры от листовой заготовки. Для осуществления этой операции на очищенную поверхность металлического листа наносят рисунок (можно через копировальную бумагу) или готовят шаблон и приклеивают его на лист. Если рисунок симметричный, то вычерчивают на плотной бумаге одну его часть, накладывают на предварительно размеченную поверхность листа и обводят чертилкой (остро заточенный стальной стержень). После этого перемещают фрагмент на определенный угол, опять обводят – и так до тех пор, пока не будет нарисован весь рисунок.

Когда рисунок полностью нанесен на металлический лист, то зубильцами начинают его высекать. Если рисунок сложный, можно использовать выпиловку лобзиком. Для облегчения процесса в узловых местах можно предварительно просверлить отверстия диаметром 3–5 мм и процесс обрезки проводить частями – от наиболее простых участков к сложным. В тех случаях, когда невозможно вырезать весь контур рисунка ножницами или лобзиком, можно применить различные по размерам и форме режущей кромки зубильца, а затем доработать контур надфилями.

С помощью вырубки, гибки, ковки и насечки искусный кузнец-художник из поселка Вырица Гатчинского района, Ленинградской области Владимир Марков изготовил из листа толщиной 3 мм оригинальную собачку (фото 1.2.3).

Просечка – образование внутренних отверстий различных форм в заготовке – обычно осуществляется зубильцами с прямым или радиусным лезвием. Большие формы могут вырезаться специальными криволинейными ножницами.

Просечка и вырубка – основные операции при изготовлении просечных железных украшений из кровельного железа или тонкой листовой меди и даже из толстой полосы.

Просечный металл начиная с XVI в. широко применяется при украшении бытовых предметов (сундучков-подголовников, замков, осветительных приборов и т. д.), а также в сельской и городской архитектуре.

Подзоры из просечного металла украшают свесы крыш и фронтонов изб, дворцов и соборов; ажурные коньковые решетки завершают гребни крыш, дымники в виде башенок и ваз, прикрывают дымовые трубы (рис. 1.2.22). Кроме этого, техника просечки широко использовалась при изготовлении оковок сундуков, личинок и секирных замков (рис. 1.2.23).

Рис. 1.2.22. Просечные элементы и виды дымников.

Рис. 1.2.23. Изделия с элементами просечки.

Рисунок просечного металла был аналогичен рисунку пропильных орнаментов на деревянных наличниках и свесах и содержал в основном растительные мотивы и повторяющиеся геометрические элементы в виде кругов, треугольников, червонок, различных завитков.

Коньковые решетки обычно завершались довольно пышной композицией из характерных для русских орнаментов коньков, петухов или драконов. Декоративность избы или здания подчеркивалась красиво оформленными водосточными трубами. Навершия труб оформлялись в виде ваз, корзин с цветами или пышной короны; сами трубы имели круглую или граненую форму сечения, а слив выполнялся в виде раскрытой пасти дракона.

Навершиями из просечного металла украшались дымовые трубы, столбы ворот и калиток.

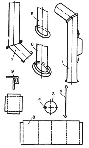
Технология изготовления различных элементов из просечного металла несложная, но требует кропотливого труда и навыков работы с жестью. Первоначально следует подобрать или придумать рисунок и форму готового изделия. При этом очень важно учитывать расстояние, с которого будет рассматриваться изделие. Если необходимо украсить просечным металлом дом, отдельную беседку, ворота, то надо продумать стиль рисунка всей композиции. После этого изготовляют шаблоны из плотной бумаги или картона и чертилкой наносят рисунок на металлический лист, предварительно покрытый тонким слоем мелового раствора или белилами. Затем ножницами вырезают наружные фрагменты, а с помощью различных зубильцев – внутренние. Плоские изделия из просечного металла уже готовы к установлению на места, а объемные – дымники, навершия и др. – предварительно собирают в единое целое, что требует высокой техники жестяных работ, а затем устанавливают на места. Отдельные элементы соединяют между собой специальным замком – фальцем, одиночным или двойным. При соединении цилиндрических и конических элементов используют кольцевые (рис. 1.2.24, п. 9) фальцы (стоячие или лежачие) и продольные (рис. 1.2.24, п. 4). При изготовлении сливных (рис. 1.2.24, п. 5–7) и самоварных (рис. 1.2.24, п. 1) труб используют цилиндрические звенья, а также коленные изгибы (рис. 1.2.24, п. 7) под прямым или тупыми углами. При изготовлении коробчатых изделий необходимо делать раскрой, как боковой части (рис. 1.2.24, п. 8), так и днища.

Рис. 1.2.24. Технология изготовления водосточных и самоварных труб.

При жестяных работах используют специальные молотки: киянки (рис. 1.2.25, п. 4), деревянные молотки (рис. 1.2.25, п. 3), ножницы для металла (рис. 1.2.25, п. 1, 2, 9.) и толстый металлический стержень квадратного сечения (рис. 1.2.25, п. 7), укрепленный на верстаке в горизонтальном положении (рис. 1.2.25, п. 8), а также различные зубила (рис. 1.2.25, п. 5, 6). Технология изготовления стоячих и лежачих фальцев показана на рис. 1.2.25, п. 10.

Рис. 1.2.25. Инструмент для кровельных работ.

При изготовлении дымников необходимо помнить, что, кроме эстетических, декоративных функций, они должны выполнять и основные свои функции: предохранять кирпичную трубу от разрушения под воздействием дождей и ветра, не допускать попадания влаги внутрь трубы и создавать хорошую тягу.

Гибку металла на заданный угол проводят молотком на ребре наковальни (рис. 1.2.26 а), в тисках или на различных оправках (рис. 1.2.26 б), а радиусную или спиральную гибку – при помощи молотка на коническом роге наковальни (рис. 1.2.26 в), на вилке (рис. 1.2.26 д) или на специальных шаблонах (рис. 1.2.26 г, е – и).

Поделиться:
Популярные книги

Древесный маг Орловского княжества

Павлов Игорь Васильевич
1. Орловское княжество
Фантастика:
аниме
фэнтези
фантастика: прочее
попаданцы
5.00
рейтинг книги
Древесный маг Орловского княжества

Идеальный мир для Лекаря 27

Сапфир Олег
27. Лекарь
Фантастика:
аниме
фэнтези
5.00
рейтинг книги
Идеальный мир для Лекаря 27

Император Пограничья 4

Астахов Евгений Евгеньевич
4. Император Пограничья
Фантастика:
аниме
фэнтези
фантастика: прочее
попаданцы
5.00
рейтинг книги
Император Пограничья 4

Офицер империи

Земляной Андрей Борисович
2. Страж [Земляной]
Фантастика:
боевая фантастика
попаданцы
альтернативная история
6.50
рейтинг книги
Офицер империи

Я уже барон

Дрейк Сириус
2. Дорогой барон!
Фантастика:
боевая фантастика
попаданцы
аниме
5.00
рейтинг книги
Я уже барон

Камень Книга двенадцатая

Минин Станислав
12. Камень
Фантастика:
боевая фантастика
городское фэнтези
аниме
фэнтези
5.00
рейтинг книги
Камень Книга двенадцатая

Весь цикл «Десантник на престоле». Шесть книг

Ланцов Михаил Алексеевич
Десантник на престоле
Фантастика:
альтернативная история
8.38
рейтинг книги
Весь цикл «Десантник на престоле». Шесть книг

Неверный

Тоцка Тала
Любовные романы:
современные любовные романы
5.50
рейтинг книги
Неверный

Зодчий. Книга II

Погуляй Юрий Александрович
2. Зодчий Империи
Фантастика:
аниме
фэнтези
попаданцы
5.00
рейтинг книги
Зодчий. Книга II

Воронцов. Перезагрузка. Книга 4

Тарасов Ник
4. Воронцов. Перезагрузка
Фантастика:
попаданцы
альтернативная история
фэнтези
фантастика: прочее
6.00
рейтинг книги
Воронцов. Перезагрузка. Книга 4

Двойник Короля 4

Скабер Артемий
4. Двойник Короля
Фантастика:
аниме
фэнтези
фантастика: прочее
попаданцы
5.00
рейтинг книги
Двойник Короля 4

Шайтан Иван 4

Тен Эдуард
4. Шайтан Иван
Фантастика:
попаданцы
альтернативная история
8.00
рейтинг книги
Шайтан Иван 4

Отморозок 2

Поповский Андрей Владимирович
2. Отморозок
Фантастика:
попаданцы
5.00
рейтинг книги
Отморозок 2

Газлайтер. Том 31

Володин Григорий Григорьевич
31. История Телепата
Фантастика:
боевая фантастика
попаданцы
альтернативная история
фэнтези
5.00
рейтинг книги
Газлайтер. Том 31