Чтение онлайн

на главную - закладки

Жанры

Ковка

Навроцкий Александр Георгиевич

Шрифт:

Рис. 1.1.38. Ковка железной Индийской колонны.

Рис. 1.1.39. Ковка на молоте с ремнем.

Начиная с XIV в. для привода различных машин и механизмов применяют водоналивные или, как их называли, водяные колеса. Первоначально они применялись для привода водяных мельниц, и строили их мастера-самоучки, талантливые изобретатели. Эти водяные колеса в зависимости от формы русла реки и мощности потока делались трех типов: верхнего боя (наливные), среднего боя и нижнего боя (подливные).

С XVI в. в России начинают строить «мельницы железцовые», т. е. использовать водяные колеса для молотов, обрабатывающих железо. Известно, что первый молот с водяным колесом для ковки железа – «самоков» – был установлен на р. Лахоме (близ р. Вычегды). Все работы по строительству плотин, водяных колес и самих молотов производили кузнецы без каких-либо чертежей и расчетов. Всю необходимую технологическую документацию мастер хранил в памяти, а секреты строительства передавались только самым близким людям.

Применение водяного колеса позволило создать механический рычажный молот, толчейное устройство, сверлильные и расточные станки и другие устройства с зубчатыми и цевочными передачами между вращающимися осями, в том числе пересекающимися под прямым углом.

В России на металлургических и железоделательных заводах наиболее широко использовался хвостовой молот, у которого мотовище продолжалось за ось вращения, образуя хвост. Молот поднимался под действием кулаков, сидящих на боевом валу. При сходе кулака с «хвоста» молот под действием кулака падал, деформируя заготовку, лежащую на наковальне. Сама наковальня устанавливалась на массивном деревянном (позднее металлическом) стуле-шаботе.

Для повышения эффективности удара в конструкциях хвостового молота использовалась деревянная упругая доска – отбой, которая пружинила и способствовала увеличению скорости опускания головы.

Хвостовые молоты совершали 30–200 ударов в минуту, а вес падающих частей (головы) достигал 20 пудов и более. Они использовались для всевозможных работ – от протяжки мелкосортного железа до ковки тяжелых якорей. Интересно отметить, что небольшой молот с головой массой 80 кг заменял 25–30 молотобойцев.

У некоторых народностей применялись очень простые молоты с ручным или ножным приводом. На упругом деревянном стержне подвешивался на канате тяжелый шар-баба. Раскачивая его (рукой или ногой), производили удар, а вверх баба поднималась вследствие упругости стержня. На рис. 1.1.40 представлены конструкции древних молотов с ручным приводом, а на рис. 1.1.41 показаны молоты с ножным управлением. В конструкции (а) удар молота получается в результате собственного веса бабы при отпущенной ножной педали, а подъем – при помощи нажатия на педаль и за счет жесткости верхнего упругого стержня. В конструкции (б) удар производится при нажатии на педаль.

Рис. 1.1.40. Старинные молоты с ручным приводом.

Рис. 1.1.41. Старинные молоты с ножным приводом.

На рис. 1.1.42 показан небольшой по размерам молот с ножным приводом, а на рис. 1.1.43 – оригинальная конструкция самодельного молота с ножным приводом.

Рис. 1.1.42. Молот с ножным приводом: 1 – молот; 2 – наковальня; 3 – стул; 4 – педаль; 5 – тяга; 6 – стойка; 7 – рычаг; 8 – вал; 9 – зажим рычага молота; 10 – зажимной винт; 11 – пружина; 12 – серьга.

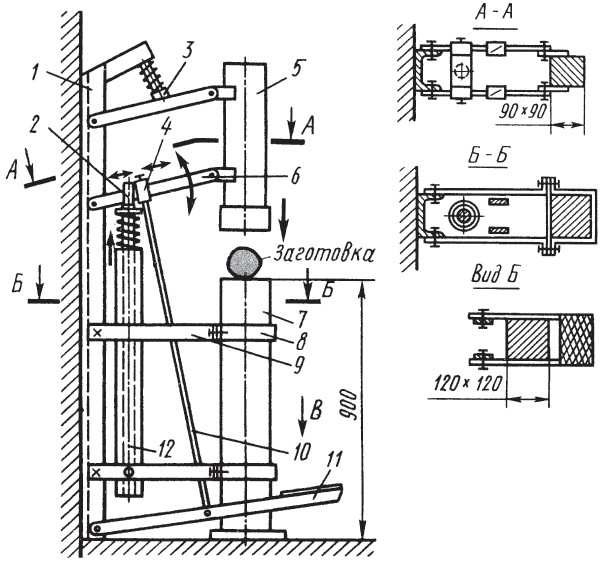
Рис. 1.1.43. Рычажный молот с ножным приводом: 1 – стойка; 2 – пружина для подъема; 3 – упор пружинный; 4 – хомутик рычага; 5 – верхний боек (баба); 6 – серьга (4 шт.); 7 – основание (шабот); 8 – хомут; 9 – связи; 10 – тяга (2 шт.); 11 – педаль; 12 – труба с пружиной.

В 2008 г. в ГУМе устроили уникальную выставку, на которой были представлены многочисленные модели всевозможных изделий, сделанных по чертежам выдающегося инженера, мыслителя и художника XVI в. Леонардо да Винчи. Среди этих моделей был и эксцентриковой молот с ручным приводом, который возможно сделать своими руками.

Необходимо отметить, что при работе «в одну руку» многие кузнецы чувствуют, что им не хватает рук для одновременного держания молотка, заготовки и подкладного инструмента. Можно посоветовать способ, которым пользовались кузнецы-серповики при зубрении серпов. Заготовка (рис. 1.1.44, п. 1), вынутая из горна, подсовывается под кольцо из троса (п.5), которое под действием ножной педали (п. 4) прижимает ее к наковальне (п.2), установленной на подставке (п.3). В результате этого левая рука кузнеца освобождается от клещей, удерживающих заготовку, и может держать необходимый подкладной инструмент (зубило, гладилку и т. п.). Известный в Западной Европе кузнец и создатель уникальной кузнечной школы Альфред Хаберманн предложил для удержания заготовки на наковальне специальный прижим, вставляемый в наковальню (Фото 1.1.21).

Рис. 1.1.44. Приспособление для прижима заготовок: 1 – заготовка; 2 – наковальня; 3 – стул; 4 – педаль с пружиной, 5 – кольцо из троса.

В современных условиях, когда кузнецу приходится работать без молотобойцев, лучший помощник – пневматический молот.

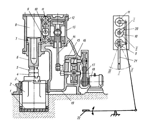
Такой молот (рис. 1.1.45) состоит из рабочего цилиндра (п.8) с поршнем (п.7), штоком (п.6) и верхним бойком (п.5); компрессорного цилиндра (п.13) с поршнем (п.12); привода компрессорного цилиндра, состоящего из электродвигателя (п.18), ременной передачи (п.17), редуктора (п.16), кривошипного вала (п.15) и шатуна (п.14). Рабочий и компрессорный цилиндры соединены друг с другом верхним и нижним воздушными каналами с кранами управления (п.9–11). Краны поворачиваются с помощью рукоятки управления.

Рис. 1.1.45. Молот пневматический (а), рукоятки управления (б).

На молотах с массой падающих частей до 250 кг дополнительно к ручному управлению устанавливается педаль для ножного управления. Нижний боек (п.4) крепится к шаботу (п.2), установленному на фундаменте на деревянных брусьях (п.1). Детали молота крепятся в литой чугунной станине (п.19), а шабот фиксируется в окне станины с помощью деревянных клиньев (п.3). Принцип действия молота следующий. В исходном положении поршень (п. 7) занимает крайнее нижнее положение, поршень компрессора – крайнее верхнее. Верхний боек (п. 5) лежит на нижнем или на заготовке. При включении электродвигателя кривошипный вал (п. 15) начинает поворачиваться и перемещать поршень (п.12) компрессорного цилиндра вниз. Под поршнем компрессора воздух сжимается, через канал в нижнем кране (п. 9) попадает в нижнюю часть рабочего цилиндра и давит снизу вверх на рабочий поршень. В этот момент верхняя полость рабочего цилиндра через краны (п.10) и (п.11) соединяется с атмосферой, и, так как в нем нет избыточного давления, рабочий поршень начинает подниматься вверх. Когда поршень поднимается вверх, то над поршнем создается повышенное давление и подвижные части молота с ускорением двигаются вниз и наносят удары по заготовке.

Поделиться:
Популярные книги

Герой

Бубела Олег Николаевич
4. Совсем не герой
Фантастика:
фэнтези
попаданцы
9.26
рейтинг книги
Герой

Кодекс Охотника. Книга XVII

Винокуров Юрий
17. Кодекс Охотника
Фантастика:
фэнтези
попаданцы
аниме
5.00
рейтинг книги
Кодекс Охотника. Книга XVII

Кай из рода красных драконов 4

Бэд Кристиан
4. Красная кость
Фантастика:
фэнтези
попаданцы
5.00
рейтинг книги
Кай из рода красных драконов 4

Имя нам Легион. Том 3

Дорничев Дмитрий
3. Меж двух миров
Фантастика:
боевая фантастика
рпг
аниме
5.00
рейтинг книги
Имя нам Легион. Том 3

Мое ускорение

Иванов Дмитрий
5. Девяностые
Фантастика:
попаданцы
альтернативная история
6.33
рейтинг книги
Мое ускорение

Второгодка. Книга 2. Око за око

Ромов Дмитрий
2. Второгодка
Фантастика:
героическая фантастика
альтернативная история
фэнтези
5.00
рейтинг книги
Второгодка. Книга 2. Око за око

Законник Российской Империи. Том 2

Ткачев Андрей Юрьевич
2. Словом и делом
Фантастика:
городское фэнтези
альтернативная история
аниме
дорама
6.40
рейтинг книги
Законник Российской Империи. Том 2

Золотой ворон

Сакавич Нора
5. Все ради игры
Фантастика:
зарубежная фантастика
5.00
рейтинг книги
Золотой ворон

Мой муж – чудовище! Изгнанная жена дракона

Терин Рем
Любовные романы:
любовно-фантастические романы
5.00
рейтинг книги
Мой муж – чудовище! Изгнанная жена дракона

Второй кощей

Билик Дмитрий Александрович
8. Бедовый
Фантастика:
юмористическое фэнтези
городское фэнтези
мистика
5.00
рейтинг книги
Второй кощей

Бастард Императора

Орлов Андрей Юрьевич
1. Бастард Императора
Фантастика:
фэнтези
аниме
5.00
рейтинг книги
Бастард Императора

Дважды одаренный. Том VI

Тарс Элиан
6. Дважды одаренный
Фантастика:
аниме
альтернативная история
фэнтези
фантастика: прочее
5.00
рейтинг книги
Дважды одаренный. Том VI

Деревенщина в Пекине 3

Афанасьев Семен
3. Пекин
Фантастика:
попаданцы
дорама
5.00
рейтинг книги
Деревенщина в Пекине 3

Система Возвышения. (цикл 1-8) - Николай Раздоров

Раздоров Николай
Система Возвышения
Фантастика:
боевая фантастика
4.65
рейтинг книги
Система Возвышения. (цикл 1-8) - Николай Раздоров