Чтение онлайн

на главную - закладки

Жанры

Ковка

Навроцкий Александр Георгиевич

Шрифт:

Рис. 1.1.53 Отрубка (а) и разрубка (б) заготовок.

Протяжка – основная операция, при которой изменяется площадь сечения заготовки и увеличивается ее длина. Протяжку можно производить как на всю длину в одном направлении, без кантовки (Рис. 1.1.54), с кантовкой после каждого прохода (б) и кантуя заготовку после каждого удара на 90 градусов (в).

1.1.54 – Схема протяжки.

Гибка на молоте осуществляется следующим образом: нагретую заготовку зажимают между бойками молота и ударами кувалды гнут ее (рис. 1.1.55 а). Для гибки скоб используют подкладной штамп и оправку соответствующего радиуса (рис. 1.1.55 б).

Рис. 1.1.55 Гибка заготовки.

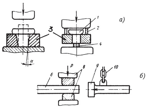
Осадка производится на молотах с помощью плоских бойков, а высадку невысоких заготовок – с помощью подкладного кольца (рис. 1.1.56 а). Удаление поковки (п. 1) из кольца (п. 3) производится при помощи надставки (п. 2) и подкладки (п. 4), (рис. 1.1.56 б). Высадку головки на длинном стержне производят следующим образом: конец заготовки (п. 6) (рис. 1.1.56 в) нагревают, после чего стержень зажимают бойками молота (п. 8) и тяжелым подвешенным на цепях (п. 10) инструментом (п. 9) (соколом или балдой) ударяют по нагретому концу и деформируют головку.

Рис. 1.1.56 Высадка заготовки

Пробивку отверстия в плоской заготовке (п. 2) (рис. 1.1.57 а) осуществляют на подкладном кольце (п. 3) с подставкой (п. 4) с помощью прошивня (п. 1), который внедряется в заготовку до образования отверстия и отделения «выдры» (п. 5). Изготовление отверстий в более толстых заготовках (рис. 1.1.57 б) осуществляют при помощи конического прошивня, который устанавливают на нагретую заготовку и с помощью молота внедряют его на 2/3 ее высоты. После этого заготовку переворачивают (рис. 1.1.57 в) на потемневшее место устанавливают прошивень и ударами верхнего бойка пробивают отверстие и выбивают «выдру».

Рис. 1.1.57 Пробивка заготовок

Пневматические молоты используют кузнецы в основном для предварительных операций, таких как протяжка, разгонка, осадка и др. А вот киевские кузнецы-художники О. Стасюк, В. Демин и А. Миловзоров отковали на молоте оригинальную решетку для Дома художников в Киеве (фото 1.1.23–1.1.26).

Еще одно уникальное изделие – пятитонную розу (фото 1.1.27) изготовили ульяновские кузнецы фирмы «Корч» под руководством Александра Романова и Ивана Монастырского на гидравлическом прессе усилием 1250 т Ульяновского завода тяжелых станков. Технология художественной ковки таких крупногабаритных изделий (высотой более 3,5 м) не имеет аналогов в мире. Эта роза была подарена Санкт-Петербургу на 300-летие города.

На фото 1.1.28 директор ульяновской фирмы, президент Союза кузнецов России Алекандр Романов делится своими планами с Генеральным директором «Металлургиздат» Ольгой Николаевной Новоселовой.

Ульяновские кузнецы изготовили и очень оригинальный столик-подставку (фото 1.1.29), столешницами которого являются распиленные вдоль и отполированные древние раковины.

Параллельно с развитием молотов шло развитие винтовых прессов, которые первоначально применялись в сельском хозяйстве для выжимания сока из фруктов и масла из семян, позднее использовались для чеканки монет, а с XVIII в. – для изготовления массовых деталей на оружейных и машиностроительных заводах.

Винтовые прессы с ручным приводом применяются для чеканки, обрезки заусенцев, запрессовки деталей и пробивания фасонных отверстий в листовых заготовках. На рис. 1.1.58 показан ручной винтовой пресс для пробивания фасонных отверстий (отдушек) на самоварных поддонах и конфорках. Пресс своим основанием (п. 1) (хвостом) надежно крепится к верстаку. При вращении маховика (п.2) с жестко связанным винтом (п.3) начинается перемещение вниз ползуна (п.4) с инструментом – пуансоном (п.5). На нижнюю матрицу надевается конфорка, в которой и пробиваются фасонные отверстия.

Рис. 1.1.58. Винтовой пресс.

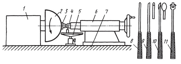
Рис. 1.1.59–60. Давильный станок.

Для давильных работ применяют давильный станок (рис. 1.1.59), но можно использовать и токарный станок. На шпиндель (п.1) закрепляют деревянную колодку – оправку (п.2) с профилем, необходимым для выдавливания изделия, и заготовку – кружок из латуни. Оправка обычно изготовляется из дерева, а при выполнении сложных работ, связанных с большими усилиями, – из металла. Круглая металлическая заготовка из листовой меди, латуни, алюминия, низкоуглеродистых сортов стали прижимается к оправке специальным деревянным прижимом (п. 3) при помощи задней бабки станка (п. 6), установленной на станине (п. 7). Для выдавливания изделия применяют специальный инструмент – давильники (рис. 1.1.60 б, п. 8–11). Они в основном изготовляются из стали, но могут быть из латуни, бронзы и даже твердых пород дерева. Длина рукоятки давильника должна быть свыше 40 см, а рабочий конец может иметь шарообразную или скругленную форму или вращающийся ролик. Давильники при работе опираются на специальные штифты (п. 4), которые устанавливаются на упоре (п.5). Высота упора чуть ниже оси вращения заготовки. Давильник необходимо держать так, чтобы его рукоятка была направлена к подмышке. Перед работой заготовку и инструмент протирают салом или воском. Выдавливание начинают от центра к краям. Если в процессе выдавливания на заготовке начинают образовываться складки, то ее необходимо отжечь, а затем продолжать процесс выдавливания. После окончания выдавливания края заготовки следует подрезать резцом, поверхность обработать гладильным давильником (п. 9, 10) а затем шлифовать и полировать.

Техника безопасности

Все кузнечное оборудование относится к оборудованию повышенной опасности, поэтому при работе необходимо уделять большое внимание качеству ручного и съемного инструмента и средствам индивидуальной защиты.

Перед началом работы следует проверить исправность молота, а также наковальни, нагревательных устройств и воздуховодов и устранить замеченные недостатки. Наковальня должна быть надежно прикреплена к стулу и стоять устойчиво. Расстояние между наковальней и горном должно быть не менее 1,5 м, между рядом расположенными наковальнями – не менее 4 м и от наковальни до прохода – не менее 2 м. При проверке наковальни «на удар» звук должен быть чистым, звонким, без дребезжания, что свидетельствует об отсутствии трещин.

До начала работы устанавливают щиты, где это необходимо, для предохранения от возможного поражения людей отлетающей окалиной или частицами металла, а также экраны для защиты от теплового воздействия нагревательных устройств.

Перед началом работы следует проверить инструмент. Разрешается работать только исправным инструментом, и обязательно использовать его по прямому назначению. Инструменты следует располагать на рабочем месте с максимальным удобством для пользования, не допуская в зоне работы лишних предметов. Пол на рабочем месте должен быть ровным и сухим (не скользким); следует своевременно производить его уборку и не загромождать заготовками, отходами и другими предметами. В бачке для охлаждения инструмента всегда должна быть чистая вода.

Поделиться:
Популярные книги

Гримуар тёмного лорда I

Грехов Тимофей
Фантастика:
фэнтези
попаданцы
аниме
5.00
рейтинг книги
Гримуар тёмного лорда I

Я уже барон

Дрейк Сириус
2. Дорогой барон!
Фантастика:
боевая фантастика
попаданцы
аниме
5.00
рейтинг книги
Я уже барон

Неудержимый. Книга XXVIII

Боярский Андрей
28. Неудержимый
Фантастика:
аниме
фэнтези
попаданцы
5.00
рейтинг книги
Неудержимый. Книга XXVIII

На границе империй. Том 9. Часть 2

INDIGO
15. Фортуна дама переменчивая
Фантастика:
космическая фантастика
попаданцы
5.00
рейтинг книги
На границе империй. Том 9. Часть 2

Телохранитель Цесаревны

Зот Бакалавр
5. Герой Империи
Фантастика:
фэнтези
боевая фантастика
5.25
рейтинг книги
Телохранитель Цесаревны

Вперед в прошлое 12

Ратманов Денис
12. Вперед в прошлое
Фантастика:
попаданцы
5.00
рейтинг книги
Вперед в прошлое 12

Локки 4 Потомок бога

Решетов Евгений Валерьевич
4. Локки
Фантастика:
аниме
фэнтези
5.00
рейтинг книги
Локки 4 Потомок бога

Идеальный мир для Лекаря 10

Сапфир Олег
10. Лекарь
Фантастика:
юмористическое фэнтези
аниме
5.00
рейтинг книги
Идеальный мир для Лекаря 10

Первый среди равных. Книга X

Бор Жорж
10. Первый среди Равных
Фантастика:
попаданцы
аниме
фэнтези
фантастика: прочее
5.00
рейтинг книги
Первый среди равных. Книга X

Петля, Кадетский корпус. Книга вторая

Алексеев Евгений Артемович
2. Петля
Фантастика:
боевая фантастика
попаданцы
аниме
4.80
рейтинг книги
Петля, Кадетский корпус. Книга вторая

Альбион сгорит!

Зот Бакалавр
10. Герой Империи
Фантастика:
фэнтези
попаданцы
аниме
5.00
рейтинг книги
Альбион сгорит!

Газлайтер. Том 16

Володин Григорий Григорьевич
16. История Телепата
Фантастика:
боевая фантастика
попаданцы
аниме
5.00
рейтинг книги
Газлайтер. Том 16

Я еще царь. Книга XXX

Дрейк Сириус
30. Дорогой барон!
Фантастика:
юмористическое фэнтези
аниме
попаданцы
5.00
рейтинг книги
Я еще царь. Книга XXX

Виктор Глухов агент Ада. Компиляция. Книги 1-15

Сухинин Владимир Александрович
Виктор Глухов агент Ада
Фантастика:
фэнтези
героическая фантастика
боевая фантастика
попаданцы
5.00
рейтинг книги
Виктор Глухов агент Ада. Компиляция. Книги 1-15