Чтение онлайн

на главную - закладки

Жанры

Шрифт:

Скорость резания и чистота обработки во многом зависят от правильной заточки режущей части грабштихеля (рис. 52), а также от правильной установки грабштихеля «а токарном станке. Режу­щая часть грабштихеля должна находиться на оси (в центре) обрабатываемой детали (рис. 53). Концы обрабатываемой детали, находящейся в спицах станка, нужно чаще смазывать маслом.

Рис. 52. Заточка грабштихеля:

1 — правильная; 2— неправильная

Если во время обработки металла стружка идет длинная и за­вивается, это значит, что грабштихель острый, правильно заточен и хорошо установлен.

Во время работы грабштихель затупляется, и его необходимо затачивать на камне. После заточки необходимо снять заусенцы с его режущих ребер точильным бруском.

Рис. 53. Правильная установка резца грабштихеля:

1 — грабштихель находится в центре обрабатываемой детали; 2 —граб-1 штихель — на подручнике; обработка детали правой режущей кромкой; 3 —обработка детали левой режущей кромкой; 4— положение грабшти­хеля во время обточки детали

Контроль размеров и измерительный инструмент.Прежде чем перейти к определению размеров, например новой оси баланса, заводного валика и других деталей, необходимо выяснить, каким инструментом и каким способом следует производить измерение. Нередко .мастер притачивает деталь по месту, а в лучшем случае использует только кронциркуль и нутромер.

Рис. 54. Три типа кронциркуля: 1 —простой; 2 —пружинный; 3— эластичный

Рис. 55. Три типа нутромера: 1 простой; 2 —пружинный; 3 —эластичный

Кронциркули и нутромеры служат для измерения линейных размеров с последующим их отсчетом по масштабной линейке. Кронциркули (рис. 54) и нутромеры (рис. 55) бывают простые и пружинные. Преимущество пружинных заключается в том, что их ножки разводят не непосредственно рукой, а с помощью винта и гайки. Наружные размеры измеряются кронциркулем, а внутрен­ние — нутромером. Различие между кронциркулем и нутромером состоит только в форме их ножек.

Ножки кронциркуля и нутромера вращаются в шарнире снеко­торым (не очень большим) трением, не спадая после замера.

При измерении детали кронциркулем или нутромером берут инструмент правой рукой за шарнирную часть и раздвигают ножки приблизительно на проверяемый размер. Затем легкими ударами сближают ножки так, чтобы оли прикасались губками к поверхности измеряемой детали без кач­ки и без просвета. При этом инструмент надо держать строго перпендикулярно к оси измеряемой детали.

После снятия размера с детали крон­циркуль или нутромер осторожно прикла­дывают к масштабной линейке так, чтобы одна ножка упиралась в торец линейки. Слегка поддерживая эту ножку мизинцем левой руки, накладывают вторую ножку на линейку и отсчитывают полученный размер. При наружных измерениях удобно поль­зоваться швейцарской десятичной меркой, у которой размерная линейка находится на самом циркуле (рис. 56).

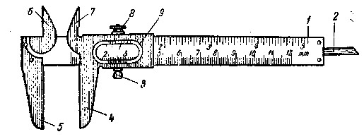
Высокая точность определения размеров обрабатываемых деталей требует примене­ния более точного измерительного инстру­мента, например штангенциркуля. Наиболее удобно пользоваться штангенциркулем «Колумбус» (рис. 57).

Штангенциркуль «Колумбус» снабжен нониусной шкалой. На движке в вырезе со скошенными краями внизу нанесено 10 ри­сок. Первая риска слева на нониусе считается нулевой риской. Де­ления на штанге 1 и мониусе 9нанесены так, что когда ножки 45штангенциркуля сдвинуты плотно, нулевая риска нониуса точно совпадает с нулевой риской штанги, а десятое деление но­ниуса — с девятой риской штанги. Если при передвижке ножки 4нулевая риска прошла несколько дальше цифры 5,значит размер данной детали более 10 мм;чтобы определить, на какую величину этот размер больше 10 мм,смотрят, с какой риской на штанге лучше всего совпадает нулевая риска нониуса 9.И затем отсчи­тывают, сколько рисок на штанге после 10 мм.Если при подсчете оказалось, что нулевая риска нониуса 9прошла вперед на шесть рисок, подсчитанных на штанге 1, значит измеряемая деталь имеет размер 10,6 мм.

Рис. 56. Швейцарская десятичная мерка

Во время измерения достаточно, чтобы губки штангенциркуля плотно подошли к измеряемой детали, но не следует их прижимать с большим усилием.

Если ножки (4 — 5)плотно прилегают одна к другой и нулевые линии (риски) совпадают одна с другой совершенно точно, без просвета по всей их длине, значит штангенциркуль исправен.

Чтобы штангенциркуль был в полной исправности, следует дер­жать его в кожаном или брезентовом футляре. Его нельзя бросать, держать вместе с другими инструментами, так как неосторожный, хотя бы легкий удар по рабочей части ножек может его повредить.

Рис. 57. Штангенциркуль «Колумбус»:

1 — основная линейка; 2— выдвижная линейка-нутромер- 3 —головка для передвижки ножки; 4 —ножка передвижная; 5 —ножка непередвижная- 6 —левая острая ножка; 7 — правая острая ножка; S — гайка для закрепле­ния ножки; 9 —вырез с нониусом

Опиловка и полировка-цапф.Для доводки и исправления цапф осей служат мелкий бархатный .напильник, а для полиров-ки — воронило. Каждый из указанных инструментов имеет две ра­бочие стороны. Одна сторона, с прямыми острыми углами, пред­назначается для доводки, исправления и полировки цапф трибов и других деталей с прямыми основаниями, другая, овальная, — для доводки, исправления и полировки цапф оси баланса.

Во время работы воронило смазывают маслом. Чтобы масло не окатывалось, на ворониле делают мельчайшую насечку, проводя воронилом по наждачной бумаге.

Поделиться:
Популярные книги

Корсар

Русич Антон
Вселенная EVE Online
Фантастика:
боевая фантастика
космическая фантастика
6.29
рейтинг книги
Корсар

На границе империй. Том 9. Часть 5

INDIGO
18. Фортуна дама переменчивая
Фантастика:
космическая фантастика
попаданцы
5.00
рейтинг книги
На границе империй. Том 9. Часть 5

Тринадцатый V

NikL
5. Видящий смерть
Фантастика:
фэнтези
попаданцы
аниме
5.00
рейтинг книги
Тринадцатый V

Звездная Кровь. Экзарх II

Рокотов Алексей
2. Экзарх
Старинная литература:
прочая старинная литература
5.00
рейтинг книги
Звездная Кровь. Экзарх II

Газлайтер. Том 25

Володин Григорий Григорьевич
25. История Телепата
Фантастика:
боевая фантастика
попаданцы
аниме
5.00
рейтинг книги
Газлайтер. Том 25

Законы Рода. Том 3

Андрей Мельник
3. Граф Берестьев
Фантастика:
фэнтези
аниме
5.00
рейтинг книги
Законы Рода. Том 3

Хозяин оков VI

Матисов Павел
6. Хозяин Оков
Фантастика:
фэнтези
попаданцы
гаремник
5.00
рейтинг книги
Хозяин оков VI

Идеальный мир для Лекаря 2

Сапфир Олег
2. Лекарь
Фантастика:
юмористическая фантастика
попаданцы
аниме
5.00
рейтинг книги
Идеальный мир для Лекаря 2

Вперед в прошлое 7

Ратманов Денис
7. Вперед в прошлое
Фантастика:
попаданцы
альтернативная история
5.00
рейтинг книги
Вперед в прошлое 7

Антимаг его величества. Том V

Петров Максим Николаевич
5. Модификант
Фантастика:
фэнтези
попаданцы
аниме
5.00
рейтинг книги
Антимаг его величества. Том V

Анти-Ксенонская Инициатива

Вайс Александр
7. Фронтир
Фантастика:
боевая фантастика
космическая фантастика
космоопера
5.00
рейтинг книги
Анти-Ксенонская Инициатива

Надуй щеки! Том 2

Вишневский Сергей Викторович
2. Чеболь за партой
Фантастика:
попаданцы
дорама
фантастика: прочее
5.00
рейтинг книги
Надуй щеки! Том 2

Герцог. Книга 1. Формула геноцида

Юллем Евгений
1. Псевдоним "Испанец" - 2
Фантастика:
фэнтези
попаданцы
аниме
5.00
рейтинг книги
Герцог. Книга 1. Формула геноцида

Шайтан Иван 3

Тен Эдуард
3. Шайтан Иван
Фантастика:
попаданцы
альтернативная история
7.17
рейтинг книги
Шайтан Иван 3