Чтение онлайн

на главную

Жанры

Шрифт:

Заводные пружины для механизма с автоматическим заводом снабжены специальным фрикционным креплением, устраняющим разрыв пружины при перекручивании. Этот фрикцион изготовляют из закаленной стальной ленты, выгнутой по определенной кривой.

12. КОНСТРУКТИВНАЯ СХЕМА НАРУЧНЫХ ЭЛЕКТРИЧЕСКИХ ЧАСОВ

В последнее десятилетие в большинстве стран с высокоразви­той приборостроительной промышленностью ведутся интенсивные работы по созданию принципиально новой конструкции наручных часов — так называемых наручных электрических.

Поводом к созданию часов с электрическим регулятором коле­баний явилась их способность работать с более высокой точно­стью, что объясняется применением в этих часах такого стабиль­ного источника энергии, как электрическая батарейка.

Применяемые в часах электрические батарейки выполняются на основе окиснортутных соединений и обладают очень плавной разрядной характеристикой, сохраняя напряжение в течение пе­риода работы практически постоянным. Вполне очевидно, что по сравнению с пружинным двигателем, обычно применяющимся в часах, электрический привод, питаемый таким стабильным источником энергии, обеспечивает высокую стабильность импуль­сов, что и способствует повышению точности хода часов.

Помимо указанного существенного преимущества, в наручных электрических часах значительно улучшена герметизация их кор­пуса, что также упрощает их обслуживание, исключая необходи­мость ежесуточной заводки.

В настоящее время известно несколько конструктивных вари­антов наручных электрических часов, не имеющих в основном принципиальных конструктивных различий. Подобные часы выпу­скаются некоторыми фирмами США, Франции, Швейцарии и ФРГ.

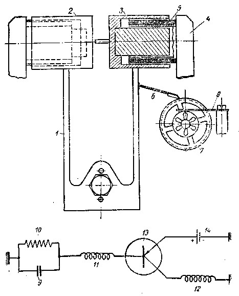
Принципиальная схема наиболее распространенной конструк­ции наручных электрических часов показана на рис. 38.

Рис. 38. Принципиальная схема наручных электрических часов

В этой конструкции применен винтовой монометаллический баланс 1, обод которого имеет прорезь, в которой установлена треугольная миниатюрная катушка 10с проводом толщиной не­более 15 мк.Один конец этой катушки соединен через волосок баланса с массой механизма, другой конец, изолированный oт массы, — с контактным штифтом, установленным в ролике, закреп­ленном на оси баланса (на схеме -не видны). Источник тока — батарейка 4— установлен в гнезде платины 7 с помощью байонетной пружины 3,концы которой заведены в от­верстия крепежных колонок 5и 2.Корпус батарейки, являющийся одним из ее выводов, соединяется непосредственно с массой меха­низма, крышка батарейки, являющаяся вторым ее выводом и изо­лированная от корпуса батарейки, — с токосъемной пружинкой, изолированно закрепленной на платине механизма.

В электрическую цепь батарейка — катушка введены кон­такты 8,закрепляемые на платине часов специальным мостом 6.

На платине часов укреплен также магнитопровод 9,снабжен­ный двумя цилиндрическими постоянными магнитами, выполнен­ными из специального платино-колебательного сплава, что позво­ляет при относительно малых размерах магнита достигать весьма большой напряженности магнитного поля в зазоре магнитопровода.

При колебаниях баланса катушка, закрепленная на нем, про­ходит в зазоре магнитопровода. В тот момент, когда катушка входит в зазор, контактная пластина замыкается с контактным штифтом, установленным на оси баланса, и в катушку поступает ток от батарейки, создавая вокруг катушки электромагнитное поле. Взаимодействие этого поля с полем постоянных магнитов магнитопровода сообщает балансу импульс, поддерживающий его колебания.

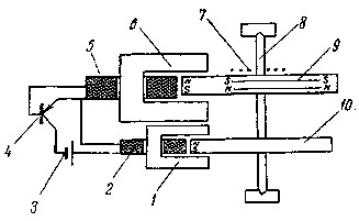
Рис. 39. Бесконтактные электрические часы на триодах (принципиальная схема)

Рис. 40. Принципиальная схема камертонных часов

В наручных электрических часах баланс не только регулирует ход часов, но и является двигателем стрелочного механизма ча­сов. С этой целью на балансе с помощью ролика закреплен эллипс аналогично тому, как это выполнено в обычных механиче­ских часах. При колеба­ниях баланса эллипс, взаимодействуя с зубца­ми миниатюрного храпо­вого колеса, занимающе­го место ходового колеса в обычном механизме, вращает храповик, кото­рый с помощью обычной зубчатой передачи сооб­щает вращение стрелкам часов. Положение храпо­вика фиксирует в этих ча­сах миниатюрный посто­янный магнит, установ­ленный в платине часов, взаимодействующий с проходящими над ним зубцами стального храповика.

В заключение настоящей главы следует указать также на два новых типа электрических наручных часов, разработка -которых в настоящее время проводится весьма интенсивно. Это так назы­ваемые бесконтактные, или электронные наручные часы, извест­ные пока по многочисленным литературным источникам, и яаручные камертонные часы, выпускаемые американской фирмой «Бюлов».

Бесконтактные часы созданы на базе миниатюрных полупро­водниковых триодов, заменяющих в этих часах контакты, которые в вышеописанных электрических часах являются слабым кон­структивным узлом механизма. На рис. 39 показана принципиаль­ная схема бесконтактных часов фирмы «Филлипс». В этой конст­рукции баланс образован двумя магнитными дисками 9и 10,за­крепленными на общей оси 8,снабженной волоском 7. При колеба­ниях баланса диски проходят в зазорах сердечников 1 и 6,соответственно несущих катушки 2и 5. При прохождении маг­нитного полюса диска 9в зазоре сердечника 6в катушке 5 наводится э.д.с., поступающая на базу полупроводникового триода 4.

База полупроводникового триода по принципу своей работы аналогична сетке обычной электронной лампы. При поступлении эдс на базу триод разрывается и пропускает ток от источника тока 3в катушку 2, на которой создается электромагнитное поле.

Это поле взаимодействует с диском 10,сообщая балансу импульс. Колебания баланса в бесконтактных часах могут передаваться на вращение стрелок часов таким же способом, как и в контакт­ных электрических часах.

На рис 40 показана принципиальная схема камертонных ча­сов фирмы «Бюлова». На ножках камертона 1 укреплены стакано-образные магнитопроводы 2 к 3 спостоянными магнитами 4.

В зазор обоих магнитопроводов введены соленоидные катушки 5. При колебаниях камертона пружинка 6перемещает храповое колесо 7 с фрикционной фиксирующей пружинкой 8.

Колебания камертона поддерживаются с помощью генератор­ной схемы, образованной конденсатором 9,сопротивлением 10,обмотками соленоидных катушек 11и 12,включенными в цепь полупроводникового триода 13.Схема получает питание от источ­ника тока 14.

Работа подобной схемы аналогична работе схемы бесконтакт­ных часов. При сообщении камертону возбуждения в катушке 11 постоянный магнит наводит э.д.с., приложенную к базе триода 13,который проводит ток от источника 14в катушку 12.Магнитное поле этой катушки, воздействуя на постоянный магнит камертона, поддерживает его колебания.

Г Л А В А III

ОБОРУДОВАНИЕ ЧАСОВОЙ МАСТЕРСКОЙ И ОБЩИЕ

Поделиться:
Популярные книги

Двойник Короля 7

Скабер Артемий
7. Двойник Короля
Фантастика:
аниме
фэнтези
фантастика: прочее
попаданцы
5.00
рейтинг книги
Двойник Короля 7

Сирийский рубеж 3

Дорин Михаил
7. Рубеж
Фантастика:
попаданцы
альтернативная история
5.00
рейтинг книги
Сирийский рубеж 3

Локки 11. Потомок бога

Решетов Евгений Валерьевич
11. Локки
Фантастика:
героическая фантастика
боевая фантастика
фэнтези
юмористическое фэнтези
5.00
рейтинг книги
Локки 11. Потомок бога

Ермак. Противостояние. Книга одиннадцатая

Валериев Игорь
11. Ермак
Фантастика:
попаданцы
альтернативная история
4.50
рейтинг книги
Ермак. Противостояние. Книга одиннадцатая

Двойник Короля 5

Скабер Артемий
5. Двойник Короля
Фантастика:
фэнтези
попаданцы
аниме
5.00
рейтинг книги
Двойник Короля 5

Неправильный лекарь. Том 1

Измайлов Сергей
1. Неправильный лекарь
Фантастика:
городское фэнтези
попаданцы
аниме
фэнтези
5.00
рейтинг книги
Неправильный лекарь. Том 1

Неправильный лекарь. Том 2

Измайлов Сергей
2. Неправильный лекарь
Фантастика:
городское фэнтези
аниме
фэнтези
попаданцы
5.00
рейтинг книги
Неправильный лекарь. Том 2

Законы Рода. Том 7

Андрей Мельник
7. Граф Берестьев
Фантастика:
юмористическое фэнтези
попаданцы
аниме
5.00
рейтинг книги
Законы Рода. Том 7

Надуй щеки! Том 3

Вишневский Сергей Викторович
3. Чеболь за партой
Фантастика:
попаданцы
дорама
5.00
рейтинг книги
Надуй щеки! Том 3

Тринадцатый X

NikL
10. Видящий смерть
Фантастика:
попаданцы
аниме
фэнтези
5.00
рейтинг книги
Тринадцатый X

Барон диктует правила

Ренгач Евгений
4. Закон сильного
Фантастика:
фэнтези
попаданцы
аниме
5.00
рейтинг книги
Барон диктует правила

Точка Бифуркации VII

Смит Дейлор
7. ТБ
Фантастика:
фэнтези
попаданцы
аниме
5.00
рейтинг книги
Точка Бифуркации VII

Наследник старого рода

Шелег Дмитрий Витальевич
1. Живой лёд
Фантастика:
фэнтези
8.19
рейтинг книги
Наследник старого рода

Снайпер

Поселягин Владимир Геннадьевич
3. Жнец
Фантастика:
боевая фантастика
попаданцы
5.60
рейтинг книги
Снайпер