Чтение онлайн

на главную - закладки

Жанры

Шрифт:

Сам кран представляет собой стальной или латунный корпус той или иной формы с носиком-изливом – с одной стороны, и резьбовым патрубком для подключения подводящей трубы – с другой. Корпус крана – обыкновенная отливка и никаких отдельных деталей не имеет. Задача корпуса (кроме того, чтобы собирать вместе всю конструкцию) состоит в том, чтобы повернуть поток воды под углом и заставить ее проходить через круглое отверстие.

Это отверстие, или окно, с плоской ступенькой по окружности, называется седлом. К нему и прижимается прокладка клапана, надежно перекрывая путь воде. В корпус крана ввинчен рабочий узел, т. е. головка крана. Именно с ней и приходится иметь дело, ликвидируя поломку.

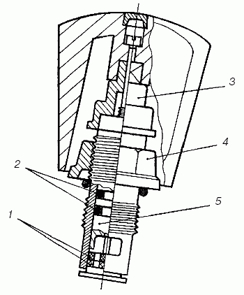
Головка крана (рис. 70) состоит из нескольких деталей, именно она и переводит вращение маховика в возвратно-поступательное движение. Корпус головки крана может быть как стальным или латунным, так и металло-керамическим (в более новых кранах). На корпусе есть резьба, посредством которой головка в сборе устанавливается в корпусе крана. Внутри головки также есть резьба, опираясь на которую, движется шток с клапаном. На штоке жестко закреплен клапан с прокладкой, а хвостовик штока имеет отверстие с внутренней резьбой под болт, соединяющий его с маховиком. Таким образом, маховик, шток и клапан представляют собой единую конструкцию. Предположим, наш кран открыт. Вращая маховик, вы заставляете шток как бы ввинчиваться в головку, двигаясь вниз, при этом клапан плотно прижимает прокладку к седлу в корпусе крана. Поворачивая маховик в обратную сторону, вы открываете воду и можете регулировать ее поток. При этом шток как бы вывинчивается из головки, поднимая клапан вверх.

Рис. 70. Головка крана с возвратно-поступательным движением в сборе: 1 – втулка; 2 – шток; 3 – набивка сальника; 4 – резьба штока; 5 – клапан с прокладкой; 6 – седло клапана

Чтобы предотвратить просачивание воды через корпус головки, в ней вокруг штока оставлено некоторое пространство, так называемый сальник. В нем плотно утрамбован уплотнитель – сальниковая набивка, которая со стороны маховика поджимается специальной втулкой. Устройство, как видите, нехитрое.

Головка крана может иметь и несколько более сложную конструкцию, в которой движение вращательно-поступательное. Здесь осевое перемещение задается уже не самому штоку, а дополнительной детали – шпинделю, на котором и закреплен клапан с прокладкой. Маховик по-прежнему вращает шток, только, в отличие от первого случая, шток просто вставлен в корпус головки, которая внутренней резьбы не имеет. Зато резьбовое соединение есть у штока со шпинделем. Последний, в отличие от штока, вращаться не может, и ему остается только перемещаться вверх и вниз в корпусе головки. Иными словами, принцип действия здесь тот же, только роль пары корпус-шток выполняет пара шток-шпиндель.

Краны с керамическими дисками почти не отличаются по внешнему виду от вышеописанных и полностью взаимозаменяемы, т. е. головка с дисками может быть установлена в тот же кран или смеситель, что и любая из двух первых.

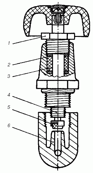
При этом конструктивно головка с керамикой (рис. 71) более совершенна. В ней вообще отсутствуют вертикальные перемещения, а отпирание происходит за счет сов-мещения просветов в двух дисках. Диски притерты друг к другу и за счет совершенно гладких поверхностей легко скользят, т. е. скользит только один из дисков, закрепленный в поворотном цилиндре, а второй неподвижен – просвет в нем играет роль гнезда клапана. Клапана тут, понятно, никакого нет, в положении «закрыто» отверстие нижнего диска заперто плоскостью верхнего.

Рис. 71. Головка крана с керамическими дисками в сборе: 1 – притертые керамические диски; 2 – уплотнительное кольцо; 3 – механизм поворота; 4 – регулирующая гайка; 5 – поворотный цилиндр из самосмазывающейся пластмассы

Вы поворачиваете маховик, один из дисков начинает вращаться, их отверстия совпадают – вода начинает поступать. Чем больше совмещаются отверстия двух дисков, тем больше открывается просвет для прохода воды. Когда отверстия совпадут полностью, кран будет максимально открыт.

Главное преимущество такой конструкции состоит в том, что кран с керамическими дисками более «чуткий», т. е. рабочий ход его маховика намного короче, чем у кранов с прокладкой и клапаном.

Больше не нужно выкручивать маховик, чтобы открыть кран «на полную», и закручивать маховик обратно – чтобы закрыть кран. Фактически маховик вообще не приходиться крутить, ему не нужен даже один полный оборот. Стоит повернуть на 90°, и вода пойдет с максимальным напором. Если повернуть еще на 90° или вернуть в прежнее положение (тут это совершенно неважно), кран будет закрыт. Все промежуточные позиции регулируют степень совпадения отверстий, а значит, и напор.

Вентили и задвижки относятся к запорной арматуре и выполняют чрезвычайно важную работу и должны постоянно находиться в работоспособном состоянии. Контрольный вентиль должен стоять на самом вводе, потому что он понадобится, если возникнет необходимость в ремонте отдельных участков коммуникаций, например для внесения изменений в схему разводки.

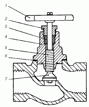
Вентили имеют устройство (рис. 72) и принцип действия, сходные с обычными кранами. У них также есть окно во внутренней перегородке корпуса, через которое проходит вода клапан с прокладкой, запирающий это отверстие; и шток с возвратно-поступательным ходом, проходящий в головке корпуса. Только соединение клапана со штоком может быть «плавающим», при помощи шарового соединения. Втулка сальника может поджиматься накидной гайкой, встречаются также вентили со спецвтулкой, выполняющей роль накидной гайки – она имеет резьбу и вкручивается в резьбу, нарезанную внутри головки.

Рис. 72. Устройство вентиля: 1 – маховик; 2 – втулка; 3 – набивка сальника; 4 – корпус головки; 5 – резьба штока; 6 – изоляция; 7 – клапан с прокладкой

Между корпусом и вентильной головкой может быть полужесткая прокладка, изготовленная из паронита, либо же соединение уплотняется льняной прядью с пропиткой.

Отличия в конструкции вентиля по сравнению с рассмотренным выше краном связаны с самим предназначением вентиля. Поскольку его рабочее состояние – «открыто», каждый элемент конструкции должен быть более надежным. Особенно большую нагрузку испытывает контрольный вентиль на вводе. Если прокладка в клапане крана может быть закреплена без фиксации (просто вставлена в клапан, имеющий вид диска с бортиком), то клапан вентильной головки имеет прокладку, закрепленную гайкой с шайбой на центрирующем выступе шпинделя. Такая конструкция узла вполне оправданна, ведь он находится под постоянным воздействием напора воды.

Корпус вентиля может быть выполнен из ковкого чугуна, стали или латуни. Стальной шток в сочетании с чугунной головкой корпуса имеет одну неприятную особенность – со временем сталь ржавеет, намертво срастаясь при этом с чугуном. Приходится поэтому при ремонте устанавливать новую головку корпуса в сборе со штоком. Латунный шток в чугунном вентиле выдерживает более долгий срок эксплуатации.

Поскольку вентиль, в отличие от крана, рассчитан на установку в магистрали (а не в конце трубы), следует соблюдать правила установки во избежание возникновения гидравлических сопротивлений. Правило это простое, между тем проконтролировать установку зачастую забывают. В результате вода проходит внутри корпуса вентиля в обратном направлении, нежели это предусмотрено самой конструкцией. Хорошего в этом мало – давление на клапан с прокладкой неоправданно возрастает, повышается давление в трубопроводе перед вентилем (в результате увеличивается нагрузка на уплотнения резьбовых соединений), а напор на выходе из вентиля снижается. Для контроля правильно-сти установки корпус вентиля имеет на наружной поверхности стрелку, обознача-ющую направление нормального прохода воды. Устанавливая новый вентиль, не забывайте свериться со стрелкой-указателем.

Поделиться:
Популярные книги

Лекарь Империи 5

Карелин Сергей Витальевич
5. Лекарь Империи
Фантастика:
городское фэнтези
аниме
героическая фантастика
попаданцы
5.00
рейтинг книги
Лекарь Империи 5

Петля, Кадетский корпус. Книга первая

Алексеев Евгений Артемович
1. Петля
Фантастика:
боевая фантастика
попаданцы
аниме
6.11
рейтинг книги
Петля, Кадетский корпус. Книга первая

На границе империй. Том 9. Часть 3

INDIGO
16. Фортуна дама переменчивая
Фантастика:
космическая фантастика
попаданцы
5.00
рейтинг книги
На границе империй. Том 9. Часть 3

Тринадцатый VIII

NikL
8. Видящий смерть
Фантастика:
фэнтези
попаданцы
аниме
5.00
рейтинг книги
Тринадцатый VIII

Черный маг императора

Герда Александр
1. Черный маг императора
Фантастика:
юмористическая фантастика
попаданцы
аниме
5.00
рейтинг книги
Черный маг императора

Революция

Валериев Игорь
9. Ермак
Фантастика:
боевая фантастика
попаданцы
альтернативная история
5.00
рейтинг книги
Революция

Переиграть войну! Пенталогия

Рыбаков Артем Олегович
Переиграть войну!
Фантастика:
героическая фантастика
альтернативная история
8.25
рейтинг книги
Переиграть войну! Пенталогия

Золушка вне правил

Шах Ольга
Любовные романы:
любовно-фантастические романы
6.83
рейтинг книги
Золушка вне правил

На границе империй. Том 7. Часть 4

INDIGO
Вселенная EVE Online
Фантастика:
боевая фантастика
космическая фантастика
5.00
рейтинг книги
На границе империй. Том 7. Часть 4

Петля, Кадетский корпус. Книга третья

Алексеев Евгений Артемович
3. Петля
Фантастика:
боевая фантастика
попаданцы
аниме
5.00
рейтинг книги
Петля, Кадетский корпус. Книга третья

Я все еще барон

Дрейк Сириус
4. Дорогой барон!
Фантастика:
боевая фантастика
5.00
рейтинг книги
Я все еще барон

Проданная Истинная. Месть по-драконьи

Белова Екатерина
Любовные романы:
любовно-фантастические романы
5.00
рейтинг книги
Проданная Истинная. Месть по-драконьи

Диверсант

Вайс Александр
2. Фронтир
Фантастика:
боевая фантастика
космическая фантастика
5.00
рейтинг книги
Диверсант

Отмороженный 9.0

Гарцевич Евгений Александрович
9. Отмороженный
Фантастика:
боевая фантастика
рпг
5.00
рейтинг книги
Отмороженный 9.0