Чтение онлайн

на главную - закладки

Жанры

Шрифт:

Каменная засыпка

Для каменной засыпки лучше всего подходят природные булыжники, закаленные солнцем и водой, а также камни, имеющие вулканическое происхождение (базальт, гранит и др.). Но можно использовать и камни из кремнистых пород, которые встречаются на берегах естественных водоемов.

Основными критериями для отбора камней должны быть следующие: гладкая ровная поверхность, соответствующие размеры (не менее 10–15 см в диаметре), большая плотность, способность выдерживать высокие температуры, сохранять тепло и не трескаться при контакте с холодной водой.

Крупные камни следует укладывать вниз, а более мелкие – наверх. Чтобы баня нагревалась быстрее, между камнями надо расположить вертикально чугунные чурки или стальные болванки.

Вместо природных камней можно использовать куски битой керамики, фарфора или пережженного кирпича.

Правила противопожарной безопасности

Для того чтобы пользование баней доставляло вам только удовольствие, а не являлось источником больших неприятностей, в процессе ее эксплуатации необходимо соблюдать следующие меры противопожарной безопасности.

Деревянные и другие легковозгораемые части бани должны быть изолированы или находиться на значительном расстоянии от горячих частей печи и дымохода. В качестве изоляторов необходимо использовать материалы несгораемые или с низкой теплопроводностью.

Если печь-каменка с толстыми стенками выкладывается на сгораемом основании, то расстояние от пола до дна зольника должно быть не менее 14 см, а до дна дымооборотов – 21 см. У той же печи на несгораемом основании дно зольника и все дымообороты могут находиться на уровне пола.

Каркасные тонкостенные печки должны отделяться от деревянного пола асбестовым картоном толщиной 12 мм и набитой поверх него кровельной сталью. Металлические печи устанавливаются на основание, состоящее из двух рядов кирпичей, лежащих на двойном слое пропитанного глиняным раствором войлока. На полу у топочной дверцы прибивают металлический лист, предохраняющий пол от выпавших из печи углей.

Между печью и деревянной стеной или перегородкой обязательно должен быть зазор в 13 см, а между ближайшим дымооборотом и стеной – 25 см. Зазор между печью и стеной закладывается кирпичом.

Сгораемую стену вокруг топочной дверцы надо оштукатурить или обить кровельной сталью, под которую подкладывается войлок, пропитанный глиняным раствором. Расстояние от топочной дверцы до противоположной стены должно быть не меньше 1,5 м.

Расстояние от сгораемого потолка до верхних перекрытий теплоемкой печи должно быть 35 см для печей с массой более 750 кг и 45 см для печей с массой менее 750 кг. То же расстояние для нетеплоемкой печи должно составлять 1 м. Дымовая труба и дымовые каналы должны отстоять от стропил, обрешетки, металлических и железобетонных балок не менее чем на 13 см, а от деревянных балок – на 25 см.

Крыша в местах соприкосновения с дымовой трубой покрывается железом или кровельной сталью.

Следует своевременно заделывать трещины на печи и дымоходе, а также прочищать дымовые каналы от скопившейся в них сажи.

Электроприборы

При установке в бане электронагревательных и осветительных приборов необходимо помнить о том, что их токопроводящие части должны иметь водонепроницаемую защиту, а металлические быть занулены специальным третьим проводом, подключенным к вводному ящику или квартирному щитку.

При подключении электроприборов используются гибкий кабель ВРГ и АВРГ с резиновой изоляцией и следующие типы проводов: ПРН, АПРН, ПРВД с двойной изоляцией; одножильные АПВ и ПВ; двух– и трехжильные АППВ и ППВ. Желательно, чтобы все провода были заключены в изоляционные трубки.

Порядок крепления проводов и кабелей показан на рис. 66. В деревянной бане под провода подкладывается асбестовая полоска так, чтобы она вы-ступала на 10–15 мм с каждой стороны. Асбестовая прокладка используется и при скрытой проводке.

Рис. 66. Крепление проводов и кабелей: а – крепление проводов марок ППП, АППП, АППР с разделительным основанием к деревянному основанию в сухом помещении; б – крепление проводов марок ПВ, АПВ, ПРН, АПРН, ПРВД в изоляционной трубе во влажном помещении к деревянному основанию; в – крепление кабеля к негорючему основанию; 1 – провод; 2 – гвозди диаметром 1,4–1,8 мм, со шляпками до 3 мм; 3 – прокладка из листового асбеста толщиной не менее 3 мм; 4 – изоляционная трубка; 5 – металлическая лента; 6 – кабель; 7 – ролик; 8 – тесьма или шпагат

При пропускании проводов через стены используются электромонтажные трубки ХВТ, фарфоровые воронки (снаружи стены) и фарфоровые втулки ВТК (изнутри).

Штепсельные розетки и выключатели можно устанавливать только в предбаннике.

Светильник в моечной и парной должен быть выполнен из изолирующего материала и иметь патрон с высоким кольцом. При установке патрон надо заглубить. Двухпроводный ввод в баню делается с помощью стальной трубы (водо– или газопроводной), окрашенной снаружи и изнутри битумным лаком. Чтобы в трубу не попала влага, верхний конец у нее надо загнуть, а на нижнем просверлить отверстие для выхода конденсата.

В кирпичную стену труба заделывается с небольшим уклоном, чтобы в случае падения она оказалась на земле, а не на крыше. К стене труба прикрепляется стальными хомутами, а к крыше ее верхний конец – стальной проволокой диаметром 5 мм.

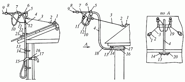
Порядок выполнения ввода подробно показан на рис. 67. Провода ввода следует прикреплять только к концам проводов ответвления во избежание повреждений при нарушении контакта или перегрузках.

Рис. 67. Устройство вводов: а – ввод в каркасно-щитовую баню; б – ввод в кирпичную и бетонную баню; в – крепление трубостойки оттяжками; 1 – болт М10 с гайками и шайбами; 2 – лапка; 3 – оттяжка; 4 – трубостойка; 5 – изолятор; 6 – вязальная проволока; 7 – зажим; 8 – ответвительный зажим; 9 – провод воздушной линии; 10 – провод ввода; 11 – заземляющий проводник; 12 – заземляющий болт М10; 13 – шурупы; 14 – скобы; 15 – фарфоровая воронка; 16 – изоляционная трубка; 17 – фарфоровая втулка; 18 – отверстие диаметром 5 мм для стока конденсата; 19 – траверса; 20 – деревянная подкладка; 21 – металлическая подкладка; 22 – опорное кольцо

Поделиться:
Популярные книги

Убивать чтобы жить 4

Бор Жорж
4. УЧЖ
Фантастика:
боевая фантастика
рпг
5.00
рейтинг книги
Убивать чтобы жить 4

Третий. Том 2

INDIGO
2. Отпуск
Фантастика:
космическая фантастика
попаданцы
5.00
рейтинг книги
Третий. Том 2

Двойник короля 19

Скабер Артемий
19. Двойник Короля
Фантастика:
аниме
фэнтези
попаданцы
5.00
рейтинг книги
Двойник короля 19

Отверженный. Дилогия

Опсокополос Алексис
Отверженный
Фантастика:
фэнтези
7.51
рейтинг книги
Отверженный. Дилогия

Дракон - не подарок

Суббота Светлана
2. Королевская академия Драко
Фантастика:
фэнтези
6.74
рейтинг книги
Дракон - не подарок

Зайти и выйти

Суконкин Алексей
Проза:
военная проза
5.00
рейтинг книги
Зайти и выйти

Медиум

Злобин Михаил
1. О чем молчат могилы
Фантастика:
фэнтези
7.90
рейтинг книги
Медиум

Воин

Бубела Олег Николаевич
2. Совсем не герой
Фантастика:
фэнтези
попаданцы
9.25
рейтинг книги
Воин

Двойник короля 16

Скабер Артемий
16. Двойник Короля
Фантастика:
аниме
фэнтези
попаданцы
5.00
рейтинг книги
Двойник короля 16

Кодекс Охотника. Книга XXXV

Винокуров Юрий
35. Кодекс Охотника
Фантастика:
аниме
фэнтези
попаданцы
5.00
рейтинг книги
Кодекс Охотника. Книга XXXV

Запечатанный во тьме. Том 3

NikL
3. Хроники Арнея
Фантастика:
уся
эпическая фантастика
фэнтези
5.00
рейтинг книги
Запечатанный во тьме. Том 3

Чиновникъ Особых поручений

Кулаков Алексей Иванович
6. Александр Агренев
Фантастика:
попаданцы
альтернативная история
5.00
рейтинг книги
Чиновникъ Особых поручений

Точка Бифуркации V

Смит Дейлор
5. ТБ
Фантастика:
фэнтези
попаданцы
аниме
5.00
рейтинг книги
Точка Бифуркации V

Первый среди равных. Книга V

Бор Жорж
5. Первый среди Равных
Фантастика:
попаданцы
аниме
фэнтези
5.00
рейтинг книги
Первый среди равных. Книга V