Чтение онлайн

на главную

Жанры

Шрифт:

Рис. 75. Изгибание труб в трубогибном устройстве: 1 – изгибаемая труба; 2 – образец изгиба

Во избежание трещин, смятия и прочих деформаций трубу перед нагревом набивают чистым сухим речным песком и начинают гнуть только после того, как он полностью прокалится. Нагревая трубу, будьте осторожны, чтобы не перекалить ее. Оцинкованные трубы изгибают только в «холодном» состоянии.

Монтаж водопровода

На время подготовительные операции можно считать законченными. Резьбовыми соединениями и их изготовлением еще предстоит заняться, но несколько позднее, когда заготовленные вами отдельные составные части будущей системы будут лежать вдоль стен: как правило, в этот момент и выясняется разница между планами на бумаге и суровой реальностью; отдельные участки оказываются все же немного длиннее или короче, чем вам бы того хотелось. Вот тогда этот люфт между реальным и желаемым положением вещей и помогут скорректировать сгоны различной длины (сколько и каких сгонов нужно приготовить, подскажет проверка «на местности»).

Сначала нужно провести черновой монтаж трубопроводов без нарезания резьбы, в соответствии с составленным планом. Когда система будет вчерне готова, можно задуматься и о сгонах. Для труб диаметром 15 и 20 мм стандартная длина сгона составляет 110 мм. Разъемное соединение труб диаметром 25 или 32 мм подразумевает сгон длиной 130 мм, и, наконец, сгон длиной 1500 мм нужен для соединения труб с диаметром от 35 до 50 мм.

Вооружайтесь карандашом, линейкой и записной книжкой: предстоит проверить, все ли участки допускают установку сгонов указанной длины.

И самое важное. Производя замеры, не забывайте об уклоне! Иначе есть шанс совершить ошибку с длиной того или иного участка. Напомним, что величина уклона – 3–4 мм на метр длины по направлению движения воды. Для контроля уклона неплохо заранее изготовить контрольную линейку.

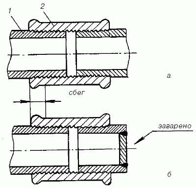
Соединяем систему. Вам, конечно же, известна разница между короткой и длинной резьбой. Вы знаете, что соединения труб с помощью муфты и короткой резьбы могут применяться только для того, чтобы «связать» достаточно длинную нитку трубопровода без возможности демонтажа в будущем. Это связано с особенностями самого соединения, которые, кстати, следует соблюдать и при самостоятельном нарезании резьбы (рис. 76).

Рис. 76. Резьбовые соединения с короткой резьбой и прямой муфтой: а – составление нитки трубопровода: 1 – конец трубы с короткой резьбой; 2 – муфта; б – установка временной заглушки

Диаметр резьбы на последних витках больше, чем на остальной резьбе, т. е. последние нитки короткой резьбы должны иметь меньшую глубину для надежного запирания.

Витки резьбы меньшей глубины называются сбегом.

Соединять трубы следует в определенной последовательности: сначала на резьбу одной из труб по часовой стрелке, если смотреть со стороны торца и отступив на одну-две нитки от начала резьбы, наматывается уплотнитель (лента ФУМ или льняная прядь с пропиткой).

Затем на уплотнитель наворачивается муфта до ее заклинивания на сбеге, а уже после этого в муфту вкручивается резьба второй трубы (рассматриваемая последовательность справедлива также в отношении угольников и тройников). При этом следует соблюдать правильное приложение усилия к рукоятке трубного ключа – за подсказкой обратитесь к насечке на его губках; она должна «вгрызаться» в трубу, а не проскальзывать по ней.

Первые витки резьбы оставляют без уплотнения из соображений удобства – так легче «поймать» конец трубы внутренней резьбой муфты.

Поскольку разбирать это соединение в будущем вам вряд ли придется – для этого нужно было бы вращать один участок трубопровода относительно другого, что практически нереально сделать в собранной разводке, – допустимо промазывание прядей уплотнителя масляной краской для более надежной изоляции.

Повторим: вышеописанное соединение подходит только для «связывания» трубопровода, да еще для установки временных заглушек. Короткие резьбы соединяемых труб, утопленные в муфте, не предполагают возможности демонтажа в будущем. Во всех остальных случаях резьбовые соединения должны производиться с использованием сгонов.

Без сгона, как отдельного элемента, в ряде случаев можно и обойтись, просто нарезав более длинную резьбу на конце одной из соединяемых труб (рекомендуемая длина сгона для полудюймовых труб составляет 90–100 мм). К моменту соединения (рис. 77) на длинной резьбе сгона или трубы уже должны быть навинчены и контргайка, и муфта.

Рис. 77. Разборное резьбовое соединение при помощи сгона: 1 – контргайка; 2 – уплотнение между муфтой и контргайкой; 3 – уплотнитель на короткой резьбе со сбегом

Намотав на короткую резьбу уплотнитель, начинайте осторожно «сгонять» муфту с длинной резьбы, накручивая ее одновременно на короткую. Когда муфта заклинится на сбеге, ее поджимают контргайкой, предварительно заполнив зазор между ними туго намотанным уплотнителем (наматывается в сторону вращения контргайки при ее затягивании). Навинчиваясь на пряди уплотнителя, контргайка загонит часть уплотнителя в фаску муфты, и соединению будет обеспечена герметичность.

Собрав отдельные участки трубопровода, их размещают по месту «постоянной прописки»: навешивают на крепления, прокладывают под полом и т. д. Наилучшим вариантом будет установка собранного трубопровода на металлические опоры с некоторым приподниманием его над землей.

Монтаж канализационной сети

Внутренняя сеть канализации предназначена для отвода сточных вод в стояк или стояки – вертикальные участки внутренней канализации, имеющие вывод в наружный канализационный трубопровод.

Во избежание разряжения в канализационных трубах и обратного тока сточных вод стояк канализации не должен иметь глухого верхнего конца: вертикальная труба выводится на чердак или даже на крышу. Кроме того, желательно иметь отдельную ревизию на каждом участке трубопровода, чтобы в случае засорения какого-нибудь «узкого места» не возникало проблем с прочисткой.

Поделиться:
Популярные книги

Хозяин оков VI

Матисов Павел
6. Хозяин Оков
Фантастика:
фэнтези
попаданцы
гаремник
5.00
рейтинг книги
Хозяин оков VI

Черный дембель. Часть 1

Федин Андрей Анатольевич
1. Черный дембель
Фантастика:
попаданцы
альтернативная история
5.00
рейтинг книги
Черный дембель. Часть 1

Золото Советского Союза: назад в 1975. Книга 2

Майоров Сергей
2. Золото Советского Союза
Фантастика:
попаданцы
альтернативная история
5.00
рейтинг книги
Золото Советского Союза: назад в 1975. Книга 2

Орден Архитекторов 12

Винокуров Юрий
12. Орден Архитекторов
Фантастика:
фэнтези
5.00
рейтинг книги
Орден Архитекторов 12

Я все еще барон

Дрейк Сириус
4. Дорогой барон!
Фантастика:
боевая фантастика
5.00
рейтинг книги
Я все еще барон

Глава рода

Шелег Дмитрий Витальевич
5. Живой лёд
Фантастика:
боевая фантастика
6.55
рейтинг книги
Глава рода

Наследник старого рода

Шелег Дмитрий Витальевич
1. Живой лёд
Фантастика:
фэнтези
8.19
рейтинг книги
Наследник старого рода

Телохранитель Генсека. Том 1

Алмазный Петр
1. Медведев
Фантастика:
попаданцы
альтернативная история
7.00
рейтинг книги
Телохранитель Генсека. Том 1

Моя простая курортная жизнь

Блум М.
1. Моя простая курортная жизнь
Проза:
современная проза
5.00
рейтинг книги
Моя простая курортная жизнь

Эволюционер из трущоб. Том 6

Панарин Антон
6. Эволюционер из трущоб
Фантастика:
попаданцы
аниме
фэнтези
5.00
рейтинг книги
Эволюционер из трущоб. Том 6

Последний Паладин. Том 9

Саваровский Роман
9. Путь Паладина
Фантастика:
попаданцы
аниме
фэнтези
5.00
рейтинг книги
Последний Паладин. Том 9

Мастер...

Чащин Валерий
1. Мастер
Фантастика:
героическая фантастика
попаданцы
аниме
6.50
рейтинг книги
Мастер...

Треск штанов

Ланцов Михаил Алексеевич
6. Сын Петра
Фантастика:
попаданцы
альтернативная история
5.00
рейтинг книги
Треск штанов

Локки 9. Потомок бога

Решетов Евгений Валерьевич
9. Локки
Фантастика:
фэнтези
попаданцы
героическая фантастика
боевая фантастика
5.00
рейтинг книги
Локки 9. Потомок бога