Чтение онлайн

на главную - закладки

Жанры

Шрифт:

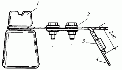
Если вместо провода используется кабель, проложенный на тросу, сечение жил медного кабеля не должно быть меньше 2,5 мм2, алюминиевого кабеля – 4 мм2. Провода ответвления располагаются на высоте не менее 6 м от земли над проезжей частью и не менее 3,5 м над тротуарами и внутри дворов. В местах подхода к изолятору ввода в здание ответвление снижается до 2,75 м.

На участках, расположенных около зданий, расстояние от провода, соединяющего опору с вводом, до балкона или окна не должно быть меньше 1,5 м. Располагать провода наружной электропроводки необходимо таким образом, чтобы прикоснуться к ним было невозможно. Особенно это необходимо учитывать в том случае, когда провода прокладываются открыто по стенам здания. При горизонтальной прокладке от провода, идущего над балконом или крыльцом, должно быть не менее 2,5 м; проходящего над окном – не менее 0,5 м; под балконом или под окном (считая от подоконника) – не менее 1 м. Если прокладка выполнена вертикально, от провода до окна должно быть не менее 0,75 м; до балкона – не менее 1,0 м.

Кроме проводов, ответвление от воздушной линии может быть выполнено кабелем. По опоре воздушной линии кабель в этом случае спускают к земле и укладывают в траншею. Участок спуска кабеля на расстоянии до 2 м от земли должен быть надежно защищен от случайных механических повреждений металлической трубой или какой-нибудь другой защитной конструкцией. Для вводов в здание применяются только изолированные провода. Как правило, ввод линии электропередачи в здание производится через стену.

Преимущества этого способа ввода налицо: легкая доступность для обслуживания, простота исполнения, несложность контроля за состоянием. Провода ответвления закрепляются на установленных на крюках изоляторах.

В рубленые стены крюки изоляторов ввинчивают в подготовленные отверстия диаметром и глубиной чуть меньше соответствующих размеров крюка. В кирпичных или бетонных стенах каждый крюк устанавливается в пробитое отверстие глубиной 10 см и диаметром в 2,5 раза больше диаметра самого крюка и закрепляется цементным раствором (рис. 59). Раствор должен затвердеть прежде, чем изолятор окажется под действием веса проводов. На все остальные типы стен (каркасно-засыпные, дощатые и т. п.) крюки устанавливают на деревянном брусе толщиной не менее 6–7 см, а уже сам брус привинчивают к стене.

Рис. 59. Установка крюков и изоляторов: 1 – цементный раствор; 2 – проволока; 3 – крюк; 4 – изолятор; 5 – вязка; 6 – провод для присоединения ввода

При этом необходимо проконтролировать, чтобы независимо от угла между стеной и проводами расстояние от токонесущего провода до выступающих частей здания, а также расстояние между проводами было не меньше 0,2 м. Провод ввода ни в коем случае нельзя присоединять непосредственно к натянутому проводу ответвления, это может вызвать обрыв проводов ответвления. Специально для подключения провода ввода к проводу ответвления концевое крепление последнего производят таким образом, чтобы конец провода ответвления составлял не менее 0,2 м. Провода прочно соединяются при помощи зажима ОАС (рис. 60). Концевое крепление алюминиевого многопроволочного провода ответвления марки А-25–А-50 осуществляется плашечными зажимами типа ПАБ. Возможно применение для этой цели бандажной вязки. При этом длина забандажированного участка провода должна составлять 75 мм, бандаж – надежно закрепляться на проводе ответвления со стороны изолятора 6 витками, со стороны подходящего к изолятору участка провода 109 витками (рис. 61).

Рис. 60. Крепление провода к изолятору зажимом: 1 – изолятор; 2 – зажим ПАБ; 3 – зажим ОАС; 4 – провод ввода

Рис. 61. Крепление провода к изолятору вязкой: 1 – изолятор; 2 – вязка; 3 – зажим ОАС; 4 – провод ввода

Проход проводов сквозь стену должен располагаться ниже изоляторов, но на расстоянии от земли, не превышающем минимальную высоту, разрешенную для ввода (2,75 м). Каждый из изолированных проводов ввода помещают в отдельную резиновую или пластмассовую изоляционную трубку. С наружной стороны здания на концы трубок помещают фарфоровые воронки. Расстояние между проводами в кирпичных стенах должно быть не менее 50 мм, в деревянных – не менее 100 мм.

Внутри здания на концы трубок помещаются втулки, а отверстия в стене заделываются алебастровым или цементным раствором. Чтобы вода не скапливалась в отверстиях внутри стены, не попадала в фарфоровые воронки и резиновые трубки и не проходила внутрь здания, проходы сквозь стены выполняются с уклоном в наружную сторону. С той же целью входные отверстия воронок и втулок после прокладки проводов заливают битумом или другой плавкой изоляционной массой. Для ввода используется медный или алюминиевый кабель либо изолированный провод в негорючей оболочке. При этом сечение провода или кабеля должно быть не меньше 2,5 мм2 для алюминия и 4 мм2 для меди.

В тех случаях, когда высота дома не соответствует габариту ввода, установленному Правилами устройства электроустановок, ввод провода в здание выполняют через трубостойку – стальную трубу с загнутым вниз верхним концом, снабженную приемными изоляторами, которые должны располагаться ниже изгиба и не ближе чем в 30 см друг от друга. По способу прохода внутрь здания и закрепления трубостойки делят на типа – ввод трубостойкой через стену и ввод трубостойкой через крышу. Наиболее удобен ввод трубостойкой через стену.

Нижний горизонтальный конец трубы при этом должен быть укреплен в смете с уклоном 5° в наружную сторону, а в нижней точке изгиба трубы просверливают отверстие диаметром 5 мм для выхода конденсационной влаги. Однако случается, что высота строения оказывается недостаточной для применения этого типа ввода. Если расстояние от поверхности земли до нижней точки трубостойки, устанавливаемой на стене, менее 2 м, от этого способа необходимо отказаться. В таких случаях применяют ввод трубостойкой через крышу. Этот способ менее удобен, так как приходится обращать особое внимание на качество монтажа прохода через кровлю, чтобы обеспечить его надежную гидроизоляцию. Большие трудности представляет и закрепление трубостойки на крыше, которое производится в этом случае с помощью растяжек.

Для изготовления трубостоек применяют водогазопроводные трубы диаметром не менее 20 мм (при вводе двух проводов) или 32 мм (при вводе четырех проводов), что продиктовано условиями их механической прочности. Чтобы в верхний конец трубостойки не попадала вода во время дождя, его загибают в обратную сторону (вниз) на 180°. Под изгибом к трубе приваривают траверсу из стального уголка сечением 45 х 45 х 5 и длиной 50 см.

К уголку приваривают два вертикальных штыря для установки вводных изоляторов. Для осуществления зануления (путем соединения металлической трубы с нулевой жилой) к трубостойке вблизи от изоляторов ввода приваривают небольшой металлический болт.

Для предохранения от коррозии его обильно смазывают техническим вазелином. Чтобы не повредить изоляцию проводов, острые края труб обрабатывают напильником. Для компенсации усилия на трубостойку от натяжения проводов ответвления от воздушной линии применяют оттяжку, которую закрепляют специально приваренными для этой цели на трубостойке, ближе к верхнему изгибу, кольцом или гайкой. Внутренняя поверхность трубостойки должна быть окрашена. Провод протягивается через трубостойку после ее монтажа и установки, поэтому в трубостойке перед установкой протягивают стальную проволоку для дальнейшего затягивания проводов. Двумя оттяжками из круглой стали диаметром 5 мм верхний конец трубостойки надежно крепят к стропилам крыши или к стене.

Поделиться:
Популярные книги

Войны Наследников

Тарс Элиан
9. Десять Принцев Российской Империи
Фантастика:
городское фэнтези
попаданцы
аниме
5.00
рейтинг книги
Войны Наследников

Петля, Кадетский Корпус. Книга пятая

Алексеев Евгений Артемович
5. Петля
Фантастика:
боевая фантастика
попаданцы
аниме
5.00
рейтинг книги
Петля, Кадетский Корпус. Книга пятая

Вперед в прошлое 11

Ратманов Денис
11. Вперед в прошлое
Фантастика:
попаданцы
альтернативная история
5.00
рейтинг книги
Вперед в прошлое 11

Монстр из прошлого тысячелетия

Еслер Андрей
5. Соприкосновение миров
Фантастика:
попаданцы
аниме
фэнтези
5.00
рейтинг книги
Монстр из прошлого тысячелетия

Кай из рода красных драконов

Бэд Кристиан
1. Красная кость
Фантастика:
попаданцы
альтернативная история
5.00
рейтинг книги
Кай из рода красных драконов

Тринадцатый V

NikL
5. Видящий смерть
Фантастика:
фэнтези
попаданцы
аниме
5.00
рейтинг книги
Тринадцатый V

Стеллар. Трибут

Прокофьев Роман Юрьевич
2. Стеллар
Фантастика:
боевая фантастика
рпг
8.75
рейтинг книги
Стеллар. Трибут

На границе империй. Том 9. Часть 5

INDIGO
18. Фортуна дама переменчивая
Фантастика:
космическая фантастика
попаданцы
5.00
рейтинг книги
На границе империй. Том 9. Часть 5

Император Пограничья 7

Астахов Евгений Евгеньевич
7. Император Пограничья
Фантастика:
аниме
фэнтези
попаданцы
5.00
рейтинг книги
Император Пограничья 7

Романов. Том 1 и Том 2

Кощеев Владимир
1. Романов
Фантастика:
фэнтези
попаданцы
альтернативная история
5.25
рейтинг книги
Романов. Том 1 и Том 2

Третий Генерал: Тома I-II

Зот Бакалавр
1. Третий Генерал
Фантастика:
городское фэнтези
попаданцы
аниме
сказочная фантастика
5.00
рейтинг книги
Третий Генерал: Тома I-II

Как я строил магическую империю 4

Зубов Константин
4. Как я строил магическую империю
Фантастика:
боевая фантастика
постапокалипсис
аниме
фантастика: прочее
фэнтези
5.00
рейтинг книги
Как я строил магическую империю 4

Миллионщик

Шимохин Дмитрий
3. Подкидыш
Фантастика:
попаданцы
альтернативная история
5.00
рейтинг книги
Миллионщик

Виконт. Книга 4. Колонист

Юллем Евгений
Псевдоним `Испанец`
Фантастика:
фэнтези
попаданцы
аниме
7.50
рейтинг книги
Виконт. Книга 4. Колонист