Чтение онлайн

на главную - закладки

Жанры

Шрифт:

Для того чтобы черепичная кровля не продувалась ветром, все горизонтальные межчерепичные швы со стороны чердака промазывают глиной, известково-песчаным раствором, смешанным с соломенной резкой, или раствором из цемента, известки с небольшим добавлением волокнистых материалов (пакли, пеньки).

Конек крыши и ребра покрываются коньковой желобчатой черепицей. На коньке она укладывается в том же направлении, что и на скате, а на ребрах – всегда снизу вверх. Место соединения ребер с коньком заделывается кровельной розеткой из оцинкованной стали и цементным раствором. Желобчатая черепица укладывается на растворе и крепится проволокой, один конец которой вдевается в ушко, а другой привязывается к гвоздю, вбитому в обрешетину.

Деревянная кровля

Древесина – не лучший, хотя и дешевый, материал для кровли, так как она часто ломается, рассыхается, загнивает или сгорает. Но если правильно за ней ухаживать, деревянная кровля может прослужить около 15 лет. Кроме того, деревянные кровли легки, просты в устройстве, а в местностях, где поблизости имеется лес и приобрести материал не составляет особых проблем, еще и экономичны. Такой вид кровли очень хорошо зарекомендовал себя при постройке небольших садовых домиков. Уклон деревянной кровли составляет 28–45°.

Обрешетка выполняется из брусков сечением 50 х 50 мм или жердей диаметром 60–70 мм, обтесанных на два канта. Карниз кровли и верхняя приконьковая часть выкладываются из укороченных материалов, а рядовое покрытие – из полномерных.

Тесовая кровля может быть одно– и двухслойной (чаще двухслойной). Доски для нее заготавливают прямые, ровные, без сучков и гнилых мест. Лучшее покрытие получается из строганых досок хвойных пород дерева толщиной 19–25 мм. Для того чтобы они служили дольше, их предварительно обрабатывают антисептиком, а готовую кровлю каждые 3–4 года покрывают двумя слоями масляной водостойкой краски любого цвета.

Как известно, усыхание древесины может привести к образованию многочисленных трещин на ее поверхности. Чтобы этого не случилось, доски нижнего ряда покрытия необходимо укладывать выпуклостью годовых колец вверх, а верхнего ряда – вниз.

Доски кладутся перпендикулярно к коньку. При двухслойной кровле первый и второй слои досок ставят впритык, не оставляя зазоров (рис. 39, а). При однослойном покрытии доски кладут вразбежку: первый ряд – с зазором, который затем перекрывается досками второго ряда (рис. 39, б).

Рис. 39. Тесовая кровля: а – двухслойная; б – крытая вразбежку

Для прикрепления нижних досок к обрешетке в их середину вбивается гвоздь длиной 70 мм, а для прикрепления верхних по краям вбивается два гвоздя длиной 100 мм. Конек и ребра перекрываются досками толщиной 25 мм, а швы между досками – специальными нащельниками. Для придания кровле особой декоративности доски можно располагать параллельно коньку, соединяя их внахлестку и располагая выпуклостью годовых колец вниз.

Кровля из стружки. Обрешетка делается точно так же, как под кровлю из драни. Карниз и приконьковая часть выполняются из укороченного материала, а рядовое покрытие – из полномерного. Кровли для жилых домов обычно делают четырех– или пятислойными, для хозяйственных построек – трехслойными. При трехслойном покрытии каждый по-следующий ряд перекрывает предыдущий на 2/3 длины стружки, при четырехслойном – на 3/4 и при пятислойном – на 4/5.

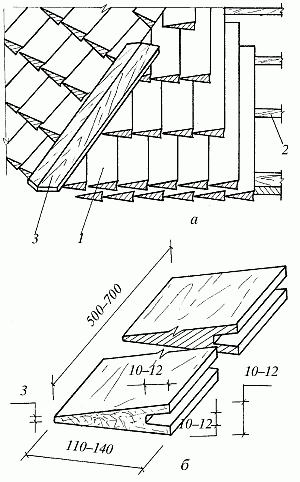
Гонтовая кровля – это самая дорогая и трудоемкая среди всех деревянных покрытий, но ее несомненными преимуществами являются прочность, долговечность и эстетичность (рис. 40). Гонтовое покрытие отличается меньшей массой по сравнению с шиферной или черепичной, поэтому под него можно выбрать более легкую конструкцию кровли. Под гонтовое покрытие не рекомендуется подкладывать какой-либо рулонный материал в качестве гидроизоляции, так как он препятствует вентиляции гонта, вызывая его загнивание. Уклон гонтовой кровли – 30–50°. Обрешетка под кровлю делается из жердей и брусков сечением 50 х 50 мм, с шагом, равным одной трети длины гонта. Чаще всего гонт изготавливается из древесины хвойных пород, а также дуба или бука ручной колкой или распиливанием. Первый способ предпочтительнее, так как материал, полученный при распиливании, имеет шероховатую поверхность, впитывающую большее количество влаги, чем колотый. Лучшим считается колотый гонт из прямоствольной смолистой сосны.

Рис. 40. Гонтовая кровля: а – общий вид; б – гонтина; 1 – гонт; 2 – обрешетка; 3 – доски

Для того чтобы заготовить гонт самостоятельно, необходимо взять бревна диаметром 300–400 мм, распилить их на куски длиной 400 мм, каждый кусок расколоть топором на 3–4 плахи толщиной 80–100 мм и каждую плаху с помощью колющего лезвия и колотушки расколоть на гонт толщиной 8–10 мм. Для этого плаха вставляется в тиски, сверху на нее наставляется лезвие, по которому наносятся короткие и жесткие удары колотушкой. Полученный гонт можно использовать сразу, пропитав его предварительно антисептиком.

Гонтовые кровли обычно бывают трехслойными. В каждом ряду острые края гонтин должны плотно входить в пазы на утолщенном ребре соседних гонтин, а вышележащие гонтины должны перекрывать стыки между ними. Причем чем меньше угол уклона, тем больше гонты должны перекрывать друг друга. Минимальное перекрытие составляет половину длины гонта. Каждая гонтина в верхней своей части прибивается к основанию кровли, так чтобы гвоздь входил в обрешетку не менее чем на 20–25 мм.

Вдоль свеса кровли прибивается доска, толщина которой должна равняться толщине гонта, на коньке гонт соединяется впритык.

Кровля из рулонных материалов

Кровли из рулонных материалов легки, экономичны и в том случае, когда они выполняются с соблюдением всех технологических требований, достаточно надежны. К их недостаткам можно отнести малую огнестойкость, небольшую механическую прочность и неэстетичность, поэтому чаще всего их используют при строительстве хозяйственных зданий.

Кровли из рулонных материалов представляют собой гибкий изоляционный ковер, который настилается насухо или наклеивается на основание при помощи горячих и холодных мастик. Рулонные кровли выполняются одно-, двух– или трехслойными (чаще двухслойными). В толевых кровлях оба слоя делаются из толя, в рубероидных – нижний слой делается из пергамина или подкладочного рубероида. Как правило, такой вид кровли применяется на пологих скатах, уклон которых не превышает 12°.

Основание под кровлю может быть одно– или двухслойным. Последнее предпочтительнее. Однослойное сплошное основание делается из досок толщиной 25 и шириной 90–120 мм. Первый, несущий, слой двухслойного основания выполняется из досок толщиной 25 и шириной 100–120 мм, уложенных с зазором 45–50 мм. Второй, выравнивающий, выполняется из досок толщиной 15–20 мм и шириной 80–100 мм, уложенных вплотную друг к другу под углом 45° к карнизу.

Для того чтобы кровельный материал при работе не скатывался, предварительно его надо подержать некоторое время в раскатанном виде или перемотать в рулон обратной стороной. При покрытии насухо рулонный материал настилается в два слоя: один слой – вдоль карниза, другой – перпендикулярно к нему. Каждый уложенный ряд по краям прибивается гвоздями. Окончательное крепление покрытия осуществляется с помощью реек сечением 30 х 30 мм, прибитых перпендикулярно к карнизу.

Поделиться:
Популярные книги

Кодекс Крови. Книга I

Борзых М.
1. РОС: Кодекс Крови
Фантастика:
фэнтези
попаданцы
аниме
5.00
рейтинг книги
Кодекс Крови. Книга I

Дочь моего друга

Тоцка Тала
2. Айдаровы
Любовные романы:
современные любовные романы
эро литература
5.00
рейтинг книги
Дочь моего друга

Имя нам Легион. Том 15

Дорничев Дмитрий
15. Меж двух миров
Фантастика:
боевая фантастика
рпг
аниме
5.00
рейтинг книги
Имя нам Легион. Том 15

Зодчий. Книга II

Погуляй Юрий Александрович
2. Зодчий Империи
Фантастика:
аниме
фэнтези
попаданцы
5.00
рейтинг книги
Зодчий. Книга II

Требую развода! Что значит- вы отказываетесь?

Мамлеева Наталья
Любовные романы:
любовно-фантастические романы
5.00
рейтинг книги
Требую развода! Что значит- вы отказываетесь?

Защитник

Кораблев Родион
11. Другая сторона
Фантастика:
боевая фантастика
попаданцы
рпг
5.00
рейтинг книги
Защитник

Сильнейший Столп Империи. Книга 5

Ермоленков Алексей
5. Сильнейший Столп Империи
Фантастика:
аниме
фэнтези
фантастика: прочее
попаданцы
5.00
рейтинг книги
Сильнейший Столп Империи. Книга 5

Вернуть невесту. Ловушка для попаданки 2

Ардова Алиса
2. Вернуть невесту
Любовные романы:
любовно-фантастические романы
7.88
рейтинг книги
Вернуть невесту. Ловушка для попаданки 2

Наследие Маозари 2

Панежин Евгений
2. Наследие Маозари
Фантастика:
попаданцы
рпг
аниме
5.00
рейтинг книги
Наследие Маозари 2

Воевода

Ланцов Михаил Алексеевич
5. Помещик
Фантастика:
альтернативная история
5.00
рейтинг книги
Воевода

Воплощение Похоти

Некрасов Игорь
1. Воплощение Похоти
Фантастика:
юмористическое фэнтези
попаданцы
рпг
аниме
5.00
рейтинг книги
Воплощение Похоти

Двойник короля 14

Скабер Артемий
14. Двойник Короля
Фантастика:
аниме
фэнтези
попаданцы
5.00
рейтинг книги
Двойник короля 14

Леший

Северский Андрей
1. Леший в "Городе гоблинов"
Фантастика:
рпг
5.00
рейтинг книги
Леший

На границе империй. Том 7. Часть 3

INDIGO
9. Фортуна дама переменчивая
Фантастика:
космическая фантастика
попаданцы
5.40
рейтинг книги
На границе империй. Том 7. Часть 3