Чтение онлайн

на главную - закладки

Жанры

Шрифт:

Вертикальность будущих рядов определена – причальные шнуры, натянутые между гвоздями (1–2) и (3–4), позволят вам контролировать прямолинейность вертикальных стыков при укладке плиток.

Для провески по горизонтали по углам на уровне нижнего ряда также с помощью гибкого уровня установите маячные плитки. По верхнему краю маячных плиток натяните шнур-причалку – он позволит в ходе облицовки контролировать прямолинейность горизонтальных стыков. Маячные плитки после завершения облицовки вырубите и замените плитками на растворе.

Перпендикулярность между вертикальной провеской и шнуром-причалкой проверьте при помощи угольника.

Стена для облицовки плиткой готова.

Разметка горизонтальной поверхности

Для начала проверьте горизонтальность поверхности, используя строительный уровень и двухметровую рейку. Отклонение поверхности от горизонтали не должно превышать 50 мм. Если отклонение больше предела, на полу уложите подушку из цементно-песчаного раствора, которая устранит наклон пола. После затвердения растворной подушки, приблизительно через сутки, можно приступать к дальнейшей разметке горизонтальной поверхности.

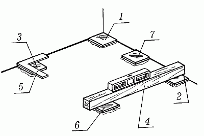
Теперь следует закрепить отметки уровня укладываемого пола по периметру стен: строительный уровень установите на рейку, добиваясь при этом положения воздушного пузырька на нулевом уровне, и на каждой стене проведите черту. Для постоянного контроля за горизонтальностью укладываемого пола в углах помещения на гипсовом растворе установите маячные плитки, выверив перпендикулярность двух смежных рядов по угольнику; если облицовываемая поверхность имеет большую площадь, то для удобства между угловыми маяками установите промежуточные маяки (рис. 49). По краям маячных плиток натяните шнур-причалку. Маячные плитки по окончании настилки всего пола мы удалите и замените плитками на растворе.

Рис. 49. Разметка горизонтальной поверхности и установка маяков: 1–3 – угловые маячные плитки; 4 – деревянная рейка; 5 – угольник; 6–7 – промежуточные маячные плитки

После разметки и установки маячных плиток поверхность пола обильно смочите водой и оставьте на 5–6 часов (к началу облицовочных работ пол должен остаться влажным, но без видимых скоплений воды). Эту операцию производите только в том случае, если укладка плиток осуществляется на цементно-песчаном растворе. При укладке плиток на мастике или клее поверхность должна быть абсолютно сухой.

Теперь к облицовке готов и пол.

Подготовка облицовочных плиток

Подготовку плиток одного размера начните с сортировки по тону и качеству: отличающиеся по тону следует укладывать в нижние ряды, а дефектные (со сколами, выбоинами, трещинами, дефектами глазурованного слоя) оставить на заготовку неполномерных плиток для укладки в углах. Затем с помощью линейки произведите разметку поверхности под облицовку (не забывая про толщину стыков), просчитайте количество целых плиток и количество и параметры неполномерных плиток для каждого ряда.

Раскрой неполномерных плиток производите плиткорезом или стекло-резом по глазурованной стороне, раскалывая их затем по линии надреза о деревянный брусок (рис. 50).

Рис. 50. Подготовка облицовочных плиток: 1 – раскрой облицовочных плиток; 2 – откалывание по надрезу

В том случае, если при облицовочных работах на вашем пути встретятся трубы, овальные вырезы под них у края плитки нужно выкусить кусачками или щипцами. Если же положение трубы таково, что она должна «пронзить» плитку, разрежьте плитку на две части по предполагаемому диаметру трубы и выкусите овальные отверстия у каждой половинки.

Образовавшиеся при резке острые края обработайте рашпилем или точильным бруском, по возможности придавая линии отреза форму кромки полномерной плитки.

При облицовке нередко используют плитки разного размера. В этом случае их вначале сортируют по размерам, а уже затем переходят к сортировке по тону, качеству и к раскрою плиток.

Теперь можно приступать к подготовке связующего звена – клеящей основы для облицовочных работ.

Приготовление растворов

Самый распространенный вид клеящей основы – растворная смесь. Для того чтобы растворные смеси, применяемые при облицовочных работах, полностью соответствовали своему назначению, они должны обладать определенными свойствами: плотностью, прочностью, водонепроницаемостью, морозо– и химической стойкостью (в отдельных случаях).

Эти свойства обуславливаются различными факторами.

Плотность растворной смеси определяется отношением веса раствора к его объему. Плотность цементно-песчаного раствора для облицовочных работ (для выравнивания местных неровностей, для укладки плиток, для заделки швов) должна быть около 1500 кг/м3, такой раствор считается тяжелым.

Прочность растворной смеси зависит от:

а) активности вяжущего: марки цемента, гипса и т. д.;

б) качества заполнителя: использование строительного песка повышает прочность раствора по сравнению с использованием пористых заполнителей (например, шлака) на 30–40%;

в) наличия посторонних примесей: присутствие в строительном песке, используемом в качестве заполнителя, различных вкраплений (например, известняковые зерна, обломки раковин) снижает прочность растворной смеси;

г) количества воды: недостаток водосвязующего делает растворную смесь жесткой, с ней очень тяжело работать; избыток приводит к ползучести раствора, к его расслоению, к тому же прочность такого раствора очень низка;

д) условий твердения: так, для твердения цементно-песчаного раствора нужно поддерживать влажность, в то время как гипсовые растворы требуют сухих условий твердения.

Водонепроницаемым раствор считается в том случае, если он пропускает такое количество воды, которое полностью испаряется с его поверхности (т. е. не оставляет мокрых пятен). Плотные, тяжелые растворы, которые применяются при облицовочных работах, как правило, являются водонепроницаемыми.

Поделиться:
Популярные книги

Московское золото или нежная попа комсомолки. Часть Вторая

Хренов Алексей
2. Летчик Леха
Фантастика:
попаданцы
5.00
рейтинг книги
Московское золото или нежная попа комсомолки. Часть Вторая

Воронцов. Перезагрузка. Книга 2

Тарасов Ник
2. Воронцов. Перезагрузка
Фантастика:
попаданцы
альтернативная история
фэнтези
5.00
рейтинг книги
Воронцов. Перезагрузка. Книга 2

Камень Книга седьмая

Минин Станислав
7. Камень
Фантастика:
фэнтези
боевая фантастика
6.22
рейтинг книги
Камень Книга седьмая

Ермак. Противостояние. Книга одиннадцатая

Валериев Игорь
11. Ермак
Фантастика:
попаданцы
альтернативная история
4.50
рейтинг книги
Ермак. Противостояние. Книга одиннадцатая

Проводник

Кораблев Родион
2. Другая сторона
Фантастика:
боевая фантастика
рпг
7.41
рейтинг книги
Проводник

Князь Андер Арес 2

Грехов Тимофей
2. Андер Арес
Фантастика:
рпг
аниме
фэнтези
фантастика: прочее
5.00
рейтинг книги
Князь Андер Арес 2

Имя нам Легион. Том 11

Дорничев Дмитрий
11. Меж двух миров
Фантастика:
боевая фантастика
рпг
аниме
5.00
рейтинг книги
Имя нам Легион. Том 11

Маска теней

Кас Маркус
10. Артефактор
Фантастика:
городское фэнтези
аниме
фэнтези
5.00
рейтинг книги
Маска теней

Герцог и я

Куин Джулия
1. Бриджертоны
Любовные романы:
исторические любовные романы
8.92
рейтинг книги
Герцог и я

Я – Легенда 2: геном хищника

Гарцевич Евгений Александрович
2. Я - Легенда!
Фантастика:
боевая фантастика
рпг
фантастика: прочее
попаданцы
5.00
рейтинг книги
Я – Легенда 2: геном хищника

Московское золото и нежная попа комсомолки. Часть Пятая

Хренов Алексей
5. Летчик Леха
Фантастика:
попаданцы
5.00
рейтинг книги
Московское золото и нежная попа комсомолки. Часть Пятая

Ботаник 2

Щепетнов Евгений Владимирович
2. Ботаник
Фантастика:
фэнтези
боевая фантастика
6.00
рейтинг книги
Ботаник 2

Я еще не царь

Дрейк Сириус
25. Дорогой барон!
Фантастика:
юмористическое фэнтези
аниме
попаданцы
5.00
рейтинг книги
Я еще не царь

Темные тропы и светлые дела

Владимиров Денис
3. Глэрд
Фантастика:
фэнтези
боевая фантастика
попаданцы
5.00
рейтинг книги
Темные тропы и светлые дела