Чтение онлайн

на главную - закладки

Жанры

Шрифт:

Одной из недавно отмеченных и удивительных особенностей токов высокой частоты, которая в основном заинтересовала врачей, оказалась их полная безвредность для человека, позволяющая пропускать через человеческое тело сравнительно большое количество электрической энергии, не вызывая при этом боли или серьезного дискомфорта. Эта особенность, на которую совместно с другими, в основном, неожиданными свойствами я впервые имел честь обратить внимание ученых мужей в статье, опубликованной в техническом журнале от февраля 1891 года, и во время последующих выступлений перед научными сообществами, сразу очевидным образом указала на то, что такой ток мог бы быть использован в электротерапии.

Принимая во внимание свойства электричества в целом, и по аналогии с ними, весь комплекс физиологических эффектов можно разделить на три класса. Первый — статические эффекты: физиологические эффекты, относящиеся к данному классу, в основном зависят от величины электрического потенциала. Второй — динамические эффекты: эффекты этого класса принципиально зависят от интенсивности движения электронов, или от силы тока, проходящего через тело. Третий — эффекты, возникающие под воздействием электромагнитных волн или колебаний: импульсы, в которых электрическая энергия попеременно, с большей или меньшей частотой, переходит из статической формы в динамическую, и наоборот.

На практике, все эти различные свойства присутствуют постоянно, однако, для более удобного выбора аппаратных средств и соблюдения условий, экспериментатор может сделать тот или иной эффект доминирующим. Таким образом экспериментатор может пропускать через тело человека, или через часть тела, электрический ток сравнительно большой силы при малом напряжении, либо подвергнуть человеческое тело воздействию высоким напряжением при ничтожно малой силе тока, либо поместить пациента под воздействие электромагнитных волн, источник которых, при необходимости, может находиться на достаточно большом удалении от объекта.

Даб ы не отвлекать медика от изучения последствия воздействия на организм и корректировки методов лечения, непосредственное применение различных способов электрического воздействия на тело пациента, можно поручить электрику.

Поскольку никто не может похвастаться тем, что способен описать тот или иной предмет совершенно точно и ясно, ниже приводятся схематические иллюстрации нескольких способов подключения электрических цепей, которые несмотря на свою очевидность для большинства аудитории, все же могут оказаться небесполезными.

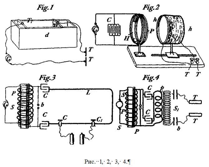
Первый и самый простой метод применения электрического тока представляет собой подключение тела пациента к двум контактам генератора, будь то динамо-машина или индукционная катушка. На Рис. 1 представлена схема подобного соединения. Альтернатор Gдолжен выдавать от пяти до десяти тысяч полных колебаний в секунду — вполне достижимая величина на сегодняшний день. Электродвижущая сила, как показали измерения при помощи теплового измерительного прибора, может быть от пятидесяти до ста вольт. Дл я того, чтобы обеспечить прохождение электрического тока через ткань, клеммы Т Т,которые служат для установления контакта с телом пациента, должны обладать достаточно большой площадью соприкосновения и покрыты тканью, пропитанной раствором электролита, безвредного для кожи. Иначе контакт с телом пациента может обеспечиваться путем иммерсии. Наилучшим образом регулировка тока осуществляется при помощи изолирующего желоба А,на котором установлены две металлические клеммы / 7 с достаточно большой контактной поверхностью, и, как минимум, одна из них должна быть съемной. Жело б заполняется водой, в воду добавляется электролитический раствор до тех пор, пока не будет достигнута степень электропроводности, пригодная для экспериментов.

При необходимости задействовать ток малой силы и с высоким напряжением используют вторичную катушку так, как это показано на Рис. 2. Я с самого начала счел удобным отойти от обычного способа наматывания катушек с большим количеством маленьких витков. Существу- ет множество аргументов, которые определят выбор врача в пользу обруча Нбольшого разме- ра, не менее трех футов в диаметре, или даже больше, с небольшим количеством витков, намотанного на него толстого кабеля Р.Вторичная катушка S,изготавливается довольно про- сто: два деревянных обруча соединяются вместе при помощи жесткого картона. Достаточно од- ного слоя обычного, не очень тонкого обмоточного провода. В зависимости от назначения катушки, количество витков провода легко определяется экспериментальным путем.

Две пластины, с достаточно большой площадью, которые формируют регулируемый конденсатор, могут быть использованы для синхронизации вторичной цепи с первичной, однако, в большинстве случаев в этом нет необходимости. Таким образом получается довольно дешевая в изготовлении и вполне устойчивая к повреждениям катушка. Однако дополнительные преимущества такой конструкции проявляются при точной настройке параметров вторичной цепи, которая достигается очень просто: путем изменения расстояния между первичной и вторичной цепями. Еще больше преимуществ заметно при возникновении гармоник, которые отчетливее проявляются именно в больших катушках с толстым обмоточным проводом, когда они расположены на некотором удалении от первичной цепи.

Предварительные настройки могут также применяться при использовании переменного или прерывистого тока низкой частоты, однако, некоторые определенные свойства высокой частоты дают возможность задействовать прерывистый ток там, где использование переменного тока невозможно.

Одной из наиболее ярких свойств высокой частоты, или, в более общем выражении, тока часто меняющего свое направление, является то, что он с трудом проходит через толстый проводник с высокой самоиндукцией. Несмотря на это препятствие на пути движения тока, вызванное самоиндукцией, как показали результаты более ранних экспериментов, па которые имеются ссылки, вполне реально поддерживать разность потенциалов в несколько тысяч вольт между двумя точками на толстом медном бруске с незначительным сопротивлением. При этом расстояние между точками не должно превышать нескольких дюймов. На Рис. 3 изображена схема расположения компонентов. В данном случае источником высокочастотных импульсов служит трансформатор известного типа, который может быть запитан от генератора G,подающего постоянный, либо переменный ток. Трансформатор состоит из первичной обмотки Р,вторичной обмотки S,двух конденсаторов С С, соединенных последовательно, петли, пли катушки с очень толстым проводом Lи устройства b, замыкающего и размыкающего цепь. Ток поступает через контур Lна два контакта С с,один из которых, или оба, могут передвигаться по проводу L.При изменении расстояния между контактами можно добиться разности потенциалов на клеммах Т Твеличиной от нескольких до многих тысяч вольт. Этот способ использования электрического тока совершенно безопасен и очень удобен, однако, при этом требуется постоянно задействовать выключатель b для зарядки и разрядки конденсатора.

Другими, не менее значительными свойствами высокочастотных импульсов являются легкость, с которой они проходят через конденсаторы, а также умеренная электродвижущая сила и очень малая емкость, необходимая для обеспечения прохождения большого количества тока. Результаты научных наблюдений дали возможность разработать определенную схему, в частности ту, что изображена на Рис. 4. На этой схеме расположение компонентов очень сходно с предыдущей схемой, за исключением того, что конденсаторы С Ссоединены параллельно. Такое соединение конденсаторов понижает частоту тока, зато позволяет работать со значительно меньшей разницей потенциалов на клеммах вторичной катушки S.Поскольку последняя является наиболее дорогостоящей частью устройства, а ее стоимость возрастает с увеличением количества витков, то экспериментатор, пожертвовав частотой, которая, впрочем, остается достаточно высокой и пригодной для большинства целей, может получить аппарат с меньшими затратами. Для того, чтобы частота осталась прежней, ему нужно всего лишь пропорционально уменьшить количество витков, или длину первичной катушки, однако, уменьшение стоимости трансформатора таким образом, потребует большего внимания в отношение выключателя b. Вторичная обмотка Sвысокочастотной катушки оснащена двумя металлическими пластинами tt с большой поверхностной площадью, соединенной с клеммами, а ток поступает с двух схожих пластин t1t1, расположенных вблизи первых. И напряжение, и сила тока, поступающего с клемм Т Тлегко регулируются путем изменения расстояния между двумя парами пластин tt и t1t1 соответственно.

Легкость, с которой Вы можете в данной конструкции увеличивать или уменьшать потенциал на одной из клемм, не зависит от изменений, произведенных Вами с дугой клеммой. Этодаетвозможностьпроводитьболееэффективныепроцедурысодной, исдругойсторонытелапациента.

Врач, в силу тех, или иных причин, может посчитать целесообразным изменение порядка подключения компонентов, изображенных на Рис. 2, 3 или 4, подсоединив одну из клемм источника тока высокой частоты к земле. По многим параметрам эффекты будут те же, но в каждом конкретном случае проявятся свои характерные особенности. При заземлении одной из клемм вторичной обмотки, возможные последствия могут проявиться в виде преобладания импульсов высокочастотных разрядов одного направления над другим.

Поделиться:
Популярные книги

Ну, здравствуй, перестройка!

Иванов Дмитрий
4. Девяностые
Фантастика:
попаданцы
альтернативная история
6.83
рейтинг книги
Ну, здравствуй, перестройка!

Орден Багровой бури. Книга 1

Ермоленков Алексей
1. Орден Багровой бури
Фантастика:
попаданцы
аниме
фэнтези
фантастика: прочее
5.00
рейтинг книги
Орден Багровой бури. Книга 1

Мастер 8

Чащин Валерий
8. Мастер
Фантастика:
попаданцы
аниме
фэнтези
5.00
рейтинг книги
Мастер 8

Неправильный лекарь. Том 1

Измайлов Сергей
1. Неправильный лекарь
Фантастика:
городское фэнтези
попаданцы
аниме
фэнтези
5.00
рейтинг книги
Неправильный лекарь. Том 1

Первый среди равных. Книга IX

Бор Жорж
9. Первый среди Равных
Фантастика:
попаданцы
аниме
фэнтези
5.00
рейтинг книги
Первый среди равных. Книга IX

Лейтенант. Часть 2. Назад в СССР

Гаусс Максим
9. Второй шанс
Фантастика:
попаданцы
альтернативная история
5.00
рейтинг книги
Лейтенант. Часть 2. Назад в СССР

Студент из прошлого тысячелетия

Еслер Андрей
2. Соприкосновение миров
Фантастика:
героическая фантастика
попаданцы
аниме
5.00
рейтинг книги
Студент из прошлого тысячелетия

Я Гордый Часть 3

Машуков Тимур
3. Стальные яйца
Фантастика:
фэнтези
попаданцы
аниме
5.00
рейтинг книги
Я Гордый Часть 3

Эволюционер из трущоб. Том 2

Панарин Антон
2. Эволюционер из трущоб
Фантастика:
космическая фантастика
попаданцы
5.00
рейтинг книги
Эволюционер из трущоб. Том 2

Ученик. Книга третья

Первухин Андрей Евгеньевич
3. Ученик
Фантастика:
фэнтези
7.64
рейтинг книги
Ученик. Книга третья

Изгой Проклятого Клана. Том 2

Пламенев Владимир
2. Изгой
Фантастика:
попаданцы
аниме
фэнтези
фантастика: прочее
5.00
рейтинг книги
Изгой Проклятого Клана. Том 2

Неудержимый. Книга XXVI

Боярский Андрей
26. Неудержимый
Фантастика:
фэнтези
попаданцы
5.00
рейтинг книги
Неудержимый. Книга XXVI

Сержант. Назад в СССР. Книга 4

Гаусс Максим
4. Второй шанс
Фантастика:
попаданцы
альтернативная история
5.00
рейтинг книги
Сержант. Назад в СССР. Книга 4

Страж Кодекса

Романов Илья Николаевич
1. КО: Страж Кодекса
Фантастика:
фэнтези
попаданцы
аниме
5.00
рейтинг книги
Страж Кодекса