Чтение онлайн

на главную - закладки

Жанры

Шрифт:

Третья часть этой книги, содержащая избранные научные и технические статьи Николы Теслы, также поделена на группы. Статьи Теслы представлены в порядке их публикации. Первая группа из 17 статей относится к работе Теслы в области Рентгеновских лучей, осциллятора Теслы, токов высокой частоты, электрических машин, электрического разряда в трубках, и заканчивается статьей о телефотографии. Вторая группа этой части состоит из 8 статей, касающихся воззрения Теслы на мир и его мнений о будущем электричества, где он обсуждает как технические, так и общие проблемы, представляющие интерес для человечества. Эта часть оканчивается собственным биографическим очерком Теслы.

ЛЕКЦИИ

НОВАЯ СИСТЕМА ТРАНСФОРМАТОРОВ И МОТОРОВ ПЕРЕМЕННОГО ТОКА

Я очень хочу выразить свою благодарность Профессору Энтони, за его помощь, которую он оказал в данном вопросе. Я также хотел бы выразить мою признательность М-ру Попу и М-ру Мартину за их содействие. Извещение пришло относительно недавно, и я не смог рассмотреть предмет столь широко, как мне бы того хотелось, так как мое здоровье сейчас не и лучшем состоянии. Я прошу о вашем любезном снисхождении, и буду глубоко удовлетворен, если то немногое, что я сделал, встретит ваше одобрение.

При сегодняшней разнородности мнений касательно относительных достоинств систем переменного и постоянного тока огромное значение придается вопросу, могут ли переменные токи успешно применяться в работе моторов. Трансформаторы, со всеми их преимуществами, дали нам сравнительно совершенную систему распределения. И хотя, как во всех областях техники, желательны еще многие усовершенствования, в этом направлении осталось сделать сравнительно немного. Передача энергии, напротив, практически полностью ограничена использованием постоянных токов, и несмотря на то, что для использования переменных токов было предпринято множество усилий, они, по крайней мере насколько известно, не дали желаемого результата. Из разнообразных моторов, приспособленных для работы в цепях переменного тока, отмечались следующие: 1. Последовательный мотор с разделенным полем. 2. Генератор переменного тока, поле которого возбуждается постоянными токами. 3. Мотор Элиу Томпсона. 4. Мото р с комбинированным переменным и постоянным током. И еще два мотора этого вида пришли мне в голову. 1. Мотор, одна из цепей которого подключается последовательно с генератором, а другая — во вторичную цепь трансформатора. 2. Мотор, у которого цепь якоря подключена к генератору, и обмотки возбуждения замкнуты на себя. Эти я. впрочем, упоминаю лишь мимоходом.

Предмет, который я сейчас имею удовольствие представить вашему вниманию, — это новая система распределения и передачи электрической энергии посредством переменных токов, дающая особые преимущества, особенно в плане моторов, которая, я уверен, сразу же даст превосходную применимость этих токов для передачи энергии и покажет, что многие результаты, до сих пор недосягаемые, с их применением достигаются; результаты, которые столь желательны в практической работе подобных, систем, и которые недостижимы при посредстве постоянных токов.

Прежде чем вдаваться в детали описания этой системы, я думаю, необходимо сделать несколько замечаний относительно определенных условий, присутствующих в генераторах и моторах постоянного тока, которыми, хотя они и хорошо известны, часто пренебрегают.

В наших динамо машинах, как известно, мы генерируем переменные токи, которые выпрямляем посредством коммутатора, этого довольно сложного устройства, и, можно так сказать, источника большинства проблем, возникающих в работе этих машин. Далее, токи, выпрямленные таким образом, не могут использоваться в моторе, но они должны — и опять посредством подобного ненадежного устройства, — быть вновь преобразованы в свое первоначальное состояние — переменный ток. Функция коммутатора чисто внешняя, и пи в коей мере не влияет на внутреннюю работу машин. Следовательно, на самом деле, все машины — это машины переменного тока, так как токи предстают в виде постоянных только во внешней цепи во время их передачи от генератора к мотору. И только ввиду этого факта переменные токи должны были привлечь к себе внимание как более непосредственное применение электрической энергии, и применение постоянный токов становилось бы оправданным, только если бы были динамо, которые сразу первоначально генерируют их, и моторы, которые бы приводились в действие непосредственно такими токами.

Рис. 1. Рис. 1а.

Но работа коммутатора в моторе двойная; во-первых, он обращает токи, идущие через мотор, и во-вторых, он выполняет, автоматически, прогрессивный сдвиг полюсов одной из его магнитных составляющих. Далее, допуская, что обе этих бессмысленных операции, то есть выпрямление переменных токов в генераторе и реверсирование постоянных токов в моторе, исключаются, все равно было бы нужно, для того, чтобы вызвать вращение мотора, получать прогрессивное смещение полюсов одного из его элементов, и сам собой встает вопрос — Как выполнить эту операцию непосредственно с помощью воздействия переменного тока? Теперь я перейду к объяснению того, как это выполняется.

Рис. 2. Рис. 2а.

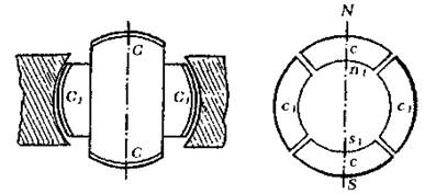
В первом эксперименте барабанный якорь имел две обмотки под прямыми углами друг к другу, и концы этих обмоток подключались к двум парам изолированных контактных колец, как это делается обычно. Кольцо было сделано из тонких изолированных пластин листового железа и обмотано четырьмя обмотками, каждые две противоположные из которых соединялись друг с другом так, чтобы давать свободные полюса на диаметрально противоположных сторонах кольца. Остальные свободные контакты обмоток подключались к контактному кольцу якоря генератора, так что образовывалось две независимые цепи, как показано на рисунке 9. Теперь можно видеть, какие результаты достигались подобной комбинацией, и я буду ссылаться в этом отношении на схемы на рисунках с 1 до 8а. Когда поле генератора возбуждается независимо, вращение якоря устанавливает в обмотках ССтоки, меняющиеся по силе и направлению хорошо известным образом. В положении, показанном на рисунке 1, ток в обмотке С нулевой, тогда как через обмотку С 1проходит ее максимальный ток, и наши соединения устроены так, что кольцо намагничивается обмотками С 1 С 1,как показано буквами N S на рисунке 1а, а намагничивающий эффект обмоток с с нулевой, потому что эти обмотки включены в цепь обмотки С.

На рисунке 2 обмотки якоря показаны в следующем положении, когда уже совершена одна восьмая одного оборота. Рисунок 2а иллюстрирует соответствующие магнитные состояния кольца. В данный момент обмотка С 1генерирует ток того же направления, что и перед этим, но слабее, создавая в кольце полюса N1 S 1;обмотка с также генерирует ток того же направления, и соединения таковы, что обмотки с с создают полюса N S,как показано на рисунке 2а. Результирующая полярность указана буквами N S, и можно наблюдать, что полюса кольца сдвинулись на одну восьмую его периметра.

На рисунке 3 якорь прошел одну четвертую оборота. На этой фазе ток и обмотке С максимален, и его направление таково, что дает полюса N S, как на рисунке За, при этом ток в обмотке С1 пулевой, эта обмотка находится в своем нейтральном положении. Полюса N S па рисунке За, таким образом, сдвинуты на одну четвертую окружности кольца.

Рисунок 4 показывает обмотки С Сеще более продвинутом положении, когда якорь прошел три восьмых оборота. В этот момент обмотка С пока что генерирует ток того же направления, что и раньше, но меньшей силы, создавая сравнительно более слабые полюса n s на рисунке 4а. Ток в обмотке С 1той же силы, но противоположного направления. В результате, он создает на кольце полюса N j Sj,как показано, и полярность N S, в итоге, при этом полюса сдвигаются на три восьмых периметра кольца.

На рисунке 5 пройдена половина оборота якоря, и возникающее в результате магнитное ноле показано на рисунка 5а. Теперь ток в обмотке Снулевой, а по обмотке С/течет ее максимальный ток, имеющий то же направление, что и перед этим; намагничивающий эффект, таким образом, обуславливается только обмоткой С/ с j,и следуя рисунку 5а, можно увидеть, что полюса N S сдвинулись на одну вторую окружности кольца. В ходе следующего полуоборота действия повторяются, как показано на рисунках с 6 по 8а.

Поделиться:
Популярные книги

Кодекс Охотника. Книга V

Винокуров Юрий
5. Кодекс Охотника
Фантастика:
фэнтези
попаданцы
аниме
4.50
рейтинг книги
Кодекс Охотника. Книга V

Люди и нелюди

Бубела Олег Николаевич
2. Везунчик
Фантастика:
фэнтези
попаданцы
9.18
рейтинг книги
Люди и нелюди

Гранд империи

Земляной Андрей Борисович
3. Страж
Фантастика:
фэнтези
попаданцы
альтернативная история
5.60
рейтинг книги
Гранд империи

Последний Паладин. Том 3

Саваровский Роман
3. Путь Паладина
Фантастика:
юмористическое фэнтези
попаданцы
аниме
5.00
рейтинг книги
Последний Паладин. Том 3

Печать пожирателя 2

Соломенный Илья
2. Пожиратель
Фантастика:
городское фэнтези
попаданцы
аниме
сказочная фантастика
5.00
рейтинг книги
Печать пожирателя 2

Законы Рода. Том 12

Андрей Мельник
12. Граф Берестьев
Фантастика:
юмористическое фэнтези
аниме
фэнтези
5.00
рейтинг книги
Законы Рода. Том 12

Сын Тишайшего 3

Яманов Александр
3. Царь Федя
Фантастика:
попаданцы
альтернативная история
фэнтези
5.00
рейтинг книги
Сын Тишайшего 3

Искатель 6

Шиленко Сергей
6. Валинор
Фантастика:
рпг
фэнтези
попаданцы
гаремник
5.00
рейтинг книги
Искатель 6

Воронцов. Перезагрузка

Тарасов Ник
1. Воронцов. Перезагрузка
Фантастика:
попаданцы
альтернативная история
фантастика: прочее
5.00
рейтинг книги
Воронцов. Перезагрузка

Мечников. Из доктора в маги

Алмазов Игорь
1. Жизнь Лекаря с нуля
Фантастика:
альтернативная история
аниме
фэнтези
фантастика: прочее
попаданцы
5.00
рейтинг книги
Мечников. Из доктора в маги

Тихие ночи

Владимиров Денис
2. Глэрд
Фантастика:
фэнтези
боевая фантастика
попаданцы
5.00
рейтинг книги
Тихие ночи

Рядовой. Назад в СССР. Книга 1

Гаусс Максим
1. Второй шанс
Фантастика:
попаданцы
альтернативная история
5.00
рейтинг книги
Рядовой. Назад в СССР. Книга 1

Разведчик. Заброшенный в 43-й

Корчевский Юрий Григорьевич
Героическая фантастика
Фантастика:
боевая фантастика
попаданцы
альтернативная история
5.93
рейтинг книги
Разведчик. Заброшенный в 43-й

Глава рода

Шелег Дмитрий Витальевич
5. Живой лёд
Фантастика:
боевая фантастика
6.55
рейтинг книги
Глава рода