Чтение онлайн

на главную - закладки

Жанры

Шрифт:

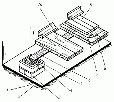
Рис. 27. Схема устройства дощатого пола по грунту: 1 – уплотненный грунт основания; 2 – подстилающий слой из щебенки и бетона; 3 – кирпичный столбик; 4 – слой толя или рубероида; 5 – подкладки; 6 – лаги; 7 – дощатый пол; 8 – слой картона; 9 – паркетный пол; 10 – плинтус

Прокладка чаще всего делается из древесины твердых пород и потом пропитывается в антисептическом растворе. На такую прокладку устанавливаются деревянные балки, которые еще называют лагами. Они располагаются на расстоянии 50–60 см друг от друга. Именно они и служат той основой, на которую потом будут прибиваться половые доски.

В комнате деревянные балки укладываются от окна к противоположной стене, а в коридоре – от входной двери к противоположной стене. Сверху на лаги укладываются собственно половые доски. Лучше всего использовать доски толщиной 10 см, которые необходимо соединять между собой способом сплачивания в четверть или на вставную рейку. Сверху на этот слой досок, собственно на дощатый пол, кладется слой картона или другой прокладки, на который, в свою очередь, настилается паркетный пол. В любом случае, положите ли вы паркет или нет, пол закрепляется плинтусом.

Полы, которые кладутся на железобетонную плиту перекрытия, имеют свои особенности. Прежде всего они заключаются в основе. Здесь на плиту укладывается теплоизоляционный слой, на него – подстилающий слой из щебенки и бетона, непосредственно на который настилается слой сложенного в несколько раз рулонного материала, например рубероида или толя. Сверху на этот слой устанавливаются лаги, к которым и прибиваются доски пола.

Дощатый пол. Сами доски полов настилают по направлению к двери от противолежащей стены. При этом первую доску укладывают вдоль стены, оставляя небольшой зазор для вентиляции подполья, и прикрепляют гвоздями по всей длине. Следующие 3–4 доски укладываются рядом плотно друг к другу, но не прибиваются сразу. Для их крепления сначала необходимо использовать строительные скобы, а потом гвозди.

Полы из древесно-стружечной плиты. Если у вас нет возможности купить хорошую половую доску, то ее можно заменить древесно-стружечной плитой, которая кладется на лаги. Для крепления такого покрытия лучше всего использовать сразу два вида: гвозди и шурупы, потому что структура плиты не позволяет прочно удержаться гвоздю в массиве. Крепление гвоздями предпочтительнее делать через каждые 25 см, а шурупами – через каждые 40 см. Так же как и при настилке дощатых полов, здесь должен быть сохранен зазор между поверхностью пола и стеной для вентиляции подполья. Такое расстояние не должно превышать 3 см. Это допускается только возле стен. Между торцевыми сторонами плит никакого зазора быть не должно. После того как пол готов и прибиты все плинтусы, вам предстоит специальной шпатлевкой для дерева замазать все углубления, оставшиеся после гвоздей и шурупов. Затем отшлифуйте пол крупнозернистой шкуркой, потом мелкозернистой шкуркой и покройте несколькими слоями лака. С таким же успехом можно воспользоваться масляной, нитрокраской или постелить сверху линолеум.

Полы из древесно-волокнистой плиты. В том случае, если для настилки полов были использованы доски с некрасивой лицевой поверхностью, то вы можете сверху на них постелить древесно-волокнистую плиту, толщина которой не меньше 3 мм, или паркет. Каждую плиту нужно с обратной стороны смазать мастикой или столярным клеем, прижать на некоторое время к основанию пола и только потом пробить гвоздями на расстоянии 15 см по периметру. Также необходимо прибить доску в нескольких местах посередине. После посадки на гвозди все получившиеся отверстия тщательно зашпаклевывают. Затем уже можно покрыть плиту слоем лака или краски.

Установка окон и дверей

Двери и окна являются важными элементами дома, они не только делают дом менее звуко– и теплопроводным. От того, какими вы их сделаете, зависит внешний вид вашего дома. Аккуратные рамы и двери украсят даже самый простой, незатейливый дом.

Окна

Ставить окна вы можете сразу после того, как будут готовы каркас и крыша дома. Для экономии сил и времени приобретите уже готовые стандартные оконные блоки. Перед тем как установить оконный блок, используя нивелир, по обеим сторонам проема отметьте нижнюю часть окна. Затем по бокам проема, отступив 15 см от его откосов, поставьте деревянные клинья, установите в проеме оконный блок и закрепите при помощи шурупов в местах деревянных клиньев. Для того чтобы просверлить отверстия для крепления, берите сверло диаметром не более 1,3 см. Наружную оконную раму вставляйте до того, как полностью завершите сборку окна. Это нужно для того, чтобы можно было изменить, отрегулировать зазоры между рамой и переплетом.

Если высота ваших оконных блоков не более 90 см, то прикрепляйте их двумя шурупами с каждой из сторон, если более 90 см – прикрепляйте шурупами, располагая их через каждые 60 см. Широкие окна прикрепляйте сверху и на участках стыков блоков. Кроме шурупов, для крепления блоков вы можете использовать гвозди или синтетическую пену.

Двери

Первое, с чем мы сталкиваемся, входя в дом, – это дверь. И впечатление о доме всегда создается именно по виду входной двери. Она не обязательно должна быть массивной, но непременное условие – это прочность и способность защитить хозяев дома от непрошеных гостей. Но двери внутри дома должны быть изящными, полностью подходить к интерьеру комнат, а иногда даже выделяться своей роскошью.

Для того чтобы построить дверную коробку, необходимо подобрать 4 бруска, 2 из которых будут равны высоте дверного проема, а 2 оставшиеся – ширине проема. Брусья для коробки выбираются большие – до 20 см шириной и до 6 см толщиной. Эти блоки нужно сбить в прямоугольник. Затем, чтобы дверь плотно закрывалась и открывалась только в одну сторону, необходимо на 1–1,5 см снять древесину с внутренней стороны прямоугольника примерно на половину ширины бруска. Затем полотно двери устанавливается именно с учетом расположения этой фаски.

Сделать полотно двери достаточно просто. Прежде всего нужно выбрать основу будущего полотна, которая потом может обшиваться рейкой или обклеиваться шпоном. Также основу можно обклеить пластиком или самоклеящейся пленкой.

Среди легкодоступных материалов можно использовать толстую древесно-стружечную плиту, которая выпиливается на несколько сантиметров меньше необходимых размеров. Это делается для того, чтобы с торцевых сторон была возможность прибить или посадить на клей планки. Затем плиту нужно оклеить фанерой. В зависимости от того, как вы потом собираетесь отделать стороны двери, можно использовать ламинированную или обычную фанеру. Ламинированная фанера обладает очень гладкой поверхностью, поэтому ее лучше использовать как основу под самоклеящуюся пленку или ограничиться покрытием ее несколькими слоями лака.

Неламинированная фанера стоит дешевле. Она требует дополнительной обработки перед непосредственным покрытием лаком. Но на нее очень хорошо клеится шпон, да и обшить недорогую фанеру тоже достаточно легко. После того как полотно двери готово, но еще не покрыто лаком, все соединения нужно тщательно проверить. Не мешало бы еще раз пройтись рубанком и отшлифовать шкуркой, сгладив все неровности.

Установка дверных коробок. Дверные блоки крепятся так же, как и оконные. На расстоянии 15–20 см сверху и снизу вбейте клинья из твердых пород древесины, затем установите коробку и пробейте брусок коробки в месте его соединения с клином. Для того чтобы коробка крепко держалась, сделайте не по два клина с каждой стороны, а по четыре. Это позволит лучше удержаться коробке во время постоянного открывания-за-крывания двери. Именно на боковые стороны падает основная нагрузка.

Поделиться:
Популярные книги

Убивать чтобы жить 4

Бор Жорж
4. УЧЖ
Фантастика:
боевая фантастика
рпг
5.00
рейтинг книги
Убивать чтобы жить 4

Третий. Том 2

INDIGO
2. Отпуск
Фантастика:
космическая фантастика
попаданцы
5.00
рейтинг книги
Третий. Том 2

Двойник короля 19

Скабер Артемий
19. Двойник Короля
Фантастика:
аниме
фэнтези
попаданцы
5.00
рейтинг книги
Двойник короля 19

Отверженный. Дилогия

Опсокополос Алексис
Отверженный
Фантастика:
фэнтези
7.51
рейтинг книги
Отверженный. Дилогия

Дракон - не подарок

Суббота Светлана
2. Королевская академия Драко
Фантастика:
фэнтези
6.74
рейтинг книги
Дракон - не подарок

Зайти и выйти

Суконкин Алексей
Проза:
военная проза
5.00
рейтинг книги
Зайти и выйти

Медиум

Злобин Михаил
1. О чем молчат могилы
Фантастика:
фэнтези
7.90
рейтинг книги
Медиум

Воин

Бубела Олег Николаевич
2. Совсем не герой
Фантастика:
фэнтези
попаданцы
9.25
рейтинг книги
Воин

Двойник короля 16

Скабер Артемий
16. Двойник Короля
Фантастика:
аниме
фэнтези
попаданцы
5.00
рейтинг книги
Двойник короля 16

Кодекс Охотника. Книга XXXV

Винокуров Юрий
35. Кодекс Охотника
Фантастика:
аниме
фэнтези
попаданцы
5.00
рейтинг книги
Кодекс Охотника. Книга XXXV

Запечатанный во тьме. Том 3

NikL
3. Хроники Арнея
Фантастика:
уся
эпическая фантастика
фэнтези
5.00
рейтинг книги
Запечатанный во тьме. Том 3

Чиновникъ Особых поручений

Кулаков Алексей Иванович
6. Александр Агренев
Фантастика:
попаданцы
альтернативная история
5.00
рейтинг книги
Чиновникъ Особых поручений

Точка Бифуркации V

Смит Дейлор
5. ТБ
Фантастика:
фэнтези
попаданцы
аниме
5.00
рейтинг книги
Точка Бифуркации V

Первый среди равных. Книга V

Бор Жорж
5. Первый среди Равных
Фантастика:
попаданцы
аниме
фэнтези
5.00
рейтинг книги
Первый среди равных. Книга V