Чтение онлайн

на главную - закладки

Жанры

Шрифт:

И еще один важный момент. Заготавливать поленья лучше летом, в самую жару. Только не берите стволы деревьев, лежащие на земле, т. к. они содержат вредные вещества, которые при горении выделяют ядовитый угарный газ.

Может случиться и такое, что не удалось заготовить поленья летом, а на дворе уже зима. Не отчаивайтесь – заготовку дров можно проводить и зимой. Рубить дрова лучше в сильный мороз, потому что в это время деревья не насыщены влагой. Чтобы выбрать нужное дерево, ударьте обухом топора по его стволу – если раздастся долгий и звонкий звук, это то, что вам надо.

Распиленные дрова можно хранить не только в сухом помещении, но и на открытом воздухе в тени.

Из-за нехватки леса часто прибегают к растопке бани углем. Это экономично, но вы не почувствуете приятного запаха сгорающих поленьев, и к тому же в парилке будет наблюдаться повышенная влажность. Зато жар от угля держится довольно долго.

Еще один совет: не пытайтесь, освобождаясь от старых, ненужных вещей и всяческого хлама (макулатуры и т. п.), топить ими баню, т. к. в этом случае воздух в парильне будет настолько токсичным, что о лечении и удовольствии придется забыть.

Проектирование бани

Наиболее простой вариант расположенной отдельно от жилого помещения бани – бревенчатая избушка, которая состоит из помещения, служащего одновременно раздевалкой и парилкой. Для его отопления используют дровяную печь или электрокамин, установленные в углу парилки. Три полки шириной по 60 см расположены ступенями друг над другом. Такой вариант бани требует наименьшего расхода строительных материалов, материальных затрат и топлива.

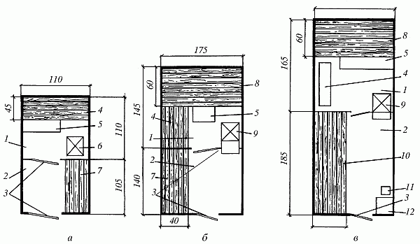
На рис. 2 представлены планы традиционных бань, состоящих из парной, моечной и раздевалки.

Рис. 2. Бани: а – баня для 1–2 человек с размещением сидя; б – баня для 2–3 че-ловек с размещением сидя и лежа; в – баня для 3–4 человек с размещением сидя и лежа; 1 – вешалка; 2 – предбанник; 3 – парная; 4 – моечная; 5 – скамья; 6 – полок; 7 – лежанка; 8 – двери; 9 – электропечь-каменка; 10 – стол; 11 – шкафы

Первый вариант (рис. 2, а) предназначен для одновременного мытья двух человек, но в парной может находиться только один из них. Для экономии места в такой бане скамейки лучше заменить на небольшие низкие табуретки.

В бане, представленной на следующем плане (рис. 2, б), могут одновременно мыться три человека. В парной двое из них могут забраться на верх-ний полок и разместиться там, поджав ноги. Отапливать такую баню лучше всего печкой-каменкой из моечной.

Самый комфортный вариант бани приведен на рис. 2, в. Расчет всех ее помещений произведен с учетом того, что человек на полках располагается лежа. Печку-каменку в такой бане рекомендуется разместить в предбаннике, чтобы топить ее, не заходя в моечную.

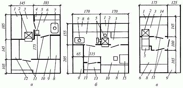
На рис. 3 представлены планы малогабаритных бань, в которых парная совмещена с моечной.

Рис. 3. Малогабаритные бани: а – баня для 1 человека; б – баня для 2 человек; в – баня для 3 человек; 1 – парная-моечная; 2 – предбанник; 3 – двери; 4 – полок для размещения сидя; 5 – подставка; 6 – электропечь-каменка; 7 – скамейка; 8 – полок-лежанка; 9 – печь-каменка для топки дровами; 10 – лежанка; 11 – стул; 12 – стол

Основным преимуществом таких бань является то, что они занимают в два раза меньше места, чем традиционные, а главным недостатком – невозможность создать высокую температуру и поддерживать низкую влажность воздуха. Поэтому при пользовании такой баней надо очень аккуратно мыться, стараясь не расплескивать воду. Кроме того, если в бане одновременно находится несколько человек, то сначала им лучше попариться, затем проветрить помещение и только после этого приступать к мытью.

Если вы собираетесь совмещать посещение бани с общением в кругу приятных вам людей, то ее полезная площадь должна быть не менее 12 м2, а парная и моечная разделены.

Так вам будет удобнее поддерживать разные температурные режимы в этих помещениях, когда одни будут париться, а другие мыться.

Полок в парной должен быть достаточно широким и длинным, чтобы на нем можно было не только сидеть, но и лежать.

Предлагаем вам приблизительные размеры бани, которая предназначена для одновременного посещения 2–3 человек:

– наружные размеры бани 4 х 4 м;

– парная 200 х 150 см;

– моечная 200 х 200 см;

– предбанник 150 х 240 см.

Если полезная площадь бани менее 2 м2, то она называется банной камерой или банным шкафом.

Естественно, что ни мини-бани, ни банные камеры не отличаются тем комфортом, который может предоставить баня, построенная на больших приусадебных участках с полезной площадью 14–16 м2.

На рис. 4 представлены три варианта таких бань.

Рис. 4. Бани с полезной площадью более 12 м2: а – баня с террасой; б – баня с террасой и крыльцом; в – баня с террасой и тамбуром; 1 – полок; 2 – печь-каменка; 3 – парная; 4 – скамейка; 5 – емкость для горячей воды; 6 – моечная; 7 – душевой поддон; 8 – лежанка; 9 – терраса; 10 – предбанник; 11 – двери; 12 – подставка; 13 – крыльцо; 14 – тамбур; 15 – стол

К бане на первом плане (рис. 4, а) пристроена удобная терраса с навесом, которую можно использовать как место отдыха. В предбаннике имеются лежанка и место для складирования дров, служащее одновременно подставкой для емкости с водой.

В бане на рис. 4, б вместо террасы – широкое крыльцо с навесом, на котором расположена удобная лежанка.

С помощью легкого приспособления высота лежанки меняется, и она может использоваться как для сидения или лежания, так и для выполнения некоторых хозяйственных работ в качестве верстака.

В просторном предбаннике, кроме лежанки, можно разместить небольшой стол и стулья. Из предбанника две двери ведут в парную и моечную, оборудованную душем.

На третьем плане (рис. 4, в) предбанник заменен террасой или верандой, а вход в парную и моечную осуществляется через тамбур, в котором находится печь-каменка.

Поделиться:
Популярные книги

Матабар V

Клеванский Кирилл Сергеевич
5. Матабар
Фантастика:
фэнтези
5.00
рейтинг книги
Матабар V

Кодекс Охотника. Книга XXXIX

Сапфир Олег
39. Кодекс Охотника
Фантастика:
фэнтези
попаданцы
боевая фантастика
5.00
рейтинг книги
Кодекс Охотника. Книга XXXIX

Как я строил магическую империю 2

Зубов Константин
2. Как я строил магическую империю
Фантастика:
попаданцы
аниме
5.00
рейтинг книги
Как я строил магическую империю 2

Эволюционер из трущоб. Том 4

Панарин Антон
4. Эволюционер из трущоб
Фантастика:
попаданцы
аниме
фэнтези
фантастика: прочее
5.00
рейтинг книги
Эволюционер из трущоб. Том 4

Кодекс Крови. Книга ХIII

Борзых М.
13. РОС: Кодекс Крови
Фантастика:
попаданцы
аниме
фэнтези
5.00
рейтинг книги
Кодекс Крови. Книга ХIII

Эволюционер из трущоб. Том 9

Панарин Антон
9. Эволюционер из трущоб
Фантастика:
попаданцы
аниме
фэнтези
фантастика: прочее
5.00
рейтинг книги
Эволюционер из трущоб. Том 9

Дворянская кровь

Седой Василий
1. Дворянская кровь
Фантастика:
попаданцы
альтернативная история
7.00
рейтинг книги
Дворянская кровь

Двойник Короля 2

Скабер Артемий
2. Двойник Короля
Фантастика:
попаданцы
аниме
фэнтези
фантастика: прочее
5.00
рейтинг книги
Двойник Короля 2

Три `Д` для миллиардера. Свадебный салон

Тоцка Тала
Любовные романы:
современные любовные романы
короткие любовные романы
7.14
рейтинг книги
Три `Д` для миллиардера. Свадебный салон

На границе империй. Том 7

INDIGO
7. Фортуна дама переменчивая
Фантастика:
боевая фантастика
космическая фантастика
попаданцы
6.75
рейтинг книги
На границе империй. Том 7

Тринадцатый XI

NikL
11. Видящий смерть
Фантастика:
попаданцы
аниме
фэнтези
фантастика: прочее
5.00
рейтинг книги
Тринадцатый XI

Петля, Кадетский Корпус. Книга четвертая

Алексеев Евгений Артемович
4. Петля
Фантастика:
боевая фантастика
попаданцы
аниме
5.00
рейтинг книги
Петля, Кадетский Корпус. Книга четвертая

Новик

Ланцов Михаил Алексеевич
2. Помещик
Фантастика:
альтернативная история
6.67
рейтинг книги
Новик

Камень. Книга вторая

Минин Станислав
2. Камень
Фантастика:
фэнтези
8.52
рейтинг книги
Камень. Книга вторая