Чтение онлайн

на главную - закладки

Жанры

Шрифт:

Для того чтобы штыри не ржавели, они должны быть оцинкованными или покрытыми каким-либо антикоррозийным составом.

Кровля из волнистых асбестоцементных листов

Покрытие из волнистых асбестоцементных листов применяется при уклоне кровли 25–45° и отличается достаточной прочностью, долговечностью, огнеустойчивостью и экономичностью.

Обрешетку под такую кровлю сделайте из брусков сечением 50 х 50 мм или 60 х 40 мм, которые прибивайте на расстоянии 500 мм друг от друга, что составляет чуть меньше половины асбестоцементного листа.

Желательно, чтобы кровельные работы выполняли 4 человека. Перед их началом необходимо рассортировать все листы в зависимости от направления их укладки. Если укладка ведется справа налево, то листы надо подобрать так, чтобы крайняя правая волна на них была рядовой, а крайняя левая – перекрываемой. У стандартных асбестоцементных листов высота рядовой волны составляет 54 мм, а перекрываемой – 45 мм. Отобранные листы соберите в стопки по три обычных и одному укороченному и разместите их вдоль стены.

Для ведения монтажа необходимо сделать подмостки и приготовить прочную веревку. Один человек подает листы своему напарнику, находящемуся на подмостках, а два других, стоя на обрешетке, принимают и устанавливают листы.

Для того чтобы асбестоцементные листы прикрепить к обрешетке, сделайте в них 3–4 отверстия для гвоздей или шурупов. Отверстия проделайте с помощью дрели таким образом, чтобы они располагались на гребне волны, а их диаметр был примерно на 2–3 мм больше диаметра гвоздя или шурупа.

Кровельные работы начинайте с карнизного ряда, правильность установки которого контролируйте шнуром-причалкой. Кладите листы снизу вверх горизонтальными рядами. Соседние листы соединяйте внахлестку на целую волну или на ее половину. Листы второго ряда напускайте на листы первого ряда на 100–150 мм (величина напуска зависит от того, какой у крыши уклон: чем он больше, тем напуск меньше).

Для удобства работ перед их началом вдоль карнизной доски укрепите противоветровые скобы – по две на каждый лист – так, чтобы своими отогнутыми концами они крепко удерживали асбестоцементный лист за гребни волны. После того как будет уложен первый ряд, по нему мелом или карандашом наметьте линию нахлестки и уложите второй ряд.

Асбестоцемент крепите к основанию оцинкованными гвоздями длиной 70–90 мм или шурупами, под шляпки которых подкладывайте шайбы из оцинкованной стали, резины либо прокладки, сделанные из двух слоев рубероида (рис. 40). Гвозди в обрешетку следует забивать сверху через асбестоцементный лист, в противном случае на последнем могут образоваться трещины и сколы. После окончания кровельных работ шляпки гвоздей, а также все имеющиеся подозрительные трещины покройте суриковой замазкой.

Рис. 40. Крепление асбестоцементных волнистых листов: 1 – бруски; 2 – скоба; 3 – лист; 4 – свес фронтона; 5 – гвоздь

Укладывать асбестоцементные листы можно двумя способами: вразбежку, смещая их в сторону в каждом вышележащем ряду, или строго один над другим.

Более надежным и простым является первый способ, т. к. при укладывании листов друг над другом без смещения один лист по краям перекрывается четырьмя соседними, в результате чего образуются щели, через которые может проникать влага. Чтобы избежать этого, предварительно углы листов необходимо обрезать.

Последний этап – покрытие конька. Прибейте к нему специальный, с за-кругленной верхней гранью, коньковый брусок, имеющий сечение 100 х 60 мм. Затем закройте брусок полосами рулонного материала и уложите на него готовые асбестоцементные детали КПО-1 и КПО-2. Первую деталь кладите широким раструбом в сторону фронтона. Для гвоздей сделайте отверстие (два на плоском отвороте, два на оси выпуклой части). Отверстия на плоском отвороте сделайте так, чтобы они проходили через гребни волн асбестоцементных листов.

Вместо готовых деталей для конька можно использовать две сбитые под углом доски, установленные поверх асбестоцементных листов и прибитые к ним гвоздями.

Следует обратить внимание на то, что подшивать карнизы и крепить фронтонные доски удобнее до начала кровельных работ. Так, оголенная обрешетка будет выполнять роль лестницы, а работы можно вести как снизу, так и сверху.

Деревянные кровли

Дерево – не лучший, хотя и дешевый, материал для кровли, т. к. оно часто ломается, рассыхается, загнивает или сгорает. Но если правильно ухаживать за деревянной кровлей, она может служить до 15 лет. Кроме того, деревянные кровли легки, просты в устройстве, а в местностях, где поблизости имеется лес и приобрести материал не составляет особых проблем, еще и экономичны.

Уклон деревянной кровли – 28–45°.

Обрешетку выполните из брусков сечением 50 х 50 мм или жердей диаметром 60–70 мм, обтесанных на два канта. Карниз кровли и верхнюю приконьковую часть выкладывают из укороченных материалов, а рядовое покрытие – из полномерных.

Тесовая кровля

Тесовая кровля может быть одно– и двухслойной (чаще двухслойной). Доски для нее заготовьте прямые, ровные, без сучков и гнилых мест. Лучшее покрытие получается из строганых досок хвойных пород дерева толщиной 19–25 мм. Для того чтобы они служили дольше, предварительно обработайте их антисептиком, а готовую кровлю каждые 3–4 года покрывайте двумя слоями масляной водостойкой краски любого цвета.

Как известно, усыхание древесины может привести к образованию многочисленных трещин на ее поверхности.

Чтобы этого не случилось, доски нижнего ряда покрытия необходимо укладывать выпуклостью годовых колец вверх, а верхнего ряда – вниз (рис. 41).

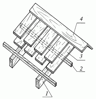
Рис. 41. Тесовая кровля: 1 – стропильная нога; 2 – обрешетина; 3 – доска; 4 – коньковая доска

Доски кладите перпендикулярно к коньку. При двухслойной кровле первый и второй слои досок ставьте впритык, не оставляя зазоров. При однослойном покрытии доски кладите вразбежку: первый ряд – с зазором, который затем перекройте досками второго ряда. Для прикрепления нижних досок к обрешетке в их середину вбейте гвоздь длиной 70 мм, а для прикрепления верхних по краям вбейте два гвоздя длиной 100 мм. Конек и ребра перекройте досками толщиной 25 мм, а швы между досками – специальными нащельниками. Для придания кровле особой декоративности доски можно располагать параллельно коньку, соединяя их внахлестку и располагая выпуклостью годовых колец вниз.

Поделиться:
Популярные книги

Неудержимый. Книга XVIII

Боярский Андрей
18. Неудержимый
Фантастика:
фэнтези
попаданцы
аниме
5.00
рейтинг книги
Неудержимый. Книга XVIII

Кодекс Охотника. Книга XVII

Винокуров Юрий
17. Кодекс Охотника
Фантастика:
фэнтези
попаданцы
аниме
5.00
рейтинг книги
Кодекс Охотника. Книга XVII

Газлайтер. Том 26

Володин Григорий Григорьевич
26. История Телепата
Фантастика:
боевая фантастика
попаданцы
аниме
5.00
рейтинг книги
Газлайтер. Том 26

Вперед в прошлое 11

Ратманов Денис
11. Вперед в прошлое
Фантастика:
попаданцы
альтернативная история
5.00
рейтинг книги
Вперед в прошлое 11

Лихие. Смотрящий

Вязовский Алексей
2. Бригадир
Фантастика:
попаданцы
5.00
рейтинг книги
Лихие. Смотрящий

Дважды одаренный. Том III

Тарс Элиан
3. Дважды одаренный
Фантастика:
альтернативная история
аниме
фэнтези
фантастика: прочее
юмористическое фэнтези
5.00
рейтинг книги
Дважды одаренный. Том III

Газлайтер. Том 21

Володин Григорий Григорьевич
21. История Телепата
Фантастика:
боевая фантастика
аниме
попаданцы
5.00
рейтинг книги
Газлайтер. Том 21

Играть... в тебя

Зайцева Мария
3. Звериные повадки Симоновых
Любовные романы:
современные любовные романы
5.00
рейтинг книги
Играть... в тебя

Искатель 4

Шиленко Сергей
4. Валинор
Фантастика:
рпг
фэнтези
попаданцы
5.00
рейтинг книги
Искатель 4

Ермак. Телохранитель

Валериев Игорь
2. Ермак
Фантастика:
альтернативная история
7.50
рейтинг книги
Ермак. Телохранитель

Темные тропы и светлые дела

Владимиров Денис
3. Глэрд
Фантастика:
фэнтези
боевая фантастика
попаданцы
5.00
рейтинг книги
Темные тропы и светлые дела

Кодекс Крови. Книга I

Борзых М.
1. РОС: Кодекс Крови
Фантастика:
фэнтези
попаданцы
аниме
5.00
рейтинг книги
Кодекс Крови. Книга I

Кодекс Охотника. Книга XIV

Винокуров Юрий
14. Кодекс Охотника
Фантастика:
боевая фантастика
попаданцы
аниме
5.00
рейтинг книги
Кодекс Охотника. Книга XIV

Уникум

Поселягин Владимир Геннадьевич
1. Уникум
Фантастика:
альтернативная история
4.60
рейтинг книги
Уникум