Чтение онлайн

на главную - закладки

Жанры

Шрифт:

Низкомарочные легкобетонные и пустотелые бетонные камни применяют исключительно для возведения конструкций, расположенных внутри здания, с нормальным тепловлажностным режимом. Кладка, выполненная из этого материала, обладает большей теплопроводностью, плотностью, а также более прочна и долговечна, чем кладка из легкобетонных камней. Поэтому ее широко применяют для возведения не только внутренних стен, но и наружных.

Кладку из крупных бетонных, силикатных или кирпичных блоков, так же как и из штучных материалов, используют для возведения подземных и надземных конструкций зданий и сооружений, блоки из легких бетонов, силикатного, пустотелого и пористо-пустотелого кирпича – в основном для строительства наружных стен зданий.

Кладка из природных камней и блоков правильной формы обладает хорошими декоративными качествами, прочностью, устойчивостью к замораживанию и выветриванию, мало подвержена истираемости.

Мягкие пористые горные породы в виде пиленых штучных камней массой до 45 кг (пористые туфы, ракушечники и т. д.) служат для кладки наружных и внутренних стен зданий. Из пористых горных пород (известняков, туфов) изготовляют также крупные стеновые блоки, предназначенные для укладки (монтажа) механизмами.

Камни твердых пород имеют высокую стоимость и трудоемки в обработке, поэтому их главным образом применяют в строительстве нежилых сооружений – для облицовки цоколей или отдельных частей зданий, опор мостов, набережных.

Бутовая и бутобетонная кладка требует больших затрат ручного труда и обладают большой теплопроводностью. Этот материал лучше применять для строительства фундаментов. Облицованная кирпичом бутовая и бутобетонная кладка пригодна для подвальных и подпорных стен.

Кладку из силикатного кирпича сухого прессования и керамического пустотелого кирпича не применяют в конструкциях, расположенных на сырых грунтах, во влажных и мокрых помещениях, для возведения труб и печей.

Кладка из керамических пустотелых камней применяется главным образом при строительстве наружных стен отапливаемых зданий. Хорошие тепло-технические свойства этого материала позволяют сократить толщину наружных стен в средней полосе России на полкирпича по сравнению с кладкой из обыкновенного керамического или силикатного кирпича.

Элементы кладки

Рассмотрим основные термины, определяющие элементы каменной кладки (рис. 15).

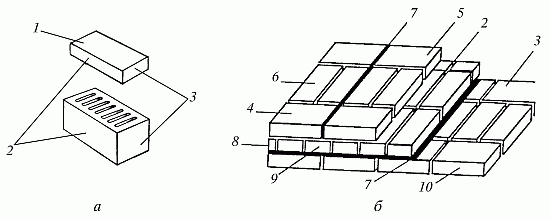
Рис. 15. Стороны кирпича и камня (а) и элементы каменной кладки (б): 1 —постель; 2 – ложок; 3 – тычок; 4 – наружная верста; 5 – внутренняя верста; 6 – забутка; 7 – горизонтальный шов; 7 – вертикальный шов; 8 – фасад; 9 – тычковый ряд; 10 – ложковый ряд

Две большие по площади грани кирпича (камня), расположенные по противоположным сторонам, называют верхней и нижней постелью (1). Ими кирпич укладывается на раствор. Длинные боковые стороны называются ложками (2), короткие – тычками (3).

Кладка выполняется горизонтальными рядами, кирпичи в большинстве случаев укладываются на постель (плашмя). Бывают случаи, когда кирпичи кладут на ложковую грань (на ребро), например при кладке карнизов, тонких перегородок.

Версты – крайние ряды кирпича в рядах, которые образуют поверхность кладки. Версты, расположенные со стороны фасада здания, называются наружными (4), расположенные внутри – внутренними (5).

Ложковый ряд кладки – ряд, образованный из кирпичей, которые уложены длинной боковой стороной к наружной поверхности стены (10).

Тычковый ряд кладки – ряд, обращенный наружу короткой стороной (9).

Забутовочные кирпичи (забутка) – кирпичи, уложенные между внутренней и наружной верстой (6).

Высота рядов кладки складывается из высоты кирпича и толщины горизонтального слоя раствора (шва). Средняя толщина шва равна 12 мм.

Ширина кладки (толщина стен) делается кратной 1/2 кирпича. При ее определении также необходимо учитывать вертикальные швы, средняя толщина которых составляет 10 мм.

Разрезка каменной кладки

Для того чтобы камни в кладке лучше выдерживали действующую на них нагрузку всей стены, их располагают в соответствии с правилами так называемой разрезки. Камни укладывайте таким образом, чтобы они соприкасались друг с другом по возможности большей площадью. Например, если верхний камень будет опираться на лежащий под ним лишь двумя точками, то рано или поздно под влиянием нагрузки от вышележащих рядов он деформируется или сломается. И наоборот, камень, опирающийся всей плоскостью, может выдерживать гораздо большие нагрузки. Для этого необходимо выровнять впадину в его постели, заполнив ее раствором.

Первое правило разрезки. Если поверхности, которыми камни соприкасаются друг с другом, перпендикулярны к усилию, действующему на них, камни будут работать только на сжатие. Следовательно, постели камней необходимо располагать перпендикулярно к силе, воздействующей на кладку, а камни должны укладываться горизонтальными рядами.

Второе правило разрезки. Камни каждого ряда укладывайте таким образом, чтобы не произошел их сдвиг. Камни со скошенными боковыми поверх-ностями образуют в кладке клинья, которые будут раздвигать соседние камни. Для того чтобы этого не случилось, кладку нужно выстраивать таким образом, чтобы плоскости между соседними камнями были перпендикулярны постелям. Вместе с тем, если две боковые плоскости не будут расположены перпендикулярно к наружным поверхностям стен, а две другие боковые плоскости не будут перпендикулярны к первым, то камни, имеющие, например, острые углы у наружной поверхности, могут выпасть из кладки. Таким образом, кладку необходимо разделять вертикальными плоскостями (швами), параллельными ее наружной поверхности (параллельными швами), а также плоскостями, расположенными перпендикулярно к наружной поверхности (поперечными швами).

Третье правило разрезки. Если продольные и поперечные вертикальные швы будут сквозными, получится кладка, разделенная на отдельные столбики. Это весьма неустойчивая конструкция, в которой швы под воздействием вертикальной нагрузки будут расширяться, что рано или поздно приведет к деформации и разрушению кладки. Чтобы избежать этого, поперечные и продольные швы в граничащих друг с другом горизонтальных рядах следует перевязывать камнями вышележащего ряда, сдвигая их на половину или на четверть длины относительно камней нижележащего ряда. В этом случае нагрузка будет распределяться равномерно на всю массу кладки. Следовательно, плоскости вертикальной разрезки каждого ряда должны быть сдвинуты относительно плоскостей граничащих с ними рядов.

Поделиться:
Популярные книги

Кодекс Крови. Книга I

Борзых М.
1. РОС: Кодекс Крови
Фантастика:
фэнтези
попаданцы
аниме
5.00
рейтинг книги
Кодекс Крови. Книга I

Дочь моего друга

Тоцка Тала
2. Айдаровы
Любовные романы:
современные любовные романы
эро литература
5.00
рейтинг книги
Дочь моего друга

Имя нам Легион. Том 15

Дорничев Дмитрий
15. Меж двух миров
Фантастика:
боевая фантастика
рпг
аниме
5.00
рейтинг книги
Имя нам Легион. Том 15

Зодчий. Книга II

Погуляй Юрий Александрович
2. Зодчий Империи
Фантастика:
аниме
фэнтези
попаданцы
5.00
рейтинг книги
Зодчий. Книга II

Требую развода! Что значит- вы отказываетесь?

Мамлеева Наталья
Любовные романы:
любовно-фантастические романы
5.00
рейтинг книги
Требую развода! Что значит- вы отказываетесь?

Защитник

Кораблев Родион
11. Другая сторона
Фантастика:
боевая фантастика
попаданцы
рпг
5.00
рейтинг книги
Защитник

Сильнейший Столп Империи. Книга 5

Ермоленков Алексей
5. Сильнейший Столп Империи
Фантастика:
аниме
фэнтези
фантастика: прочее
попаданцы
5.00
рейтинг книги
Сильнейший Столп Империи. Книга 5

Вернуть невесту. Ловушка для попаданки 2

Ардова Алиса
2. Вернуть невесту
Любовные романы:
любовно-фантастические романы
7.88
рейтинг книги
Вернуть невесту. Ловушка для попаданки 2

Наследие Маозари 2

Панежин Евгений
2. Наследие Маозари
Фантастика:
попаданцы
рпг
аниме
5.00
рейтинг книги
Наследие Маозари 2

Воевода

Ланцов Михаил Алексеевич
5. Помещик
Фантастика:
альтернативная история
5.00
рейтинг книги
Воевода

Воплощение Похоти

Некрасов Игорь
1. Воплощение Похоти
Фантастика:
юмористическое фэнтези
попаданцы
рпг
аниме
5.00
рейтинг книги
Воплощение Похоти

Двойник короля 14

Скабер Артемий
14. Двойник Короля
Фантастика:
аниме
фэнтези
попаданцы
5.00
рейтинг книги
Двойник короля 14

Леший

Северский Андрей
1. Леший в "Городе гоблинов"
Фантастика:
рпг
5.00
рейтинг книги
Леший

На границе империй. Том 7. Часть 3

INDIGO
9. Фортуна дама переменчивая
Фантастика:
космическая фантастика
попаданцы
5.40
рейтинг книги
На границе империй. Том 7. Часть 3