Чтение онлайн

на главную - закладки

Жанры

Сетевые средства Linux

Смит Родерик В.

Шрифт:

AMANDA отличается от других средств, рассмотренных в данной главе, тем, что в состав этого пакета входят инструменты восстановления данных, предназначенные для выполнения на стороне клиента резервного копирования. Наиболее мощным из этих инструментов является

amrecover
, который вызывает в процессе работы другие программы, например
amrestore
. Если вы запустите
amrecover
на клиенте резервного копирования от имени пользователя
root
, программа отобразит приглашение для ввода команды. Допустимыми командами являются
setdate
(определение даты резервной копии),
cd
(изменение текущего каталога),
add
(добавление файла к набору, предназначенному для восстановления) и
extract
(восстановление файлов). После указания команды
extract
программа
amrecover
предложит установить соответствующую ленту, содержащую резервную копию.

Независимо от того, какой метод вы используете для восстановления данных, этот метод необходимо опробовать до того, как его придется применять на практике. Желательно установить специальную тестовую систему и использовать ее для проверки процедуры создания резервной копии и восстановления данных. Если в вашей сети имеется несколько различных операционных систем, проверьте, как выполняется восстановление данных в каждой из них. Подробно опишите действия по восстановлению данных, а в случае изменения структуры сети убедитесь в том, что данная процедура по-прежнему дает ожидаемые результаты. Если вы собираетесь использовать для полного восстановления данных минимальную конфигурацию системы, создайте несколько копий диска. Согласно закону Мерфи, именно тогда, когда вам понадобится выполнять полное восстановление данных, вы обнаружите, что диск, содержащий минимальную конфигурацию системы, испорчен.

Резюме

Существует несколько различных способов создания резервных копий данных. Вы можете выполнять резервное копирование по инициативе клиента или по инициативе сервера, применяя при этом NFS, SMB/CIFS,

rshd
, AMANDA и другие средства сетевого взаимодействия, а также
tar
,
dump
,
cpio
и другие программы создания архивов. Выбор конкретных средств зависит от особенностей сети. Представляя себе особенности различных способов создания резервных копий, вы сможете принять решение, наиболее приемлемое для вашей сети. Если число компьютеров в сети относительно невелико, для создания резервных копий подойдут простые инструменты наподобие утилиты
tar
. При работе в больших вам понадобятся сложные инструменты, например AMANDA. Создавая резервные копии, необходимо иметь в виду, что рано или поздно они понадобятся для восстановления данных. Восстановление данных нельзя рассматривать лишь как процесс, обратный резервному копированию. Для эффективного восстановления утерянных данных часто приходится применять дополнительные инструменты.

ЧАСТЬ III

Серверы Internet

Глава 18

Администрирование домена

Для того чтобы компьютеры, подключенные к сети TCP/IP, могли обращаться друг у другу по имени, они должны иметь возможность преобразовывать доменные имена в IP- адреса, а также выполнять обратное преобразование. Существуют различные средства, позволяющие осуществлять подобные преобразования. Наиболее часто для этой цели используется DNS-сервер (Domain Name System — система доменных имен), который часто называют сервером имен. В главе 2 рассматривались вопросы настройки компьютера для взаимодействия с сервером имен. Однако, для того, чтобы такое взаимодействие было возможным, сервер DNS должен присутствовать в сети. Следует заметить, что работа всей Internet базируется на использовании иерархии серверов DNS. Установив сервер DNS в локальной сети, вы не только обеспечите преобразование имен в ее пределах, но также предоставите возможность внешним пользователям обращаться к компьютерам вашей сети по именам.

Администрирование сервера DNS предполагает создание различных конфигурационных файлов, управляющих его работой. Некоторые из таких файлов должны задавать конфигурацию доменов, поддерживаемых сервером. Возможно, что при администрировании домена вам придется заниматься вопросами, непосредственно не связанными с обеспечением работы сервера DNS, например регистрировать домен. Не исключено, что вам потребуется обеспечивать взаимодействие сервера DNS с другими серверами в сети, например с сервером DHCP.

Администрирование сервера DNS не занимает столько времени и не требует таких усилий, сколько требуется для управления сложными системами, например, Kerberos выполнять все же труднее, чем администрировать простой сервер, например Telnet. Прочитав данную главу, вы получите сведения, достаточные для управления простым доменом. Если же потребуется установить более сложную конфигурацию, вам придется обратиться к документации на сервер DNS либо к изданиям, специально посвященным данному вопросу. В качестве примеров можно привести книгу Элбица (Albitz) и Лиу (Liu) DNS and BIND, 4th Edition (O'Reilly, 2001) и книгу Ханта (Hunt) Linux DNS Server Administration (Sybex, 2000).

Использование сервера DNS

Администрирование сервера DNS — нетривиальная задача, для выполнения которой администратор должен обладать определенной квалификацией. Чтобы грамотно настроить сервер, необходимо знать принципы его работы.

Сервер DNS, доступный из внешней сети

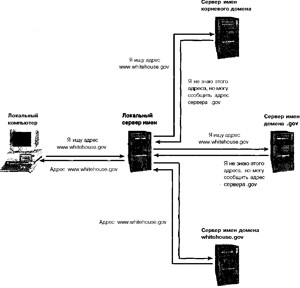
Работа сети Internet базируется на использовании взаимодействующих между собой серверов DNS. Чтобы понять, как сервер, установленный в локальной сети, позволяет внешним пользователям обращаться к локальным компьютерам по именам, необходимо рассмотреть процесс обмена данными между различными серверами DNS. Предположим, что к серверу DNS обратился Web-броузер, пользователь которого задал

URL http://www.whitehouse.gov.
Сервер DNS должен преобразовать символьное имя
www.whitehouse.gov
в IP-адрес узла сети. Локальный сервер DNS начинает процесс преобразования с того, что обращается к корневому серверу DNS. IP-адреса компьютеров, выполняющих функции корневых серверов, указаны в конфигурационном файле каждого сервера DNS; вероятность того, что эти адреса изменятся, крайне мала. Обращаясь к корневому серверу DNS, локальный сервер передает ему имя, предназначенное для преобразования (в данном примере это имя
www.whitehouse.gov)
. В большинстве случаев корневой сервер не знает IP-адреса, соответствующего указанному имени, но имеет информацию о доменах верхнего уровня (TLD — top-level domain). Примерами таких доменов являются
.com
,
.gov
,
.uk
и т.д. Поэтому корневой сервер возвращает локальному серверу адреса компьютеров, поддерживающих DNS-сервер
.gov
, после чего локальный сервер передает запрос одному из компьютеров, обеспечивающих работу домена
.gov
. Сервер DNS
.gov
также не может преобразовать имя, но он знает IP-адреса компьютеров, ответственных за поддержку домена
whitehouse.gov
, поэтому передает их локальному серверу DNS. Сервер
whitehouse.gov
знает IP-адрес, соответствующий имени
www.whitehouse.gov
, поэтому, получив запрос локального сервера, он возвращает ему требуемую информацию. После получения IP-адреса локальный сервер DNS передает его Web-броузеру, который использует адрес при формировании запроса к Web-серверу. Процесс преобразования адресов условно показан на рис. 18.1. Детали этого процесса скрыты от пользователя. С точки зрения прикладной программы или работающего с ней пользователя дело обстоит так, как будто локальный сервер DNS имеет информацию о соответствии символьных имен и IP-адресов всех узлов Internet.

Рис. 18.1. Процесс преобразования адреса предполагает передачу запросов различным серверам DNS

На первый взгляд описанная здесь процедура кажется сложной. Создается впечатление, что для ее выполнения потребуется много времени, однако реально преобразование имени завершается за несколько секунд. Существуют также способы ускорить этот процесс. Один из них состоит в том, что локальные серверы DNS кэшируют результаты преобразования адресов. Поэтому если два пользователя передадут серверу DNS запросы на преобразование одного и того же имени и между этими запросами пройдет не слишком много времени, то второй запрос будет обработан мгновенно. Сервер DNS лишь вернет второму пользователю результаты, полученные для первого пользователя. В кэше также сохраняются адреса серверов тех доменов, обращения к которым осуществляются наиболее часто. Например, локальный сервер DNS почти наверняка имеет сведения о серверах домена верхнего уровня .com, поэтому он не станет обращаться к корневому домену. Информация хранится в кэше в течение ограниченного времени, поэтому, если администратор изменит IP-адрес одного из своих компьютерах, это не приведет к возникновению проблем при обращении к этой машине.

Если вы хотите, чтобы к компьютерам вашей сети можно было обращаться извне по именам, вам необходимо включить его в состав иерархии DNS. Другими словами, вы должны установить сервер DNS, который будет выполнять для вашего домена те же действия, которые сервер

whitehouse.gov
выполняет для своего домена. После того как ваш сервер будет настроен и запущен, а также после того как сервер DNS, поддерживающий домен более высокого уровня, узнает о существовании вашего сервера, каждый пользователь Internet сможет преобразовать имена компьютеров вашей сети в IP-адреса.

На заметку

Официальные организации, осуществляющие поддержку DNS, требуют, чтобы каждый домен обслуживался как минимум двумя серверами DNS. Несмотря на то что для поддержки протокола преобразования имен достаточно одного сервера DNS, второй сервер создает избыточность, позволяющую повысить надежность системы. Если один их серверов выйдет из строя, второй сможет обрабатывать запросы. Если размеры вашей сети малы, вы можете установить в ней лишь один (первичный) DNS-сервер, а второй (вторичный) сервер разместить за пределами сети.

Поделиться:
Популярные книги

Кодекс Охотника. Книга ХХ

Винокуров Юрий
20. Кодекс Охотника
Фантастика:
попаданцы
альтернативная история
аниме
5.00
рейтинг книги
Кодекс Охотника. Книга ХХ

Газлайтер. Том 16

Володин Григорий Григорьевич
16. История Телепата
Фантастика:
боевая фантастика
попаданцы
аниме
5.00
рейтинг книги
Газлайтер. Том 16

Черный Маг Императора 4

Герда Александр
4. Черный маг императора
Фантастика:
юмористическое фэнтези
попаданцы
аниме
5.00
рейтинг книги
Черный Маг Императора 4

Виконт. Книга 3. Знамена Легиона

Юллем Евгений
3. Псевдоним `Испанец`
Фантастика:
фэнтези
попаданцы
аниме
7.00
рейтинг книги
Виконт. Книга 3. Знамена Легиона

Газлайтер. Том 19

Володин Григорий Григорьевич
19. История Телепата
Фантастика:
попаданцы
аниме
фэнтези
5.00
рейтинг книги
Газлайтер. Том 19

Последний Паладин. Том 4

Саваровский Роман
4. Путь Паладина
Фантастика:
фэнтези
попаданцы
аниме
5.00
рейтинг книги
Последний Паладин. Том 4

Черный Маг Императора 8

Герда Александр
8. Черный маг императора
Фантастика:
юмористическое фэнтези
попаданцы
аниме
5.00
рейтинг книги
Черный Маг Императора 8

Путь Шедара

Кораблев Родион
4. Другая сторона
Фантастика:
боевая фантастика
6.83
рейтинг книги
Путь Шедара

Афганский рубеж 4

Дорин Михаил
4. Рубеж
Фантастика:
попаданцы
альтернативная история
6.00
рейтинг книги
Афганский рубеж 4

Твое сердце будет разбито. Книга 1

Джейн Анна
Любовные романы:
современные любовные романы
5.50
рейтинг книги
Твое сердце будет разбито. Книга 1

На обочине 40 плюс. Кляча не для принца

Трофимова Любовь
Проза:
современная проза
5.00
рейтинг книги
На обочине 40 плюс. Кляча не для принца

Око василиска

Кас Маркус
2. Артефактор
Фантастика:
городское фэнтези
попаданцы
аниме
5.00
рейтинг книги
Око василиска

Запасная дочь

Зика Натаэль
Фантастика:
фэнтези
6.40
рейтинг книги
Запасная дочь

Шайтан Иван 2

Тен Эдуард
2. Шайтан Иван
Фантастика:
боевая фантастика
попаданцы
альтернативная история
5.00
рейтинг книги
Шайтан Иван 2