Самодельная черепица

на главную - закладки

Жанры

Поделиться:
Шрифт:

РЕДКОЛЛЕГИЯ

работает на общественных началах

Статья из брошюры «Сделай сам» № 2, 1993 г. серии «Новое в жизни, науке, технике.» издательства «Знание».

Производство цементно-песчаной черепицы

Черепицу изготовляют двух видов. Первый вид — гончарная, или глиняная. Для ее производства требуется глина определенного состава и, главное, обжиг в громоздких печах. Крупный расход топлива, наличие сушильных помещений и т.п. затрудняют получать глиняную черепицу непосредственно на садовом участке, ферме, сельской усадьбе.

Производство второго вида черепицы, цементно-песчаной, намного проще, чем глиняной. Отпадает необходимость обжига, а значит, и печей, топлива. Исходными материалами для этого вида черепицы являются цемент марки не ниже 200, песок и вода. При этом цемент лучше иметь медленно схватывающийся. Тогда одновременно можно приготовить больше смеси. Скорость схватывания цемента тем выше, чем больше температура воды и воздуха. Применим цемент, период схватывания которого протекает от 30 мин до 1—12 часов. До смешения цемент следует хранить в сухом помещении и в полиэтиленовых мешках. От сырости вяжущие качества цемента резко падают.

Песок для смеси должен содержать мелкие, средние и крупные частицы размером не более 2 мм. Примеси глины, земли, остатков растений и т.п. в песке не допускаются. Добиваются такой консистенции песка путем просеивания его через наклонно стоящую в рамке сетку с величиной ячеек менее 2 мм. Для черепицы предпочтителен речной песок. Его подсушивают и тоже просеивают.

Воду для смеси берут при температуре 15..18 °С, чистую, без запаха и не жесткую. Быстро определить жесткость можно, смывая с рук мыльную пену, которая не так просто убирается с кожи. Смягчают воду без добавления специальных присадок в некоторой степени кипячение, после которого воду охлаждают и сливают, оставляя осадок в емкости.

Рис. 1. Деревянный формовочный станок: 1 — пуансон; 2 — опора; 3 — брус-ограничитель; 4 — станина; 5 — выталкивающий механизм; 6 — стяжная шпилька; 7 — матрица; 8 — форма

Заготовку смеси для формовки черепицы производят порциями, используемыми в течение 20...30 мин. В смесь закладывается 1 часть цемента, 3 части сухого песка и 0,5 части воды. В подходящей емкости все тщательно перемешивается металлической лопатой, пока масса не станет однородной по цвету. После этого подливают воду и перемешивают до тех пор, пока масса не достигнет одинаковой влажности.

Формовку черепицы производят на станках. Простейший деревянный станок был сконструирован в середине нашего века Г. Морозовым. Его станину (рис. 1) делают из чисто оструганного бруса сечением 80x80 мм. Форму (рис.3) изготовляют из досок толщиной 20 мм и шириной 70 мм. Она представляет собой ящик без дна. Стенки формы обшивают кровельной тонколистовой оцинкованной сталью минимальной толщины (0,35...0,45 мм). Внутренние размеры формы соответствуют размерам матрицы. Нижние края торцовых стенок формы окантовывают стальной полосой шириной 20 мм. Саму форму крепят ушками в центре станины между ножками и боковыми брусьями. Ушки длиной 70...80 мм являются продолжением стальной полосы, окантовывающей торцовые стенки формы. Эти ушки загибают под прямым углом на высоту 20 мм от верхнего обреза торцовых стенок и крепят к горизонтальным брусьям станины шурупами. Вместо шурупов можно применить винты или болты с гайками. Но как ушки, так и головки метизов следует заглубить в дерево брусьев, ибо горизонтальные верхние части последних являются направляющими при перемещении пуансона между ними. Конечно, форма будет намного долговечнее, если сварить ее при помощи газо- или электросварки из стальных листов толщиной 1,5...2,5 мм. В свою очередь, чтобы меньше расшатывать стойки станины, их стягивают самодельными болтами или шпильками диаметром 8, 10 или 12 мм, нарезая соответствующую метрическую резьбу на их концах.

Рис. 2. Формующие части под один из типов пазовой черепицы: 1 — рукоятка; 2 — пуансон; 3 — петля: 4 — направляющий щиток; 5 — металлическая окантовка; 6 — планка; 7 — основание; 8 — шуруп; 9 — матрица

Рисунки на пуансоне и матрице (рис. 2) нужно вырезать в точном соответствии с выбранным типом черепицы. На пуансоне делают зеркальное отражение лицевой стороны черепицы, на матрице — ее обратной стороны с шипом. Зазор между пуансоном и матрицей в форме определяет толщину черепицы. Но увеличение толщины черепицы приведет к утяжелению всей кровли. Следует стремиться, чтобы толщина черепицы в самых тонких местах была 12...15 мм. Поэтому очень важны, например, соразмерности выступов и впадин на пуансоне и матрице. Возникающие от этого ребра и углубления во многом определяют крепость черепицы. Вот почему большинство деталей станка требуют точного изготовления и сохранения размеров в процессе эксплуатации.

Пуансон изготовляют из древесины твердых пород, предпочтительно из сухого дуба. Плоскости основания пуансона хорошо остругивают рубанком. Наибольшая плоскость станет рабочей, когда на ней будет «возведен» рисунок. В соответствии с выбранным типом черепицы, для примера, к пуансону делают три дубовые планки. Учитывая сложность простановки размеров на сечениях «А-А» и «В-В» (см. рис. 2), приведем эти размеры в тексте. Итак, две планки в одной продольной плоскости имеют ширину 47 мм, а в другой — 35 мм, общая длина каждой планки — 380 мм, высота — 13 мм. Третья планка имеет постоянную ширину 33 мм, длину 380 мм и высоту 15 мм. В ее середине на всю длину плоскости выбирается полуовальная бороздка шириной 12 мм и глубиной 6 мм. Стороны углубления скругляются до половины глубины планки и должны в сечении напоминать равнобедренную трапецию.

Характерным для всех выпуклостей и вогнутостей пуансона является то, что все эти «ямки» и «холмы» в сечении имеют скошенные стенки и закругленные углы. Это, как и в литейных формах, облегчит изъятие готового изделия. В частности, при формовании черепицы к подобной поверхности пуансона меньше будет липнуть масса, а на матрице это обеспечит сравнительно быстрое отделение подсохшей черепицы.

Готовые планки приклеивают и прибивают к основанию пуансона согласно размерам на чертеже. Учитывая влагу массы для формования, пуансон в чисто деревянном исполнении недолго сохранит свою рабочую форму. Конечно, можно для крепости проолифить планки и промежутки между ними, что несколько удлинит жизнь пуансона. Гораздо эффективнее оббить пуансон тонколистовой отожженной медью или алюминием, а на худой конец — и самой тонкой оцинкованной кровельной сталью. Металлическое покрытие следует закрепить гвоздями или шурупами на вертикальных стенках пуансона, углубив их шляпки в основание. Соблюдение первоначально заданных размеров и гладкость обязательны! Покрытие должно плотно облегать планки и впадины, четко выделяя грани.

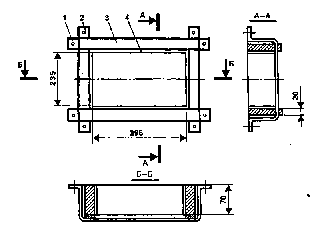
Рис. 3. Форма: 1, 2 — металлические полосы; 3 — стенка; 4 — металлическая окантовка

На рис. 2 показаны матрица и пуансон для черепицы с продольными ребрами. Когда же будут создаваться формующие детали для черепицы типа пазовой штампованной, то появятся и планки, которые нужно будет прибивать на основания матрицы и пуансона поперек удлиненных (но не на них!) с отступом от края на 10...20 мм (см. рис. 2). Ясно, что в этих случаях удлиненные планки укорачивают.

Грани на тыльных сторонах пуансона и матрицы следует несколько закруглить. Это сохранит и детали, и руки от повреждения. Такую же рекомендацию можно предложить и для направляющего щитка лишь с тем отличием, что здесь нужно закруглить грани по всем сторонам щитка. Для этого подойдут рашпили, напильники с грубой насечкой, пила и даже точило, когда закругление осуществляем поперек волокон доски или бруска. А для снятия угла грани вдоль волокон пригоден нож, рубанок и т.п.

Направляющий щиток составляют из досок (см. рис. 2), которые сбивают в два слоя, крест накрест. Сшитые таким образом доски с двух противоположных сторон образуют выступы в виде четвертей размером 22,5 мм. Пуансон и щиток соединяют между собой двумя самодельными петлями из полосовой стали. Можно использовать для этого и крупные дверные петли, которые, к сожалению, крепят лишь к краям пуансона и щитка, что приводит к расширению отверстий, в которые будут вкручены шурупы или винты с гайками. Дефект исправим, если к тыльной стороне пуансона и укороченной на две четверти стороне щитка присоединить шурупами металлические пластины толщиной 1...1,4 мм и лишь потом установить петлю или петли, которые позволят мгновенно отсоединить пуансон от матрицы. Чтобы это не произошло самопроизвольно, следует предусмотреть фиксацию.

Комментарии:
Популярные книги

Идеальный мир для Лекаря 15

Сапфир Олег
15. Лекарь
Фантастика:
боевая фантастика
юмористическая фантастика
аниме
5.00
рейтинг книги
Идеальный мир для Лекаря 15

Звездная Кровь. Экзарх III

Рокотов Алексей
3. Экзарх
Фантастика:
боевая фантастика
попаданцы
рпг
5.00
рейтинг книги
Звездная Кровь. Экзарх III

Афганский рубеж 2

Дорин Михаил
2. Рубеж
Фантастика:
попаданцы
альтернативная история
5.00
рейтинг книги
Афганский рубеж 2

Бояръ-Аниме. Газлайтер. Том 34

Володин Григорий Григорьевич
34. История Телепата
Фантастика:
фэнтези
боевая фантастика
аниме
5.00
рейтинг книги
Бояръ-Аниме. Газлайтер. Том 34

Последний Паладин. Том 9

Саваровский Роман
9. Путь Паладина
Фантастика:
попаданцы
аниме
фэнтези
5.00
рейтинг книги
Последний Паладин. Том 9

Адвокат империи

Карелин Сергей Витальевич
1. Адвокат империи
Фантастика:
городское фэнтези
попаданцы
фэнтези
5.75
рейтинг книги
Адвокат империи

Чужое наследие

Кораблев Родион
3. Другая сторона
Фантастика:
боевая фантастика
8.47
рейтинг книги
Чужое наследие

Миллионщик

Шимохин Дмитрий
3. Подкидыш
Фантастика:
попаданцы
альтернативная история
5.00
рейтинг книги
Миллионщик

Неудержимый. Книга XV

Боярский Андрей
15. Неудержимый
Фантастика:
фэнтези
попаданцы
аниме
5.00
рейтинг книги
Неудержимый. Книга XV

Тринадцатый IV

NikL
4. Видящий смерть
Фантастика:
боевая фантастика
попаданцы
5.00
рейтинг книги
Тринадцатый IV

Черный Маг Императора 13

Герда Александр
13. Черный маг императора
Фантастика:
попаданцы
аниме
сказочная фантастика
фэнтези
5.00
рейтинг книги
Черный Маг Императора 13

Хозяин оков VI

Матисов Павел
6. Хозяин Оков
Фантастика:
фэнтези
попаданцы
гаремник
5.00
рейтинг книги
Хозяин оков VI

Шаман

Седой Василий
5. Дворянская кровь
Фантастика:
попаданцы
альтернативная история
5.00
рейтинг книги
Шаман

Петля, Кадетский Корпус. Книга четвертая

Алексеев Евгений Артемович
4. Петля
Фантастика:
боевая фантастика
попаданцы
аниме
5.00
рейтинг книги
Петля, Кадетский Корпус. Книга четвертая