Чтение онлайн

на главную

Жанры

Шрифт:

Конструктивно близкую группу к будильникам составляют так называемые автомобильные часы, которые могут быть как механи­ческие, так и электромеханические. Первые не имеют каких-либо специфических конструктивных особенностей и распространены от­носительно мало. Наибольшее распространение имеют электроме­ханические часы, выпускаемые в нашей стране под марками АЧП, АЧЗ, 4ЧТ и 5ЧТ.

Рис. 186. Термореле:

1 — биметаллический контакт; 2 — неподвижный кон­такт; 3 — обмотка термореле

Автомобильные часы снабжены штифтовым спуском, не имею­щим отличий от вышеописанного аналогичного спуска, применяе­мого в будильниках, за исключением несколько меньших габари­тов. В автомобильных часах улучшенной кон­струкции (АЧП и АЧЗ) применяется анкерный спуск с рубиновыми налетами.

Названные марки часов отличаются друг от друга в основном лишь внешним оформ­лением.

Основной характер­ной особенностью ав­томобильных часов яв­ляется применение цилиндрической заводной пружины, которая заводится растяжением с помощью электромагнитной системы, вы­полненной в виде электромагнита с поворотным якорем. Пружина заводится чер.ез каждые 2,5 — 3,5 мин.Питание электромагнит по­лучает от автомобильного аккумулятора напряжением 6 или 12 в .В часах АЧП и АЧЗ предохранение электромагнитной системы производится с помощью термореле, в часах 4ЧТ и 5ЧТ — с по­мощью плавкого предохранителя.

Термореле представляет собой контакт, состоящий из постоянно замкнутых в процессе работы двух контактных пластин (рис. 186), одна из которых выполнена из биметалла и несет на себе обмотку, последовательно включенную через контакт с обмоткой электро­магнита.

Если электромагнит окажется включенным слишком продолжи­тельное время (при падении напряжения на аккумуляторе) и об­мотка электромагнита начнет нагреваться, то одновременный и бо­лее быстрый нагрев обмотки термореле вызывает деформацию биметаллической пластины, что приводит к разрыву контакта и от­ключению электромагнита от цепи питания.

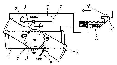
Рис. 187. Схема механизма подзавода автомобильных часов:

1 — электромагнит; 2 —якорь; 3— храповое колесо; 4— заводная пру­жина; 5 — центральная ось; 6 —неподвижный контакт; 7 —поворотный контактный рычаг; 8 —штифт якоря; 9— фиксирующая пружина контакт­ного рычага; 10 —биметаллический контакт термореле с обмоткой; 11 — защелка; 12— кнопка

С точки зрения ремонта автомобильные часы не обладают какой-либо спецификой. Некоторую особенность в механизме представляют узел центральной оси и контакт (рис. 187). На цен­тральной оси свободно установлено храповое колесо с очень мел­кими зубьями. Якорь, совершая в процессе подзаводки и хода ча­сов карательные движения относительно центральной оси, сопряжен с храповым колесом собачками. Храповик через вспомога­тельную пружину — гешпер, представляющую один виток спираль­ной пружины, сопряжен с центральной осью. Под воздействием заводной пружины гешпер, деформируясь, передает вращение от храпового колеса на центральную ось. В моменты подзаводки, когда часовой механизм не испытывает воздействия заводной пру­жины, гешпер, разворачиваясь, отдает свою энергию центральной оси, чем защищает часовой механизм от перепадов момента за­водной пружины в процессе ее подзаводки.

С поворотным якорем электромагнита через штифт сопряжен контактный рычаг. Рычаг представляет собой жесткую конструк­цию и вращается на оси, закрепленной в опорах платины. С хво­стовиком контактного рычага взаимодействует плоская пружина, фиксирующая контактный рычаг в двух крайних его положениях. При переводе контактного рычага через среднее положение (что происходит под воздействием якоря) пружина, нажимая на хво­стовик рычага, резко перебрасывает его в направлении движения: происходит резкое мгновенное замыкание и размыкание контакта, что необходимо для снижения искрообразования, возникающего при работе контакта и вызывающего его износ.

Вторая контактная пружина выполнена неподвижной, и ее эластичность обеспечивает необходимое контактное давление при замыкании контакта.

К специфическим дефектам автомобильных электромеханиче­ских часов относятся: окисление контакта электромагнита и тер­мореле, увеличивающее переходное сопротивление электрическому току, повреждение изоляции, приводящее к короткому замыканию; плохая припайка обмотки термореле к пластинам; повреждение обмотки электромагнита; деформация штифта якоря, вызывающая несвоевременное замыкание или размыкание контакта.

ГЛАВА VII

КОНСТРУКЦИЯ НАСТЕННЫХ ЧАСОВ И РЕМОНТ ИХ

1. МЕХАНИЗМ ХОДА

Детали механизма настенных часов расположены между двумя латунными пластинами различных конфигураций — прямоуголь­ными, квадратными, круглыми. Пластины скреплены между собой четырьмя стойками, на резьбу которых навинчены гайки, или в вы­ступах стоек просверлены отверстия, в которые плотно вставлены конусообразные штифты.

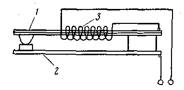
В большинстве настенных часов в качестве колебательной си­стемы используется маятник, который подвешивается на стальных подвесных пружинах, скрепленных латунными пластинами (рис. 188) разных форм.

Рис. 188. Подвесы маятника настенных часов:

1-одинарный; 2– двойной; 3-для полусекундных маятников; 4 -для английских настольных часов с полусекундным маятником

Поделиться:
Популярные книги

Законы Рода. Том 5

Андрей Мельник
5. Граф Берестьев
Фантастика:
юмористическое фэнтези
аниме
5.00
рейтинг книги
Законы Рода. Том 5

Вечный. Книга I

Рокотов Алексей
1. Вечный
Фантастика:
боевая фантастика
попаданцы
рпг
5.00
рейтинг книги
Вечный. Книга I

Двойник короля 20

Скабер Артемий
20. Двойник Короля
Фантастика:
аниме
фэнтези
попаданцы
5.00
рейтинг книги
Двойник короля 20

Личный аптекарь императора. Том 6

Карелин Сергей Витальевич
6. Личный аптекарь императора
Фантастика:
городское фэнтези
попаданцы
аниме
5.00
рейтинг книги
Личный аптекарь императора. Том 6

Барон ломает правила

Ренгач Евгений
11. Закон сильного
Фантастика:
аниме
фэнтези
фантастика: прочее
попаданцы
5.00
рейтинг книги
Барон ломает правила

Принадлежать им

Зайцева Мария
Любовные романы:
современные любовные романы
5.00
рейтинг книги
Принадлежать им

Зодчий. Книга I

Погуляй Юрий Александрович
1. Зодчий Империи
Фантастика:
аниме
фэнтези
попаданцы
5.00
рейтинг книги
Зодчий. Книга I

Петля, Кадетский Корпус. Книга пятая

Алексеев Евгений Артемович
5. Петля
Фантастика:
боевая фантастика
попаданцы
аниме
5.00
рейтинг книги
Петля, Кадетский Корпус. Книга пятая

Кодекс Охотника XXXI

Винокуров Юрий
31. Кодекс Охотника
Фантастика:
попаданцы
аниме
фэнтези
5.00
рейтинг книги
Кодекс Охотника XXXI

Имперец. Том 4

Романов Михаил Яковлевич
3. Имперец
Фантастика:
попаданцы
альтернативная история
аниме
5.00
рейтинг книги
Имперец. Том 4

"Дальние горизонты. Дух". Компиляция. Книги 1-25

Усманов Хайдарали
Собрание сочинений
Фантастика:
фэнтези
боевая фантастика
попаданцы
5.00
рейтинг книги
Дальние горизонты. Дух. Компиляция. Книги 1-25

Первый среди равных. Книга X

Бор Жорж
10. Первый среди Равных
Фантастика:
попаданцы
аниме
фэнтези
фантастика: прочее
5.00
рейтинг книги
Первый среди равных. Книга X

Хозяин оков III

Матисов Павел
3. Хозяин Оков
Фантастика:
аниме
фэнтези
попаданцы
5.00
рейтинг книги
Хозяин оков III

Личный аптекарь императора

Карелин Сергей Витальевич
1. Личный аптекарь императора
Фантастика:
городское фэнтези
попаданцы
аниме
фэнтези
5.00
рейтинг книги
Личный аптекарь императора