Чтение онлайн

на главную - закладки

Жанры

Шрифт:

– предохраняет конструкцию лампы от перегрева;

– увеличивает яркость светового потока.

Такая лампочка будет работать очень долго. Например, если вы ежедневно проводите около 1 часа в ванной комнате, менять лампочку вам придется раз в 2 года.

Лампы накаливания бывают двух видов:

– открытого, или П-образного (рис. 43);

Рис. 43. Точечный неповоротный светильник под лампу накаливания П-образной формы: а – диаметр светильника; б – глубина установки; в – диаметр отверстия.

– закрытого, с защитным кожухом (рис. 44).

Рис. 44. Точечный неповоротный светильник под лампу накаливания с защитным кожухом: а – диаметр светильника; б – глубина установки; в – диаметр отверстия.

Кожух защищает светильник от конденсата, поэтому его используют и в помещениях с повышенной влажностью.

В том случае, если лампа накаливания перегорит, ее очень легко поменять: просто выкрутить и вкрутить новую, в то время как с галогенной лампы нужно сначала снять фиксирующее кольцо и только потом устанавливать новую лампочку.

У светильников с лампами накаливания (рис. 45) имеется только один очень существенный недостаток: размеры арматуры, которая будет находиться за подвесными плитами, составляют 8–12 см. Если потолок недостаточно высокий, он станет еще ниже.

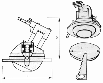
Рис. 45. Точечный поворотный светильник под лампу накаливания: а – диаметр светильника; б – глубина установки; в – диаметр отверстия.

Светильники с галогенными лампами

Галогенная лампа представляет собой видоизмененную лампу накаливания. От обычной лампочки она отличается следующими признаками:

1. Размер стеклянной колбы галогенной лампы в несколько раз меньше размера лампы накаливания.

2. Нить накаливания галогенной лампочки помещена в колбу, наполненную смесью инертного газа с галогенами (йодом или бромом).

Основное достоинство галогенных источников – высокая мощность при сниженном в 3 раза уровне потребления электроэнергии. Ассортимент галогенных лампочек гораздо больше обычных светильников. К примеру, в точечные светильники вставляют галогенные лампочки с отражателями.

Отражатель – это небольшой конусообразный плафон, покрытый зеркальным слоем. Плафон может быть открытым или с защитным стеклом, предохраняющим лампочку от грязи и пыли. При замене перегоревшего светильника без защитного стекла ни в коем случае нельзя брать новую лампочку голыми руками: колба лампочки сделана из плавленого кварца, на котором обязательно останется жирный отпечаток пальца; жир вызывает кристаллизацию кварца, из-за чего колба разрушается, а лампа перегорает.

Чтобы этого не случилось, новую лампочку нужно держать салфеткой.

Достоинства светильников с галогенными лампами (рис. 46, 47):

– при монтаже подвесной потолок опускается всего на 3–5 см, а значит, эти лампы можно использовать даже в помещениях с невысокими потолками;

– меняют их обычно раз в 10 лет.

Рис. 46. Точечный поворотный светильник под галогенную лампу.

Рис. 47. Точечный неповоротный светильник под галогенную лампу.

Не советуем приобретать лампочки неизвестных вам фирм: например, лампочки азиатского производства скорее всего прослужат не очень долго; чем ниже цена, тем ниже качество. А вот компании „Osram“ и „General Electric“ дают 10-летнюю гарантию на свои светильники.

Галогенные лампочки рассчитаны на 220 и 12 В. Срок службы 220-вольтных лампочек составляет 2000 часов, 12-вольтных – 4000 часов. Однако электрическая проводка в России рассчитана на напряжение в 220 В, а для преобразовывания напряжения с 220 на 12 В требуется трансформатор.

При покупке лампочек продавец поможет вам также выбрать и нужный трансформатор. Для этого мощность используемых лампочек умножается на их количество. Полученный результат означает мощность самого трансформатора.

Советуем приобрести несколько трансформаторов для одного помещения. Дело в том, что, если один из них перегорит, другие будут продолжать работать.

При покупке трансформатора нужно обращать внимание на то, что чаще всего в продаже имеются индукционные и электронные виды трансформаторов.

Индукционные трансформаторы стоят сравнительно недорого, их вес составляет 1,5–2 кг, и специалисты считают их вполне надежными.

Электронные трансформаторы значительно легче и меньше по размерам, но стоят дороже да и выходят из строя чаще.

Кроме того, для них нужно учитывать длину проводов, связывающих лампочки и трансформатор, поскольку на расстоянии 2 м от него начинаются потери мощности за счет сопротивления провода.

Специалисты считают, что точечные потолочные светильники предназначены для освещения небольших помещений.

Корпус точечных светильников изготавливают из металла, стекла, латуни и термопластика. Есть светильники со специальными покрытиями, например полированной латунью, матовой латунью, матовым хромом, черным хромом, бронзой.

Помимо этого, в российских строительных фирмах можно заказать светильники со стеклом разнообразных цветов: изумрудного, бирюзового, лазоревого и пр. Там же вам могут предложить на выбор и конструкции с плафонами в виде треугольника, спирали и даже сосульки, однако цена такого светильника, естественно, возрастает. Можно также заказать расцветку и форму светильника по своему эскизу.

Вставить точечный светильник в рейку нетрудно: надо просто измерить диаметр лампочки и вырезать необходимое отверстие нужного вам размера. Отверстия для растровых светильников делают специальным станком и продают рейку уже с отверстиями. Данная рейка называется экраном.

Поделиться:
Популярные книги

Двойник короля 12

Скабер Артемий
12. Двойник Короля
Фантастика:
аниме
фэнтези
попаданцы
5.00
рейтинг книги
Двойник короля 12

Гранит науки. Том 3

Зот Бакалавр
3. Героями не становятся, ими умирают
Фантастика:
фэнтези
боевая фантастика
5.00
рейтинг книги
Гранит науки. Том 3

Точка Бифуркации XII

Смит Дейлор
12. ТБ
Фантастика:
аниме
фэнтези
попаданцы
5.00
рейтинг книги
Точка Бифуркации XII

Инженер Петра Великого 3

Гросов Виктор
3. Инженер Петра Великого
Фантастика:
попаданцы
альтернативная история
5.00
рейтинг книги
Инженер Петра Великого 3

#Бояръ-Аниме. Газлайтер. Том 11

Володин Григорий Григорьевич
11. История Телепата
Фантастика:
фэнтези
попаданцы
аниме
5.00
рейтинг книги
#Бояръ-Аниме. Газлайтер. Том 11

Графиня с изъяном. Тайна живой стали

Лин Айлин
Фантастика:
фэнтези
героическая фантастика
киберпанк
5.00
рейтинг книги
Графиня с изъяном. Тайна живой стали

Вечный. Книга V

Рокотов Алексей
5. Вечный
Фантастика:
боевая фантастика
попаданцы
рпг
5.00
рейтинг книги
Вечный. Книга V

Неудержимый. Книга XXII

Боярский Андрей
22. Неудержимый
Фантастика:
попаданцы
фэнтези
5.00
рейтинг книги
Неудержимый. Книга XXII

На границе империй. Том 7

INDIGO
7. Фортуна дама переменчивая
Фантастика:
боевая фантастика
космическая фантастика
попаданцы
6.75
рейтинг книги
На границе империй. Том 7

Бастард Императора. Том 4

Орлов Андрей Юрьевич
4. Бастард Императора
Фантастика:
попаданцы
аниме
фэнтези
фантастика: прочее
5.00
рейтинг книги
Бастард Императора. Том 4

Жизнь в подарок

Седой Василий
2. Калейдоскоп
Фантастика:
попаданцы
альтернативная история
5.00
рейтинг книги
Жизнь в подарок

Газлайтер. Том 1

Володин Григорий
1. История Телепата
Фантастика:
попаданцы
альтернативная история
аниме
5.00
рейтинг книги
Газлайтер. Том 1

Старая школа рул

Ромов Дмитрий
1. Второгодка
Фантастика:
альтернативная история
6.00
рейтинг книги
Старая школа рул

Курсант: назад в СССР

Дамиров Рафаэль
1. Курсант
Фантастика:
попаданцы
альтернативная история
7.33
рейтинг книги
Курсант: назад в СССР