Полы, арки и перегородки в современном доме

на главную - закладки

Жанры

Поделиться:

Полы, арки и перегородки в современном доме

Шрифт:

Введение

Все когда-то сталкиваются с необходимостью начать ремонт в своей квартире или доме. Если вы приняли такое решение и вам предстоит нелегкая задача освоить самостоятельное устройство пола, возведение арок и перегородок – данная книга станет вам верным и надежным помощником. Порой бывает трудно разобраться, с чего начать ремонт, какие материалы выбрать, на что стоит обратить особое внимание. Чтобы проще представить себе сам процесс, вам необходима также определенная теоретическая база, подкрепленная примерами, иллюстрациями и подробными схемами, и данная книга призвана помочь в этом.

Здесь вы найдете подробное описание отделки пола, начиная от работ по заливке стяжки и заканчивая выбором и монтажом напольного покрытия. Особое внимание уделено современным технологиям: монтажу теплого пола, устройству наливных 3D-полов и т. д. Необходимо отметить, что разобраться в новшествах строительства будет просто даже человеку, не посвященному в тонкости этого дела.

В книге есть разделы, представляющие вниманию читателя технологии создания перегородок и арок, где подробно описаны не только методы их возведения, но и варианты отделки.

На страницах издания вы найдете полезные советы профессионалов. Кроме того, вся предоставленная информация дана с учетом возросших требований к долговечности, влаго– и износостойкости, пожаробезопасности и т. д.

Имея под рукой данное издание, вы с легкостью отремонтируете жилище, даже не имея строительного опыта. Используя полезные советы из этой книги, вы сможете воплотить в жизнь все самые яркие дизайнерские идеи, не потратив при этом лишних средств.

Полы

В современном дизайне особую роль играет качественная отделка пола. Сегодня уровень технологий, а также используемые строительные материалы позволяют создать надежный, функциональный и максимально комфортный пол, который будет соответствовать стилю всего помещения. Помимо такого требования, как эстетичность, полы должны соответствовать некоторым техническим нормам. Конструкция пола должна быть достаточно жесткой, прочной, исключающей деформации и прогибы. Покрытие следует выбирать износостойкое, отвечающее функциональному назначению помещения.

В конструкцию перекрытий должны входить звукоизолирующие материалы: древесноволокнистые или минераловатные плиты. Поддержать микроклимат в отапливаемом помещении поможет устройство в полах теплоизолирующей прослойки или покрытия с небольшим тепло поглощением. В зависимости от степени сохранения тепла можно выделить следующие разновидности пола:

– теплый (с ковровым или деревянным покрытием);

– средний (с покрытием из поливинилхлорида, пробкового линолеума и т. д.);

– холодный (на бетонной основе из плитки или цементной стяжки).

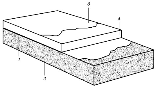
Любое покрытие выполняется по цементной или бетонной стяжке, которая должна быть сухой и идеально гладкой (рис. 1).

Рис. 1. Бетонная стяжка: 1 – адгезионный мост;2 – бетон; 3полимерное покрытие; 4 – пескобетон

Цементно-песчаные и бетонные стяжки изготавливают на основе раствора марки 50-100 или бетона. Предварительно готовится слой звуко– и теплоизоляции из песка, шлака или пористого бетона, на который, собственно, и укладывается стяжка. Толщина ее слоя устанавливается проектом. Рекомендуемое значение составляет 20–40 мм, хотя использование тонкозернистых сухих смесей позволяет получить прочное основание и при толщине стяжки до 5 мм. Также применяются смеси, выполненные по сетке, или с армирующим (волокнистым) наполнителем.

Как правило, основание пола изготавливается из ДСП, ДВП, гипсобетонных панелей, гипсоволокнистых и цементно-стружечных плит. В процессе эксплуатации происходит их деформация, вызванная высокой гигроскопичностью. Кроме того, они подвержены воздействию влаги и требуют основательной заделки швов, чтобы предотвратить в дальнейшем образование трещин.

Основания из легких бетонов отличаются более высоким качеством. Достаточно часто стяжки делаются из керамзитобетона.

При этом выравнивание такой поверхности требует большого расхода мастики. Если же использовать для выравнивания цементно-песчаный раствор, то теплотехнические характеристики пола значительно ухудшатся.

Для создания «теплых» стяжек используется легкий поризованный бетон. Применять сочетание газообразователя с целью поризации цементнопесчаных растворов не рекомендуется, поскольку в результате возникает неравномерное вспучивание, которое приводит к неравномерной толщине стяжки.

Практичнее использовать легкобетонные стяжки, в состав которых входят ПАВ (поверхностноактивные вещества) и мелко– или среднезернистые пористые заполнители (перлит, вспученный веркулит, опилки хвойных пород деревьев, гранулы вспененного полистирола и т. д.).

За счет невысоких коэффициентов теплоусвоения и хорошей прочности их можно просто загладить без шпаклевания и шлифования.

Для выравнивания бетонного пола разработаны новые технологии – сухие растворные смеси, которые изготавливаются на цементной основе (из различных видов и марок портландцемента), а также из тонкодисперсного кварцевого песка, наполнителей и добавок (пластификаторы, регуляторы схватывания и твердения).

После того как все подготовительные работы по созданию стяжки и основания завершены, можно переходить непосредственно к выбору покрытия.

Рассмотрим подробнее технологию устройства различного вида стяжек и монтажа напольных покрытий.

Стяжка

Сухая стяжка

Сухая стяжка представляет собой укладку специального листового материала на основу, состоящую из насыпи изоляционного материала (рис. 2).

Такую стяжку без труда можно сделать самостоятельно, так как все материалы для нее довольно легко приготовить и не требуется замешивать большого количества цементных растворов.

Комментарии:
Популярные книги

Светлая тьма. Советник

Шмаков Алексей Семенович
6. Светлая Тьма
Фантастика:
юмористическое фэнтези
городское фэнтези
аниме
сказочная фантастика
фэнтези
5.00
рейтинг книги
Светлая тьма. Советник

Точка Бифуркации VIII

Смит Дейлор
8. ТБ
Фантастика:
фэнтези
попаданцы
5.00
рейтинг книги
Точка Бифуркации VIII

Кодекс Охотника. Книга XV

Винокуров Юрий
15. Кодекс Охотника
Фантастика:
попаданцы
аниме
5.00
рейтинг книги
Кодекс Охотника. Книга XV

Бастард

Майерс Александр
1. Династия
Фантастика:
попаданцы
аниме
фэнтези
5.00
рейтинг книги
Бастард

Моя простая курортная жизнь 4

Блум М.
4. Моя простая курортная жизнь
Любовные романы:
эро литература
5.00
рейтинг книги
Моя простая курортная жизнь 4

Я до сих пор князь. Книга XXII

Дрейк Сириус
22. Дорогой барон!
Фантастика:
юмористическое фэнтези
аниме
попаданцы
5.00
рейтинг книги
Я до сих пор князь. Книга XXII

На цепи

Уваров
1. На цепи
Старинная литература:
прочая старинная литература
5.00
рейтинг книги
На цепи

Черный Маг Императора 18

Герда Александр
18. Черный маг императора
Фантастика:
юмористическое фэнтези
аниме
сказочная фантастика
фэнтези
фантастика: прочее
попаданцы
5.00
рейтинг книги
Черный Маг Императора 18

Перешагнуть пропасть

Муравьёв Константин Николаевич
1. Перешагнуть пропасть
Фантастика:
боевая фантастика
космическая фантастика
8.38
рейтинг книги
Перешагнуть пропасть

Воронцов. Перезагрузка. Книга 3

Тарасов Ник
3. Воронцов. Перезагрузка
Фантастика:
попаданцы
альтернативная история
фэнтези
фантастика: прочее
6.00
рейтинг книги
Воронцов. Перезагрузка. Книга 3

Лекарь Империи 9

Карелин Сергей Витальевич
9. Лекарь Империи
Фантастика:
городское фэнтези
аниме
боевая фантастика
5.00
рейтинг книги
Лекарь Империи 9

Кай из рода красных драконов 2

Бэд Кристиан
2. Красная кость
Фантастика:
попаданцы
альтернативная история
5.00
рейтинг книги
Кай из рода красных драконов 2

Как я строил магическую империю 5

Зубов Константин
5. Как я строил магическую империю
Фантастика:
попаданцы
аниме
фантастика: прочее
фэнтези
5.00
рейтинг книги
Как я строил магическую империю 5

Идеальный мир для Лекаря 12

Сапфир Олег
12. Лекарь
Фантастика:
боевая фантастика
юмористическая фантастика
аниме
5.00
рейтинг книги
Идеальный мир для Лекаря 12