Чтение онлайн

на главную - закладки

Жанры

Мусор преграждает путь в космос

Романов Вадим Иванович

Шрифт:

Высокая цена спутников связи обусловлена как стоимостью деталей, так и большими затратами на запуск аппаратов в ОКП. Между тем в списанных, выработавших ресурс сателлитах находится немало узлов, которые могли бы ещё поработать. Ныне на орбитах в виде «мёртвого» хлама крутятся в виде отходов сотни миллионов долларов. Нерационально оставлять такое богатство без дела и заново производить те же самые узлы на Земле, а потом ещё тратиться на их подъём в ОКП и в Космос.

Один из важнейших таких узлов — антенна. Она не только дорога в изготовлении, но и объёмна и немало весит, что влияет на размеры и массу ракеты-носителя и спутника, а следовательно, и на стоимость его запуска. Именно антенны призван утилизировать проект «Феникс» в первую очередь. Сердцем комплекса должен стать автоматический аппарат, условно названный tender (плавучая база). Он должен быть оснащён роботизированными руками с набором инструментов, необходимых для разделки орбитальных отходов в виде вышедших из строя спутников и орбитальных космических станций.

Сложность осуществления этого проекта состоит в неподготовленности космонавтов и техники для реализации этого амбициозного замысла. Спутники и другие летательные космические аппараты не разрабатывались в расчёте на разборку, так что орбитальному сервисмену недостаточно будет уметь откручивать гайки — ему придётся немало сверлить и резать.

В процессе демонтажа орбитальных отходов проект предусматривает наличие целого флота помощников — миниатюрных спутников PODS (payload orbital delivery system, «орбитальная система доставки нагрузки»). Эти миниатюрные аппараты должны храниться на борту «тендера», пока не понадобятся для захвата очередной антенны [16, 17].

Развитие проекта использования орбитальных отходов предполагает создание орбитальной антенной сети на базе отработавших спутников космической орбитальной «свалки».

Отмечается [18], что запуск спутников является крайне дорогостоящим и рискованным делом — полезная нагрузка по цене 20 тыс долл, за 1 кг может погибнуть при выводе его на орбиту или в результате аппаратурной неисправности. Специалисты DARPA разработали уникальную систему Phoenix, которая способна превратить мёртвые спутники общей стоимостью 300 млрд долл, в полезные массивы антенн.

Система Phoenix состоит из спутника-носителя и множества небольших микроспутников, названных Satlet. Микроспутники могут доставляться на орбиту обычными коммерческими спутниками, после достижения геостационарной орбиты спутник-носитель сможет «подрулить» к «кладбищу» космических аппаратов. После выбора на «кладбище» конкретного орбитального отхода начнётся этап отделения наиболее дорогостоящих его частей для их повторного использования. Таким образом мыслится космический хлам превращать в ценные орбитальные объекты. На завершающем этапе демонтажа орбитальных отходов к антенне прикрепятся микроспутники Satlet, которые возьмут на себя роль системы управления новой антенной. Подобные утилизированные и модифицированные антенны и космические аппараты можно собрать в антенные массивы и использовать для ретрансляции сигнала, разведки и научных наблюдений.

Бесполезные мёртвые спутники с помощью новой системы DARPA могут быть трансформированы в околоземную орбитальную антенную сеть

В DARPA основные сложности видят в демонтаже антенн спутников. Их не так просто отделить, поэтому необходимо разработать новые технологии дистанционного управления, захвата изображений и специальные робототизированные инструменты для удержания, разрезания, перемещения и монтажа антенн.

Первое испытание технологии намечается на 2015 год. Основное ограничение для работы орбитального утилизатора орбитальных отходов заключается в том, что любое оборудование в ОКП и в Космосе из соображений национальной безопасности является собственностью страны, которая его изготовила, а потому возвращать к жизни все подряд спутники не удастся. Это будет противоречить существующим нормам законов о космической деятельности, но законы могут быть изменены или разработаны новые, и тогда для утилизаторов орбитальных отходов открываются захватывающие перспективы…

Следует заметить, что прежде чем этот проект станет реальностью, исследователи должны разработать новые технологии робототехники и систем удалённой визуализации, создать механизмы захвата и отсоединения деталей спутников и ещё многое другое.

Учёные из канадского университета Квинс разрабатывают автоматическую систему ремонта и обслуживания спутников прямо на орбите. Этот проект поможет избежать лавинообразного роста орбитальных отходов и орбитального и мусора, которые начинают всё сильнее мешать нормальной работе в околоземном космическом пространстве. В основном это сломавшиеся и ставшие неуправляемые спутники и последние ступени ракет-носителей.

Группа инженеров для решения этой проблемы разработала специальную следящую систему, которая позволит автономному космическому ремонтному роботу (Autonomous Space Servicing Vehicle — ASSV) "поймать" сломавшийся спутник и отбуксировать его на борт ремонтной базы [19]. Процесс ремонта будет управляться с наземных станций.

Одной из главных трудностей является проблема поиска неисправного спутника. Для этого будет использоваться

специальное программное обеспечение и световой радар, который позволяет точно определить местонахождение спутника, его тип и отслеживать перемещения объекта.

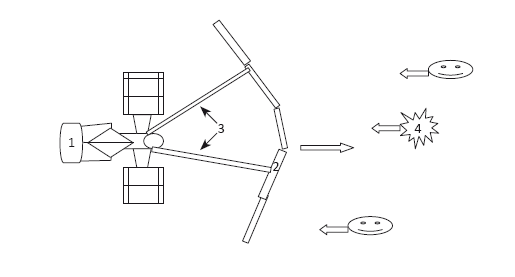
В виде развития идеи использования в ОКП отходов ракетно-космической техники можно предложить создание на борту орбитальной ремонтной базы защитного выносного экрана. Такой экран мыслится собирать из плоских и достаточно массивных элементов РКТ типа солнечных батарей. Если разместить такой экран перед защищаемым объектом, то он способен обеспечить его безопасность при столкновении с космическим или орбитальным мусором. Вся кинетическая энергия высокоскоростного обломка или мусорной частицы будет израсходована при соударении с экраном, а защищаемый объект останется невредим. Устройство такого защитного экрана иллюстрируется рисунком 3.1.

Рис. 3.1. Схема защиты космического аппарата от орбитальных экскретов выносным экраном, собранном из орбитальных отходов: 1– КА; 2– защитный выносной экран; 3– стойки экрана; 4 — космический и орбитальный мусор

В настоящее время вокруг Земли вращаются более 600 тыс. объектов диаметром более 1 см. По данным Европейского космического агентства (ЕКА) 41 % этих объектов составляют различные обломки, потерянные инструменты и другие мелкие детали, 22 % — это отработавшие свой срок космические аппараты, 13 % от их общего числа составляют материальные «следы» различных экспериментов и научных проектов, 7 % — части ракет-носителей [20]. В то же время на функционирующие космические аппараты приходится только 7 % огромного количества летательных аппаратов ракетно-космической техники, связанных с освоением космоса человечеством. Получается, что 93 % объектов, вращающихся вокруг Земли, — это бесполезный и опасный мусор, разбросанный по различным орбитам. Причём каждый пятый орбитальный объект может квалифицироваться как орбитальный отход, то есть может представлять собой материальный и финансовый интерес.

Количество орбитальных отходов увеличивается не только с выработкой срока функционирования космических летательных аппаратов, но и из-за аварий на орбитах. Установлено множество случаев столкновения космических аппаратов с орбитальным мусором [20]. Так, частица мусора 1 см в диаметре пробила антенну телескопа "Хаббл" и вывела его из строя. Российскому спутнику "Экспресс АМН" также не повезло, — в 2006 году удар микроскопической частицы мусора повредил систему

терморегулирования, в результате чего спутник вышел из строя и на некоторое время оставил Дальний Восток без телевещания. Эти примеры и ещё множество других происшествий на орбитах говорят о уязвимости современной аэрокосмической инфраструктуры и необходимости создания службы её ремонта и наладки непосредственно на орбитах.

Поделиться:
Популярные книги

Адвокат

Константинов Андрей Дмитриевич
1. Бандитский Петербург
Детективы:
боевики
8.00
рейтинг книги
Адвокат

Тринадцатый

NikL
1. Видящий смерть
Фантастика:
фэнтези
попаданцы
аниме
6.80
рейтинг книги
Тринадцатый

Локки 8. Потомок бога

Решетов Евгений Валерьевич
8. Локки
Фантастика:
фэнтези
боевая фантастика
героическая фантастика
попаданцы
5.00
рейтинг книги
Локки 8. Потомок бога

Надуй щеки! Том 7

Вишневский Сергей Викторович
7. Чеболь за партой
Фантастика:
попаданцы
дорама
5.00
рейтинг книги
Надуй щеки! Том 7

Кодекс Охотника. Книга XVI

Винокуров Юрий
16. Кодекс Охотника
Фантастика:
фэнтези
попаданцы
аниме
5.00
рейтинг книги
Кодекс Охотника. Книга XVI

Система Возвышения. (цикл 1-8) - Николай Раздоров

Раздоров Николай
Система Возвышения
Фантастика:
боевая фантастика
4.65
рейтинг книги
Система Возвышения. (цикл 1-8) - Николай Раздоров

Лейб-хирург

Дроздов Анатолий Федорович
2. Зауряд-врач
Фантастика:
альтернативная история
7.34
рейтинг книги
Лейб-хирург

Медиум

Злобин Михаил
1. О чем молчат могилы
Фантастика:
фэнтези
7.90
рейтинг книги
Медиум

Личный аптекарь императора

Карелин Сергей Витальевич
1. Личный аптекарь императора
Фантастика:
городское фэнтези
попаданцы
аниме
фэнтези
5.00
рейтинг книги
Личный аптекарь императора

Барон запрещает правила

Ренгач Евгений
9. Закон сильного
Фантастика:
аниме
фэнтези
попаданцы
5.00
рейтинг книги
Барон запрещает правила

Законы Рода. Том 2

Андрей Мельник
2. Граф Берестьев
Фантастика:
фэнтези
аниме
5.00
рейтинг книги
Законы Рода. Том 2

На границе империй. Том 8. Часть 2

INDIGO
13. Фортуна дама переменчивая
Фантастика:
космическая фантастика
попаданцы
5.00
рейтинг книги
На границе империй. Том 8. Часть 2

Убивать чтобы жить 2

Бор Жорж
2. УЧЖ
Фантастика:
героическая фантастика
боевая фантастика
рпг
5.00
рейтинг книги
Убивать чтобы жить 2

Наследие Маозари 8

Панежин Евгений
8. Наследие Маозари
Фантастика:
боевая фантастика
космическая фантастика
попаданцы
постапокалипсис
рпг
фэнтези
эпическая фантастика
5.00
рейтинг книги
Наследие Маозари 8