Чтение онлайн

на главную - закладки

Жанры

Linux глазами хакера

Флёнов Михаил Евгеньевич

Шрифт:

Сетевой экран должен уничтожать любые пакеты с TTL, равным 1. Это защищает сеть, но явно указывает на наличие Firewall. Пакет с реальным значением TTL дойдет до адресата, а если команда

traceroute
выдала ошибку, то это значит, что на пути следования пакета есть Firewall, который запрещает трассировку.

Для выполнения трассировки в ОС Linux нужно выполнить команду

traceroute
с ключом
– I
, указав имя хоста. Например:

traceroute -I redhat.com

В ОС Windows есть аналогичная команда

tracert
, и в ней достаточно задать имя узла или IP-адрес, который нужно трассировать без использования дополнительных ключей.

Итак, на экране начнут появляться адреса промежуточных маршрутизаторов, через которые проходит пакет. Например, результат может быть следующим:

traceroute to redhat.com (xxx.xxx.xxx.xxx)? 30 hops max, 38 byte packets

1 218 ms 501 ms 219 ms RDN11-f200.101.transtelecom.net

[217.150.37.34]

2 312 ms 259 ms 259 ms sl-gw10-sto-5-2.sprintlink.net

[80.77.97.93]

...

...

17 638 ms 839 ms 479 ms 216.140.3.38

18 * * * Request timed out.

Если сетевой экран допускает ICMP-пакеты, то сканирование можно провести с помощью

traceroute
. Возможно, появится сообщение об ошибке. В данном случае 18 строка сообщает о превышении времени ожидания ответа. Это значит, что пакет отправлен, но сервер отбросил запрос, а значит, пакет с TTL, равным 18, будет уничтожен.

Для сканирования сети за пределами Firewall достаточно выполнить команду соединения с компьютерами внутри сети с TTL, равным 19. Во время трассировки мы увидим первые 17 ответов, 18 пропадет, а 19 пройдет дальше в сеть, потому что на сетевом экране такой пакет появится с TTL=2 и не будет удален, а вот в локальной сети первый же маршрутизатор вернет ошибку.

Но в реальности ICMP-пакеты запрещены, поэтому такой метод редко приносит злоумышленнику пользу.

С другой стороны, если мы увидели полный путь к компьютеру назначения, это еще не значит, что сетевого экрана нет. Он может просто не запрещает ICMP-трафик.

Внутреннюю сеть можно просканировать и через DNS-сервер, если он находится внутри нее и доступен для всеобщего использования.

4.13.4. Дополнительная защита

Помимо фильтров на основе определенных, администратором правил в сетевом экране может быть реализовано несколько дополнительных защитных механизмов, которые работают вне зависимости от вашей конфигурации или могут включаться специальными опциями. Рассмотрим наиболее интересные аспекты такой защиты.

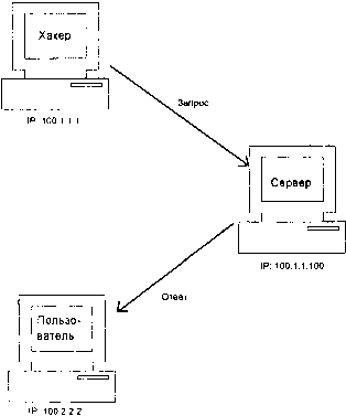
Одним из популярных методов обхода Firewall и проведения атаки является фальсификация IP-адреса отправителя. Например, у хакера может быть адрес 100.1.1.1, но с него запрещено подключаться к сервису FTP. Чтобы получить доступ, хакер может послать пакеты, в которых в качестве отправителя указан, например, 100.2.2.2.

Но это еще не все. Просто воспользовавшись чужим именем, ничего хорошего не получится. Хакер не увидит отклика сервера (рис. 4.9).

Рис. 4.9. Подмена IP-адреса

Чтобы хакер смог получить ответ на свой запрос, в IP-пакет должна быть добавлена специальная информация, по которой сервер найдет реальный адрес хакера 100.1.1.1.

Современные сетевые экраны (в том числе и поставляемые с Linux) легко определяют подделку и блокируют такие пакеты.

4.14. Запрет и разрешение хостов

Работа с ipchains или iptables (см. разд. 4.11 и 4.12) может показаться сложной, потому что требует знания необходимых портов, но этот способ наиболее надежный, и для построения реальной защиты рекомендуется использовать именно его. А вот для решения простых задач (например, временная защита) есть другой метод — использование файлов /etc/hosts.allow и /etc/hosts.deny. Первый файл содержит записи хостов, которым разрешен доступ в систему, а во втором прописаны запреты.

При подключении к серверу файлы проверяются следующим образом:

1. Если для компьютера нет ни одной записи в файлах, то доступ по умолчанию разрешен.

2. Если соответствие обнаружено в файле hosts.allow, то доступ разрешен и файл hosts.deny не проверяется.

3. Если в файле hosts.deny найдена запись, то доступ запрещен.

Удобство использования этих файлов заключается в том, что в них нужно указывать сервисы, требующие ограничения доступа. Это делается в виде строк следующего вида:

сервис: хост

Строка состоит из двух параметров, разделенных двоеточием. Первым указывается имя сервиса (или список, разделенный запятыми), доступ к которому нужно ограничить. Второй — это адреса (для файла /etc/hosts.allow разрешенные, а для /etc/hosts.deny — запрещенные), разделенные запятыми. В качестве параметров можно использовать ключевое слово

ALL
, которое соответствует любому адресу или сервису.

Рассмотрим пример конфигурирования файла. Для начала закроем любой доступ. Для этого в файле /etc/hosts.deny нужно прописать запрет для всех пользователей на любые сервисы. Для этого добавляем строку

ALL: ALL.
В результате ваш файл будет выглядеть следующим образом:

#

# hosts.deny This file describes the names of the hosts which are

# *not* allowed to use the local INET services, as decided

# by the '/usr/sbin/tcpd' server.

#

# The portmap line is redundant, but it is left to remind you that

# the new secure portmap uses hosts.deny and hosts.allow. In particular

# you should know that NFS uses portmap!

Поделиться:
Популярные книги

Черный маг императора

Герда Александр
1. Черный маг императора
Фантастика:
юмористическая фантастика
попаданцы
аниме
5.00
рейтинг книги
Черный маг императора

Печать мастера

Лисина Александра
6. Гибрид
Фантастика:
попаданцы
технофэнтези
аниме
фэнтези
6.00
рейтинг книги
Печать мастера

Я Гордый часть 2

Машуков Тимур
2. Стальные яйца
Фантастика:
фэнтези
попаданцы
аниме
5.00
рейтинг книги
Я Гордый часть 2

Я до сих пор не царь. Книга XXVII

Дрейк Сириус
27. Дорогой барон!
Фантастика:
юмористическое фэнтези
аниме
попаданцы
5.00
рейтинг книги
Я до сих пор не царь. Книга XXVII

Петля, Кадетский Корпус. Книга четвертая

Алексеев Евгений Артемович
4. Петля
Фантастика:
боевая фантастика
попаданцы
аниме
5.00
рейтинг книги
Петля, Кадетский Корпус. Книга четвертая

Кодекс Охотника XXXI

Винокуров Юрий
31. Кодекс Охотника
Фантастика:
попаданцы
аниме
фэнтези
5.00
рейтинг книги
Кодекс Охотника XXXI

Император Пограничья 10

Астахов Евгений Евгеньевич
10. Император Пограничья
Фантастика:
городское фэнтези
аниме
фантастика: прочее
попаданцы
5.00
рейтинг книги
Император Пограничья 10

Звездная Кровь. Изгой

Елисеев Алексей Станиславович
1. Звездная Кровь. Изгой
Фантастика:
боевая фантастика
попаданцы
рпг
5.00
рейтинг книги
Звездная Кровь. Изгой

Погранец

Поселягин Владимир Геннадьевич
2. Решала
Фантастика:
фэнтези
боевая фантастика
альтернативная история
5.00
рейтинг книги
Погранец

Вторая жизнь майора. Цикл

Сухинин Владимир Александрович
Вторая жизнь майора
Фантастика:
героическая фантастика
боевая фантастика
попаданцы
5.00
рейтинг книги
Вторая жизнь майора. Цикл

Третий. Том 2

INDIGO
2. Отпуск
Фантастика:
космическая фантастика
попаданцы
5.00
рейтинг книги
Третий. Том 2

Двойник Короля 10

Скабер Артемий
10. Двойник Короля
Фантастика:
аниме
фэнтези
фантастика: прочее
попаданцы
5.00
рейтинг книги
Двойник Короля 10

Газлайтер. Том 10

Володин Григорий
10. История Телепата
Фантастика:
боевая фантастика
5.00
рейтинг книги
Газлайтер. Том 10

Стеллар. Трибут

Прокофьев Роман Юрьевич
2. Стеллар
Фантастика:
боевая фантастика
рпг
8.75
рейтинг книги
Стеллар. Трибут